Спасательный катер - энергетическая установка

ОБЩИЕ ПОНЯТИЯ. Одним из главных элементов катера и моторной лодки является энергетическая установка, с помощью которой обеспечивается движение судна с заданной скоростью.

На моторных лодках для обеспечения движения используют подвесной мотор, представляющий собой единый автономный агрегат со всеми механизмами, обеспечивающими движение лодки,— двигателем, валопроводом и движителем.

На катерах энергетическая установка (рис. 6) представляет собой сложный технический комплекс, в состав которого входят стационарный двигатель вместе с оборудованием, необходимым для его работы, устройство для передачи мощности от двигателя на гребной винт — валопровод, реверсивно-разобщительный механизм.

ДВИГАТЕЛЬ. В энергетической установке в качестве источника механической энергии используются двигатели внутреннего сгорания (ДВС). В основном это карбюраторные бензиновые двигатели и реже дизельные.

Принципиальное отличие дизелей от карбюраторных двигателей состоит в том, что в их цилиндрах сжимается не горючая смесь, а воздух и только в конце сжатия впрыскивается топливо.

Дизели в сравнении с карбюраторными двигателями имеют большую экономичность. Расход топлива у них почти на 30% меньше, что дает возможность при той же вместимости топливных баков обеспечивать большее время работы.

Энергетическая установка катера

Тем не менее дизели имеют и недостатки, наиболее существенным из которых является их большая масса. При одинаковой мощности дизель весит почти в 1,5 раза больше карбюраторного двигателя. К недостаткам относятся также и сложность приборов питания, которые требуют при изготовлении высокой точности.

Карбюраторные двигатели в сравнении с дизельными меньше по габаритным размерам и значительно дешевле. Но и у них имеются свои недостатки: многооборотность, что требует установки редуктора, сравнительно большой расход дорогого и опасного в пожарном отношении топлива и др.

ВАЛОПРОВОД. Для передачи мощности двигателя на гребной винт и создаваемого им упора на корпус катера предназначен валопровод. К основным деталям валопровода относятся гребной вал, дейдвудная труба, кронштейн гребного вала, упорный подшипник, соединительная муфта, сальник. В зависимости от расположения двигателя на катере различают валопроводы наклонный (при установке двигателя в носу или в корме), угловой (при установке двигателя в корме) и вертикальный (в подвесных моторах и угловых колонках).

Гребной вал соединяют с двигателем несколькими способами: напрямую с помощью глухой или эластичной муфты — при одинаковой частоте вращения двигателя и гребного винта; через разобщительную муфту, позволяющую разъединять коленчатый и гребной валы без остановки двигателя; с помощью реверс-редуктора, обеспечивающего разобщение валов, снижение частоты вращения гребного вала и реверсирование; с использованием угловой колонки и винта регулируемого шага.

Для обеспечения маневрирования судна и получения переднего, заднего и холостого хода используют реверсивно-разобщительные механизмы.

УГЛОВОЙ РЕВЕРС-РЕДУКТОР. При установке стационарного двигателя в кормовой части катера применяют угловой реверс-редуктор, в котором редуктор и угловая передача объединены в один агрегат, или раздельные реверс-редуктор и угловую передачу, связанные между собой промежуточным валом.

Основным элементом редуктора является корпус, в котором смонтирована шестеренная передача с постоянным зацеплением шестерен. Входной вал и вторичный ведущий вал выполнены заодно с коническими шестернями. На вторичном валу посажены на шпонках цилиндрические шестерни переднего и заднего хода.

На выходном ведомом валу свободно вращаются шестерня переднего и заднего хода в сборе с блокирующими кольцами синхронизатора. На валу между шестернями имеются три впадины, в которые устанавливается ступица скользящей муфты синхронизатора. Синхронизатор предназначен для выравнивания угловых скоростей ведомых шестерен переднего или заднего ходов и ведомого вала в процессе переключения.

Ведущая и ведомая шестерни переднего хода находятся в непосредственном зацеплении, а заднего хода — через промежуточную шестерню.

Система управления реверс-редуктором состоит из рукоятки, жесткой тяги, качалки, тяги и рычага, закрепленного на редукторе. Длина тяги и положения рукоятки регулируются при помощи резьбового наконечника с контргайкой.

Фиксация положений «нейтраль», «вперед», «задний ход» осуществляется шариком, вмонтированным в механизм переключения реверса, который крепится к верхнему разъему корпуса редуктора.

На катере «Чибис» реверс-редуктор реверсивно-разобщительного механизма является самостоятельным элементом и служит для передачи вращения от коленчатого вала двигателя к угловой передаче и гребному валу с понижением частоты вращения, а также для изменения направления вращения гребного вала и разобщения его от коленчатого вала (рис. 7).

Реверс-редуктор состоит из планетарного редуктора и гидравлических тормозов. Корпус 11 реверс-редуктора крепится к картеру маховика с помощью шпилек. Ведущий вал 4 редуктора передачи связан с маховиком 1 двигателя через эластично скрепленный с ним ведущий диск 6. При работе двигателя ведущий вал непрерывно вращается. Водило 12 реверс-редуктора устанавливается в корпусе 11 и крышке 15 на шарикоподшипниках 27. Корончатая шестерня 14 установлена на подшипнике 21, расположенном в крышке. Ведущая шестерня 24 закрепляется на валу с помощью пружинных колец 23. В водиле на осях 19 и 25 устанавливаются сателлиты 20 и 26, смонтированные на шариковых и роликовых подшипниках.

Вал переднего хода 5 устанавливается на подшипниках 7. Гидравлические тормоза состоят из поршней 9 и 18, корпусов гидроцилиндров переднего 10 и заднего 16 и тормозных дисков 8 и 17, посаженных на хвостовики вала переднего хода и корончатой шестерни.

Схема реверс-редуктора

Переключение реверс-редуктора осуществляется через золотниковое устройство, установленное на корпусе И. Масло в золотник подается масляным насосом двигателя. При повороте рычага 13 золотниковое масло через отверстия в корпусе поступает в передний или задний корпус гидроцилиндра. Под давлением масла поршень 9 передвигается и затормаживает диск 8, установленный на валу переднего хода. В этом случае вращение от ведущего вала 4 передается через сателлиты на водило (передний ход). При поступлении масла в задний корпус гидроцилиндра происходит затормаживание корончатой шестерни (задний ход). При переводе рычага 13 золотника в среднее положение поршни 9 и 18 возвращаются в исходное положение (задний ход).

Уплотнения в реверс-редукторе выполнены манжетами 2 и 3, кольцами 22 и 28 и маслоотбойными кольцами. Шестерни и подшипники в реверс-редукторе смазываются разбрызгиванием, для чего в корпусе предусмотрена масляная ванна. Охлаждается масло забортной водой, проходящей через змеевик, расположенный в масляной ванне. В корпуса гидроцилиндров масло подается при помощи золотникового устройства от нижней секции масляного насоса двигателя. Выходной вал реверс-редуктора промежуточным валом связан с ведущим валом угловой передачи.

Угловая передача (рис. 8) состоит из корпуса 4, двух валов — ведущего 1 и ведомого 9, установленных в корпусе на шариковых подшипниках 2 и роликовых игольчатых 5. На валах на шпонках посажены конические шестерни — ведущая 3 и ведомая 6. Выходной ведомый вал угловой передачи соединяется полумуфтами 8 с гребным валом. Шестерни и подшипники передачи смазываются разбрызгиванием маслом, находящимся в масляной ванне 7 корпуса. Охлаждается масло забортной водой, проходящей по змеевику.

Схема угловой передачи

УГЛОВЫЕ ОТКИДНЫЕ КОЛОНКИ. Для передачи вращения от вала двигателя на гребной винт применяются вертикальные угловые колонки, которые имеют значительное преимущество перед другими реверсивно-разобщительными механизмами.

Колонка позволяет монтировать двигатель без гребного вала и дейдвудного устройства. С ее помощью осуществляются разобщение, реверс и изменение частоты вращения. Откидная колонка выполняет функцию активного руля. К ее достоинствам относятся: удобство компоновки; отсутствие выступающих частей — гребного вала, руля; хорошая защита гребного вала от повреждений; возможность подхода судна к необорудованному берегу.

На катерах «Амур-2» и «Амур-3» привод гребного винта осуществляется через угловую поворотно-откидную колонку, что придает этим моделям катеров дополнительные положительные качества.

Колонка представляет собой вертикальный реверсивный привод с Z-образной механической передачей; шестерни верхнего редуктора имеют шаровой зуб с торцовым модулем, равным 3,5; шестерни нижнего редуктора — прямозубые с торцовым модулем 3,82. В качестве механизма реверса использована коническая самоблокирующая фрикционная муфта.

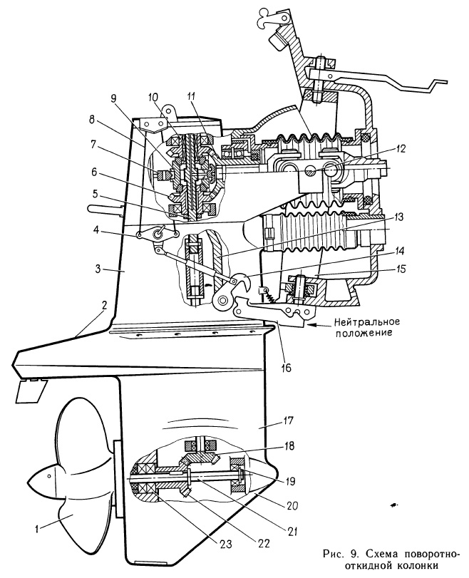
Корпус колонки (рис. 9), отлитый из алюминиевого сплава, конструктивно выполнен из трех частей: верхнего редуктора 3, нижнего редуктора 17 и киля 20. В верхнем редукторе размещены ведущая шестерня 11, ведомая шестерня заднего хода 10, ведомая шестерня переднего хода 6, коническая фрикционная муфта 9. Ведомые шестерни вращаются относительно корпуса на шарикоподшипниках, а относительно вала 5 — на игольчатых подшипниках. Подставка 13 разделяет полость газовыхлопа и масляную полость. Выхлопные газы выбрасываются через антикавитационную плиту 2. В передней части корпуса запрессованы две бронзовые втулки 12, в них входят оси, относительно которых колонка откидывается вверх или вниз. Относительно оси осуществляется поворот колонки «вправо» и «влево» вместе с поворотным хомутом 15. В нижнем редукторе расположены шестерни 18 и 22, гребной вал 21, опирающийся на радиально-упорный подшипник 23 и игольчатый подшипник 19. Трехлопастной гребной винт 1 отливают из высокопрочного алюминиевого сплава. Шаг винта 315 мм, диаметр — 300 мм.

Схема поворотнооткидной колонки

Передача мощности от двигателя к ведущей шестерне осуществляется через первичный вал и двойной карданный шарнир. Первичный вал проходит внутрь проставки, которая является опорой двигателя и своим цилиндрическим концом входит в демпфирующее кольцо, закрепленное на транцевой плите. Резиновый чехол защищает карданный вал от попадания воды. Управление реверсом гребного винта осуществляется при помощи скобы 7 и тяги, качалок 4. К одной из них подходят два каната 8 от ручки управления.

Кулачок 14 управляет скобой 16, при помощи которой колонка удерживается от откидывания на заднем ходу. На переднем ходу кулачок отводит скобу и колонка освобождается от «захватов».

Механизм управления реверсом винта и дроссельной заслонкой карбюратора устроен таким образом, что позволяет одной установленной на левом борту у пульта рукояткой управлять реверсом гребного винта и частотой вращения коленчатого вала двигателя, а также прогревать двигатель на холостом ходу.

Гребной винт

Основные данные поворотно-откидной колонки

  • Максимальная передаваемая мощность, кВт - 55
  • Максимальная частота вращения на входном валу, об/мин - 4500
  • Передаточное отношение - 1:1,53
  • Угол поворота на сторону, град - 20
  • Угол откидывания привода, град - 52
  • Масса привода (без транцевой плиты), кг - 37

ДВИЖИТЕЛЬ — устройство, преобразующее энергию двигателя в энергию движения судна. Движителями могут быть гребные винты, крыльчатые и водометные устройства, воздушные винты, гребные колеса, паруса, весла. На большинстве моторных маломерных судов в качестве движителя используют гребной винт, имеющий наиболее простую и надежную конструкцию.

Гребной винт (рис. 10) состоит из ступицы и нескольких (чаще 3—5) лопастей, представляющих собой части винтовых поверхностей. Его обычно располагают в кормовой части катера, он приводится в движение через гребной вал. При вращении винта лопасти отбрасывают воду вдоль оси вращения и создают реактивную силу, называемую упором. Упор передается по гребному валу на упорный подшипник, прочно укрепленный в корпусе, и движет катер.

Винты изготовляют из бронзы, латуни, легированной стали, а также из капрона, нейлона, стеклопластика. Основными характеристиками гребного винта являются диаметр, шаг, число лопастей, а также направление вращения и профиль сечения лопасти.

Сторона вращения винта определяется по направлению вращения его при переднем ходе судна, глядя с кормы в нос. Если вращение по часовой стрелке, то винт правого вращения, если против — левого. Профили лопастных сечений винтов чаще всего бывают сегментные, выпукло-вогнутые и типа авиационного крыла.

За диаметр винта принимают диаметр круга, описываемого точкой лопасти, наиболее удаленной от оси вращения. Геометрическим шагом винта Н называют расстояние, которое прошел бы винт при вращении за один оборот в твердой среде. Вращаясь в воде, гребной винт, а следовательно, и судно за один оборот винта проходят путь значительно меньше геометрического шага. Это расстояние называют поступью винта h, а разность между геометрическим шагом и поступью Н — h — скольжением винта.

Скольжение — непременное условие работы гребного винта, так как благодаря скольжению поток воды набегает на лопасть и создает упор. Если бы скольжение было равно нулю, то поступь винта равнялась бы его шагу и упора практически не было. Скольжение винта достигает максимального значения (100%) при работе на швартовах. Наименьшее скольжение (8—15%) имеют винты легких гоночных мотолодок и скутеров; у винтов глиссирующих катеров скольжение составляет 15—25%, у тяжелых водоизмещающих катеров 20—40%.

От диаметра и шага винта зависит наиболее полное использование мощности двигателя и, следовательно, скорость судна. Если шаг винта велик для данной скорости и частоты вращения, лопасти будут захватывать и отбрасывать назад слишком большое количество воды, упор винта возрастает, одновременно увеличится вращающий момент на гребном валу и двигателю не хватит мощности, чтобы развить полные обороты. В этом случае говорят, что винт тяжелый. Наоборот, если шаг мал, двигатель легко будет вращать винт на полной частоте вращения, упор будет невелик, и судно не разовьет проектной скорости. Такой винт считается легким.

ЭЛЕКТРООБОРУДОВАНИЕ КАТЕРА. Составной частью энергетической установки, которая обеспечивает электроэнергией всех потребителей тока, связанных между собой электрической цепью, является электрооборудование катера. В качестве основного источника тока на катерах служит генератор двигателя, а в качестве запасного — аккумуляторная батарея. При пуске двигателя и работе его на малой частоте вращения ток поступает в сеть от аккумуляторной батареи, а при работе на нормальной частоте вращения — от генератора.

Постоянное напряжение в сети обычно 6 или 12 В поддерживается реле-регулятором автоматически. На лодках с подвесным мотором, оборудованными электростартером, предусмотрена система отбора электроэнергии для питания сети освещения и сигнальных огней. Потребителями тока являются система зажигания и пуска двигателя, сеть освещения и сигнализация.

Принципиальная схема распределения электроэнергии

Электрические сети на катерах выполняют однопроводными и двухпроводными. При однопроводной системе вместо второго провода используются на металлическом катере его корпус, на деревянном или пластмассовом — двигатель. Когда сети выполняются по двухпроводной системе, то все однозначные провода (обычно «+») соединяются между собой.

Электропроводку на катерах часто выполняют тепловлагостойким лакированным проводом. Для прокладки постоянных электрических сетей используют облегченные кабели в полихлорвиниловом шланге, гибкие кабели в резиновой шланговой оболочке — для фар, переносных ламп и т. п. Монтаж обычно выполняют по панелям проводами, собранными в пучок (жгут). Провода маркируют бирками или набирают с оплеткой разного цвета.

На катерах устанавливают осветительную аппаратуру авиационного или автомобильного типа, а соединительные коробки, выключатели и прочую арматуру — морского типа, в водозащищенном исполнении. Для защиты сети от тока короткого замыкания применяют плавкие предохранители серии ПВ, группируемые в специальных блоках, состоящих из пластмассового основания, зажимов, предохранителей и контактных болтов.

Приборы контроля и управления двигателем, предохранители и выключатели монтируют на общем распределительном щитке. Щиток с приборами освещается специальной осветительной арматурой. На катере «Чибис» электроэнергетическая система двухпроводная изолированная напряжением 12 В постоянного тока.

Схема распределения электроэнергии (рис. 11) предусматривает подачу энергии от двух источников: двухфазного генератора Г-250-Г мощностью 360 Вт, напряжением 12 В с реле-регулятором РР-362 и аккумуляторной стартерной батареи 6СТ-75ЭМС.

Защита генератора от перегрузок, токов короткого замыкания, обратных токов, автоматическое включение и отключение генератора от общей сети, а также поддержание напряжения его в заданных пределах при изменении частоты вращения вала двигателя обеспечиваются реле-регулятором.

Для распределения электроэнергии предназначена панель управления, расположенная справа от штурвала рулевой машины на комбинированном пульте. На панели установлены контрольно-измерительные приборы для контроля параметров двигателя: указатель тахометра, указатели давления масла, температуры масла, температуры воды. Для включения и выключения потребителей на панели установлены также автоматы защиты сети, переключатели для подачи звуковых сигналов.

Литература

Спасательный катер. Устройство и эксплуатация. Печатин А. [1988]

MirMarine
MirMarine – образовательный морской сайт для моряков.
На нашем сайте вы найдете статьи по судостроению, судоремонту и истории мирового морского флота. Характеристики судовых двигателей, особенности устройства вспомогательных механизмов и систем.