Виды смазки для различных узлов судового дизеля

В зависимости от условий работы различных узлов судового дизеля применяются следующие виды смазки: ручная, капельная, фитильная, кольцевая, разбрызгиванием, центральная высокого давления и циркуляционная.

Ручная смазка применяется для смазки отдельных малоответственных узлов, периодически работающих, а также деталей, к которым подавать централизованную смазку нецелесообразно (коромысла привода клапанов четырехтактных дизелей, тяги управления двигателем, и др.). Для подачи смазки к трущимся поверхностям вручную применяются пресс-масленки и колпачковые масленки, заполненные консистентной (густой) смазкой. Пресс-масленки заполняют смазкой при помощи пресс-насосов. Масло к некоторым узлам подают при помощи переносных масленок. Ручная смазка на современных автоматизированных дизелях почти не встречается.

Капельная и фитильная смазки применяются для смазки подшипников валопровода. Суть капельной смазки заключается в следующем: масло заливают в специальную масленку, выход масла к объекту смазки осуществляют через специальное отверстие, проходное сечение которого регулируется игольчатым клапаном; масло вытекает из такой масленки периодически, каплями. При фитильной смазке фитиль одним концом погружают в масло, другой его конец связан с подшипником. (Фитильное действие фитиля и используется для подачи масла к подшипникам.) Чтобы избежать ненужного расхода масла на стоянке, фитиль необходимо вынимать из масленки.

Кольцевая смазка применяется для смазки малонагруженных подшипников вспомогательных дизелей старых конструкций. При кольцевой смазке на вал надевают кольцо, свободно вращающееся в масляном резервуаре и подающее смазку к подшипнику.

Смазка разбрызгиванием применяется в малонагруженных вспомогательных четырехтактных дизелях для смазки цилиндровых втулок: масло, стекающее с головного соединения и мотылевого подшипника, попадает на подвижные детали, разбрызгивается и оседает на стенках втулки; избыток масла снимается со стенок втулки маслосъемными кольцами. В дизелях старой конструкции разбрызгиванием смазывались мотылевый и головной подшипники, при этом на крышках мо-тылевых подшипников крепили специальные черпаки, которые захватывали масло из картера и разбрызгивали его на трущиеся детали. Понятно, что такой способ смазки малоэффективен, требует большого расхода масла и на современных дизелях не применяется.

Центральная смазка высокого давления применяется для смазки цилиндровых втулок. Для этого используют плунжерные насосы, создающие высокое давление,—лубрикаторы. Обычно несколько Насосов-объединяют в общем корпусе с общим приводом. Существуют два вида лубрикаторов: с дисковым приводом плунжеров и с валиковым.

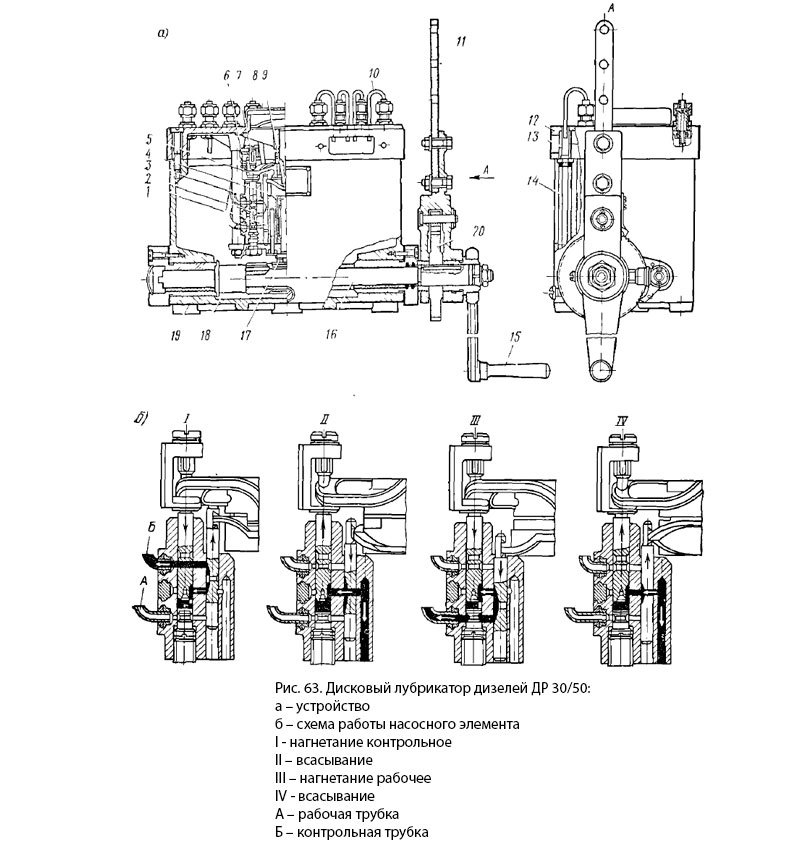
Лубрикатор с дисковым приводом плунжеров (рис. 63, а) работает следующим образом. Качающийся рычаг 11 через храповый механизм 20 приводит во вращение вал 16, далее через кулачковую муфту 17 вращение передается вертикальному валу 4, на котором расположены профильные диски 5 и 9 привода, соответственно рабочих плунжеров 2 и золотников 1. Диски профилированы таким образом, что золотник соединяет надплунжерное пространство насосного элемента 3 при ходе плунжера вверх со всасывающим каналом, потом с нагнетательной полостью, затем снова со всасывающим каналом и, наконец, с контрольной трубкой 10. Таким образом, за один оборот дискового вала рабочий плунжер каждого насосного элемента 3 совершает два возвратно-поступательных движения, а золотник — одно. Несколько насосных элементов монтируют на общей плите 18, которая крепится к крышке 12 корпуса 19. Ход плунжера и, следовательно, его производительность можно регулировать винтом 7, который фиксируется штифтом б. Подачу контролируют через смотровое стекло 13, а уровень масла в лубрикаторе — через маслоизмерительную трубу 14. Для ручного привода лубрикатора служит съемная ручка 15. Масло в лубрикатор заливают вручную через горловину, закрытую во время работы крышкой 3. На рис. 63, б показана схема работы насосного элемента дискового лубрикатора.

Дисковый лубрикатор дизелей ДР 30/50

На рис. 64 показано устройство валикового лубрикатора двигателя 8ДКРН 74/160 (БМЗ) «Бурмейстер и Вайн». Корпус 1 лубрикатора заполняют маслом через фильтр 4. Кулачковый вал 18 приводится в действие от распределительного вала двигателя через шестеренную передачу. При набегании кулачной шайбы на рычаг 3 последний толкает плунжер 16, который осуществляет нагнетательный ход, и масло через нагнетательные шариковые клапаны 11 и 10 поступает через контрольную стеклянную трубу 7 для смазки цилиндровой втулки. Стеклянная труба 7 залита соленой водой и служит для наблюдения за подачей масла; так как масло имеет меньшую, чем морская вода, плотность, то оно в виде капли 9 поднимается по струне 8, проходящей в центральной части трубы, и скапливается под нагнетательным клапаном 5. Когда давление под клапаном станет больше давления в трубопроводе, клапан откроется и капля масла поступит в трубопровод. Последующие капли будут поступать за каждый нагнетательный ход плунжера. Всасывающий ход плунжера осуществляется за счет пружины 15, масло при этом поступает через всасывающие клапаны 13 и 12. Ход плунжера и производительность насосного элемента регулируют болтом 6, а производительность всех насосных элементов изменяют поворотом эксцентричной оси 2. Для подогрева холодного масла при пуске дизеля при низкой температуре в корпус лубрикатора вмонтирован электрический нагревательный элемент 14. Пробка 17 служит для спуска масла. Валиковые лубрикаторы просты по конструкции, более надежны в эксплуатации.

Валиковый лубрикатор дизеля 8ДКРН 74/160

MirMarine
MirMarine – образовательный морской сайт для моряков.
На нашем сайте вы найдете статьи по судостроению, судоремонту и истории мирового морского флота. Характеристики судовых двигателей, особенности устройства вспомогательных механизмов и систем.