Оборудование систем охлаждения судового дизеля

К оборудованию системы охлаждения относятся: насосы пресной и забортной воды, охладители пресной воды, терморегуляторы, расширительные баки, контрольно-измерительные приборы.

Для подачи пресной воды на двигатель и для прокачки охладителей забортной водой допускается применение как навешенных насосов (с приводом от главного двигателя), так и насосов с автономным (электрическим) приводом. Согласно Правилам кроме основных насосов, в машинном отделении необходимо устанавливать аварийные насосы, причем при замкнутой системе охлаждения допускается установка одного аварийного насоса, при этом система должна предусматривать подключение его как к замкнутому контуру, так и к трубопроводу забортной воды. На небольших судах допускается в качестве аварийного использовать один из насосов общесудового назначения.

Для охлаждения дизеля применяют как поршневые, так и центробежные насосы. Детали насосов, соприкасающиеся с водой (особенно забортной), должны выполняться из нержавеющих сплавов и материалов или иметь нержавеющую облицовку.

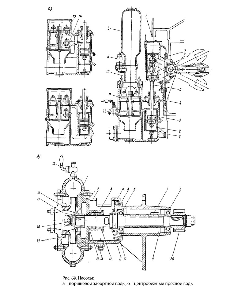
Насосы:а – поршневой забортной воды, б – центробежный пресной воды

Применение центробежных насосов позволяет получать непрерывную струю, без пульсации, что обеспечивает равномерное охлаждение дизеля. К недостаткам центробежных насосов следует отнести: неспособность сухого всасывания, более низкий к. п. д. по сравнению с поршневыми насосами, а также уменьшение производительности и даже прекращение подачи воды при реверсировании двигателя (для навешенных насосов).

К недостаткам поршневых насосов относятся: громоздкость, пульсация струи (частично устраняют, устанавливая на нагнетательном трубопроводе специальные воздушные колпаки). При применении навешенных насосов лучшим считается вариант с установкой центробежного насоса для замкнутого контура (пресная вода) и поршневого — для прокачки охладителя забортной водой. Именно таким образом охлаждаются двигатели завода «Русский дизель» Д 30/50-2 и ДР 30/50—3.

На рис. 69, а показан поршневой насос для прокачки холодильника забортной водой. В корпусе насоса 1 запрессована бронзовая втулка 2, в которой совершает возвратно-поступательное движение поршень 3, уплотненный резиновыми кольцами и приводимый в действие через шток 5, серьгу 7 и балансир 6, связанный с крейцкопфом продувочного насоса двигателя. Шток 5 поршня уплотняется сальником 4. При движении поршня вниз в верхней полости происходит всасывание воды, а в нижней—нагнетание; при обратном движении из верхней полости вода вытесняется, а в нижнюю всасывается. В клапанной коробке 11 размещается по три всасывающих клапана 14 и нагнетательные 13, которые изготовлены из резины.

Для уменьшения пульсации на крышку 10 клапанной коробки 11 устанавливают воздушный колпак 8. Для предохранения насоса и трубопровода от разрушения при повышении давления до опасных значений насос имеет предохранительный клапан 9. Два крана 12 служат для слива воды из клапанных коробок при ремонте насоса.

На рис. 69, б показан центробежный насос для прокачки двигателя пресной водой. К корпусу 1 насоса крепится крышка 15 с фланцем для соединения всасывающего трубопровода и кронштейн 2 для крепления насоса к фундаментной раме дизеля. Привод рабочего колеса — через вал 3 и шестерню 20, которая, в свою очередь, приводится во вращение от шестерни, насаженной на коленчатый вал дизеля. Рабочее колесо насаживают на вал насоса на шпонке и фиксируют гайкой 16 и стопорной шайбой 17. Вал вращается в двух шариковых подшипниках 6 и 8. Для удобства монтажа и демонтажа шариковый подшипник устанавливают в обойму 5, которую фиксируют фланцем 4. Чтобы предотвратить попадание воды на шариковый подшипник, установлен отражатель 11, а для предотвращения выброса масла из подшипника имеется уплотнительное кольцо 10. Уплотнение вала — сальниковой набивкой 14, которая прижимается грундбуксой 12. Слив воды из кронштейна 2 — через отверстие, закрытое пробкой 13.

Смазка на подшипники 6 и 8 поступает из окна 7 (для смазки служит масло, которое разбрызгивается шестернями привода насоса) и сливается через отверстие 9 в картер двигателя. Кран 19 служит для выпуска воздуха из улитки насоса.

Насос крепят к дизелю со стороны поста управления, что удобно для осмотра и профилактики. Профиль рабочего колеса 18 позволяет насосу работать при вращении коленчатого вала «вперед» и «назад».

На многих судах постройки последних лет применяют вертикальные электроприводные центробежные насосы. Электродвигатель у таких насосов размещен над плитами машинного отделения, а сам насос — под ними. Такое размещение удобно для подсоединения трубопроводов к насосу.

Для охлаждения пресной воды, выходящей из дизеля, применяют теплообменные аппараты (холодильники) трубчатого типа, такие же, как и для охлаждения масла.

Трубопроводы системы охлаждения дизеля выполняют или из нержавеющих труб, или из стальных, оцинкованных снаружи и внутри. Для предотвращения коррозионного разрушения в холодильниках со стороны забортной воды устанавливают протекторы.

MirMarine
MirMarine – образовательный морской сайт для моряков.
На нашем сайте вы найдете статьи по судостроению, судоремонту и истории мирового морского флота. Характеристики судовых двигателей, особенности устройства вспомогательных механизмов и систем.