Газопроводы, глушители и фильтры, компенсаторы

К газопроводам судовой дизельной установки относятся воздушные фильтры, трубопроводы подвода воздуха, ресиверы продувочного и наддувочного воздуха, а также система отвода отходящих газов: выхлопные патрубки и коллекторы, трубы отвода выходящих газов от газотурбонагнетателей, компенсаторы, глушители и искрогасители, (кроме продувочных насосов, газотурбонагнетателей и утилизационных котлов).

Воздушные фильтры служат для очистки воздуха от взвешенных частиц. Воздух, поступающий в ресивер через фильтр, имеет значительную скорость, поэтому для уменьшения шума фильтр изнутри обшивают шумопоглощающим материалом: войлоком, поролоном и т. п, У двигателей с газотурбинным наддувом фильтры и глушители шума встраивают непосредственно в газотурбонагнетатель. Воздушные фильтры большинства дизелей представляют собой цилиндрический каркас, на который в несколько слоев положена сетка, изготовленная из проволоки, не подвергающейся коррозии. У некоторых дизелей сетку заменяют алюминиевой фольгой с отверстиями специальной конфигурации, которые изменяют направление воздуха, движущегося в ресивер, уменьшают его скорость и тем самым шумовой эффект.

У четырехтактных дизелей без наддува ресивер, или всасывающий (впускной) коллектор, представляет собой стальную или чугунную трубу, цельную или составную. Коллектор имеет один или несколько фильтров и соединяется короткими патрубками с впускными каналами цилиндровых крышек. Так же устроен нагнетательный коллектор у четырехтактных дизелей с наддувом, только фильтр устанавливают перед нагнетателем.

Воздушные ресиверы у двухтактных дизелей с наддувом имеют коробчатую конфигурацию; очень часто в ресиверах размещают холодильники промежуточного охлаждения воздуха при двухступенчатом наддуве и клапанные коробки — между ступенями.

У некоторых дизелей подпоршневые пространства, используемые для дополнительного сжатия наддувочного воздуха, являются как бы продолжением ресивера.

Выхлопные коллекторы представляют собой стальные, реже чугунные трубы, которые специальными патрубками связаны с выпускными каналами цилиндровых крышек (у четырехтактных дизелей) или с выпускными окнами двухтактных дизелей. Для предохранения обслуживающего персонала от ожогов коллектор имеет зарубашечное пространство (водяной экран) или специальную изоляцию, покрытую защитным металлическим кожухом. У дизелей с газотурбинным наддувом для сохранения высокой температуры отходящих газов устройство водяного экрана не допускается, а выхлопной коллектор и отдельные патрубки тщательно изолируют.

У дизелей с импульсным газотурбинным наддувом газы направляются от каждого цилиндра по специальному патрубку непосредственно к газовой турбине. Иногда перед турбиной несколько патрубков группируют в небольшой коллектор; во всех случаях патрубки имеют сложную конфигурацию и хорошо изолированы.

Фильтр, смонтированный на турбонагнетателе, продувочный ресивер, выхлопной патрубок и выхлопной коллектор двигателей типа ДКРН 57/80 (МАН) представлены на рис. 77. Отработавшие газы из цилиндра по патрубку 1 попадают в выхлопной коллектор 2 (общий для трех цилиндров), а оттуда на лопатки газовой турбины.

Свежий воздух поступает через фильтр 4 и центробежным нагнетателем 3 по трубе 5 направляется через промежуточный холодильник 7 в ресивер первой ступени 9; далее воздух через клапанную коробку 8 попадает в подпоршневое пространство 10, из него—в ресивер второй ступени 6 и на продувку цилиндра. Ресиверы первой и второй ступеней имеют коробчатую конфигурацию, а выпускной коллектор выполнен из отдельных чугунных труб, связанных между собой гофрированными компенсаторами (рис. 78), коллектор имеет асбестовую изоляцию, обшитую жестью.

Газопроводы, глушители и фильтры

Газовыпускной тракт после газотурбонагнетателей выполняется из стальных труб, покрытых асбестовой изоляцией и защитным кожухом. Количество компенсаторов (см. рис. 78) зависит от длины газовыпускного тракта и его конфигурации.

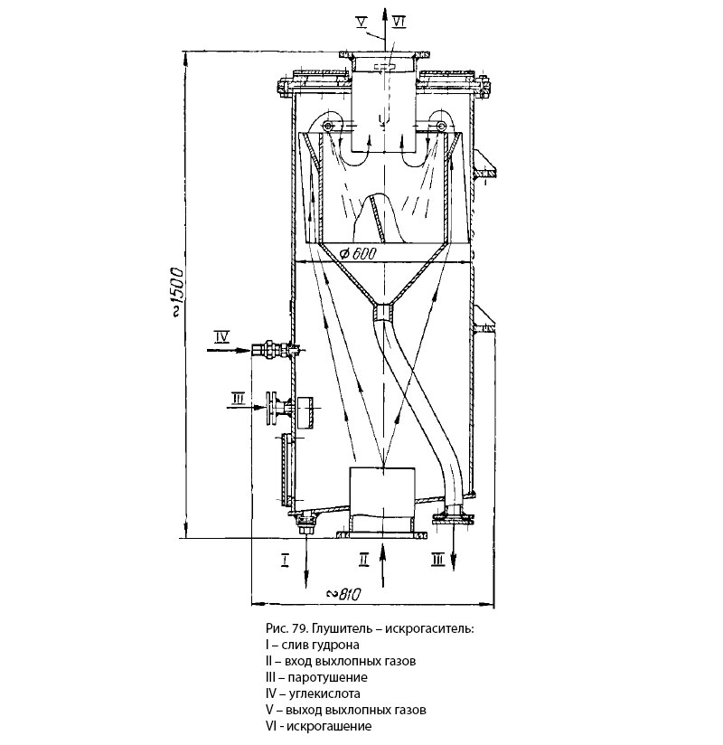
Глушители отработавших газов устанавливают в тех случаях, когда дизельная установка не имеет утилизационного котла. Все глушители работают на принципе резкого изменения направления движения и расширения газов, в результате чего скорость и шум газов на выхлопе уменьшаются. Так как искрогасители тоже работают на принципе изменения направления газов, в результате чего частицы кокса в виде искр по инерции направляются в специальные сборники, очень часто глушители шума и искрогасители объединяют вместе (рис. 79).

Глушитель – искрогаситель

MirMarine
MirMarine – образовательный морской сайт для моряков.
На нашем сайте вы найдете статьи по судостроению, судоремонту и истории мирового морского флота. Характеристики судовых двигателей, особенности устройства вспомогательных механизмов и систем.