Гидравлические инструменты
- А. подъёмный кронштейн; / Lifting bracket
- В. Крышка; / Cover
- С. Полусферическая головка; / Snap-on coupling
- D. Винт стравливания давления; / Bleed screw
- Е. Пружина возврата поршня; / Piston Return Spring
- F. Направляющий шплинт; / Guide pin
- G. Клапан превышения хода; / Overstroke valve
- Н. Поршень; / Piston
- I Уплотнительные кольца; / Sealing rings
- J Цилиндр; / Cylinder
- К. Поддерживающее кольцо; / Support ring
- L. Гайка; / Nut
- М. Шпилька; / Stud
- N. Рычаг томми; / Tommy bar
- О. Выточка для измерительного щупа; / Milled recess for feeler gauge
- Р. Соединение; / Coupling
- Q. Направляющий винт; / Guide screw
- S. Зазор; / Clearance
Шпильки и болты, снабжённые резьбой для установки гидравлического инструмента и с круглыми гайками, должны отдаваться и обжиматься только с помощью придаваемого гидравлического инструмента. Джеки подсоединяются посредством распределительного блока к насосу высокого давления, который способен создать давление гидравлического масла, указанное на джеке и в инструкции. Шпилька или надлежащий болт посредством этого удлиняются соответственно подаваемому давлению и поршневой области, а гайка может ослабляться или затягиваться с помощью рычага томми. Джеки не должны подвергаться ударам или сжатию. Джеки маркируются «Мах. Lift», что можно контролировать по выступающему направляющему пальцу сверху джека.
Гидравлические джеки снабжаются пружинами возврата поршня для обеспечения правильной установки поршня при сбросе давления.
1). Гидравлические инструменты содержат набор джеков с внутренней резьбой, чтобы подбирать резьбу инструмента к шпильке или болту.
2). Для рамовых подшипников гидравлический инструмент содержит четыре набора верхнего и нижнего джека, накладываемого сверху друг друга и удерживающего кольца.
3). Для крышки цилиндра гидравлический инструмент содержит восемь отдельных джеков, выделенных в общем съёмном инструменте. Поддерживающие кольца монтируются внизу каждого джека с помощью пружинных пальцев (spring pins).
Примечание: нет необходимости демонтировать поддерживающие пружины во время ремонта джеков для крышек цилиндров.
Работа с джеками крышки цилиндра идентична работе с одинарными гидравлическими джеками.
4).Гидравлические джеки сконструированы так, что в случае превышения предела «Мах. Lift» давление сбрасывается клапаном превышения хода G, который перепускает масло в полость под крышкой. При этом масло можно видеть просачивающимся через выходы джека.
Примечание: Если клапан превышения хода срабатывает, то может быть необходимость ремонта клапана. Используемое масло должно быть чистым гидравлическим или турбинным маслом с вязкостью близкой к SAE20.
Масла такие как, например, смазочное масло (системное) или масло цилиндровой смазки не должны использоваться, поскольку эти масла, как правило, кислотные и могут повредить кольца (backup rings). Все инструкции по эксплуатации должны выполняться для предотвращения сбоев или повреждений, а после использования джеки должны быть очищены и храниться в деревянных поставляемых ящиках.
Гидравлические инструменты отдачи гайки
ОДИНАРНЫЙ ГИДРАВЛИЧЕСКИЙ ДЖЕК
5).Тщательно почистить резьбу насадки инструмента, гайки и остальные части. Смазать резьбу насадки дисульфидно-молибденовой смазкой или графитом и маслом или подобной им смазкой. Поставить удерживающее кольцо вокруг гайки в таком положении, чтобы можно было пользоваться рукояткой томми через прорезь при откручивании гайки.
6). Закручивать джек по резьбе к болту/шпильке до тех пор, пока джек не упрётся точно напротив поддерживающего кольца.
7). Соединить гидравлический джек, распределительный блок и насос высокого давления с помощью труб высокого давления. Открутить джек на % оборота для создания зазора между джеком и поддерживающим кольцом. Когда отдаются гайки на фундаментных болтах, то необходимо открутить джек на 2,5 оборота. Зазор между джеком и опорным кольцом нужен для демонтажа джека после отдачи гайки.
8). Отдать винт стравливания давления в джеке и заполнять систему маслом до тех пор, пока из выпускного отверстия не прекратятся выходить пузырьки воздуха. После этого закрутить винт стравливания. После настройки проверить, что все части собраны правильно, и нет зазора между поршнем и цилиндром джека. Увеличить давление масла на описываемый клапан. Во время увеличения давления использовать ключ для круглых гаек (tommy bar), чтобы определить, когда гайка отдана. Если гайка не отдаётся, то можно увеличить давление на 10% от рабочего, указанного на джеке. Выкрутить гайку с помощью рукоятки томми и убедиться, что гайка не ввинчена в джек.
9). Сбросить давление в системе, отсоединить насос высокого давления и убрать гидравлический инструмент.
ДВОЙНОЙ ГИДРАВЛИЧЕСКИЙ ИНСТРУМЕНТ
10).Тщательно очистить шпильки главного подшипника, гайки и остальные части в этой области. Использовать подъёмное приспособление для подъёма верхнего и нижнего джеков и суппорта на гайках главного подшипника. Принять во внимание, что верхние и нижние джеки крутятся все вместе, чтобы обеспечить правильный поток масла.
11). Повернуть джек назад на ½ оборота для обеспечения зазора между джеком и поддерживающим кольцом, необходимого для демонтажа после откручивания гайки. Соединить гидравлические джеки, распределительный блок и насос высокого давления трубами высокого давления. С помощью винта стравить воздух, и затянуть после этого винт.
12). Увеличить давление до предписанной величины. Используя томми бар во время увеличения давления, определить факт отдачи гайки. Если гайка не отдаётся, то увеличить давление на 10% от рабочего, указанного на джеке. Раскрутить гайку томми баром, убедившись, что она не вкручена в джек.
13). Стравить давление в системе, отсоединить насос и отдать гидравлический джек.
14). Разобрать гидравлические джеки на три части и, используя подъёмное приспособление, поднять джеки из картера.
Затяжка гайки гидравлическими инструментами
ОДИНАРНЫЙ ГИДРАВЛИЧЕСКИЙ ДЖЕК
15). Тщательно очистить гайку, резьбу, контактные поверхности и прилегающие части. Почистить и смазать резьбу насадки инструмента и резьбу в гайке дисульфидно-молибденовой смазкой или графитом и маслом или чем-то подобным. Установить круглую гайку на резьбу и затянуть её ключом для круглых гаек. Проверить щупом, что контактная поверхность гайки опирается на всю поверхность по кругу. Установить поддерживающее кольцо вокруг гайки в таком положении, чтобы ручка ключа для круглой гайки могла проходить через прорезь с целью обжатия гайки.
16). Закрутить гидравлический джек на шпильку. Убедиться, что джек точно упирается в поддерживающее кольцо и все части правильно собраны вместе. Соединить гидравлический джек, распределительный блок и насос высокого давления трубами высокого давления. Отдать винт стравливания и выпустить воздушные пузыри через отверстие стравливания. Закрутить винт стравливания.
17). Увеличить давление для предписанного значения и закрутить гайку ручкой ключа, проходящей через прорезь. Сбросить давление и затем вновь накачать до предписанной величины.
18). При этом давлении проверить щупом, вводимым через выточку в основании поддерживающего кольца, что гайка упёрлась в контактную поверхность.
19). Сбросить давление в системе, отсоединить насос и убрать джек.
ДВОЙНОЙ ГИДРАВЛИЧЕСКИЙ ДЖЕК
20). Тщательно очистить гайку, резьбу, контактные поверхности и прилегающие части. Почистить и смазать резьбу насадки инструмента и резьбу в гайке дисульфидно-молибденовой смазкой или графитом и маслом или чем-то подобным. Установить гайки и закрутить до полного контакта.
21). Используя подъёмное приспособление, поднять два джека рамовых подшипников в картер.
22). Опустить джеки на гайки главного подшипника. Соединить джеки, распределительный блок и насос высокого давления трубками высокого давления. Отдать винт стравливания и выпустить воздух. Закрутить винт стравливания.
23). Увеличить давление масла до предписанной величины и закрутить гайки с помощью ключа для круглых гаек и затянуть. Сбросить давление и поднять вновь. Подсчитать сколько отверстий гайки прокручиваются для достижения пригодной затяжки.
24). Поддерживая необходимое давление, проверить щупом, вводимым через выточку основания поддерживающего кольца, что гайки упёрлись в контактную поверхность.
25). Сбросить давление в системе, отсоединить насос и выкрутить удлинители шпилек главного подшипника.
26). Используя подъёмное приспособление убрать гидравлические джеки с картера.
27). Гидравлические джеки не требуют обслуживания за исключением чистки сверхходового (overstroke) клапана и замены дефектных уплотнительных колец, каждое из которых состоит из О-кольца и резервного кольца, встроенного в кольцевые канавки поршня и цилиндра. Поршень и цилиндр легко отделяются путём снятия крышки и возвратной пружины поршня, удалением винта стравливания воздуха с шаровым наконечником и разъединением с помощью сжатого воздуха. Убедиться, что нет следов и царапин на поверхностях скольжения деталей. Наличие металлических частиц будет вызывать повреждение уплотнительных колец. Необходимо следить, чтобы поверхности скольжения и уплотнительные кольца были смазаны молибдено-дисульфидной смазкой.
28). Если сверхходовой клапан протекает без принуждения, то гидравлический джек должен быть демонтирован и разобран. Разборка осуществляется путём удаления двух пружинных клипс. При этом надо следить, чтобы не потерять шаровый наконечник и пружину. Продуть клапан сжатым воздухом. Если этим неисправность не устраняется, то сверхходовой клапан должен быть заменён. Поршни и цилиндры двойных джеков также просто рассоединяются, как и для одинарного джека.
Примечание: Использовать защитные средства для глаз при работе сжатым воздухом.
29) Поршень и цилиндр джеков цилиндровой крышки отделяются таким же способом, как и для одинарных джеков.
30). При замене уплотнительных колец сначала монтируют резервное кольцо и затем уплотнительное О-кольцо. Для правильной установки как верхних, так и нижних колец можно пользоваться рисунком 30. Такой принцип применим для всех джеков.
31). После установки уплотнительных колец покрыть поршень и цилиндр молибден-дисульфидной смазкой и сжать вместе поршень и цилиндр. Убедиться, что кольца не застряли между поршнем и цилиндром.
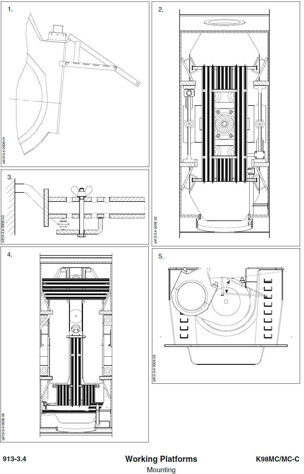
Рабочие платформы
Для выполнения некоторых проверочных и ремонтных работ внутри картера двигателя устанавливаются помосты платформы. Во время монтажа платформ всегда используют ремни безопасности (harness), талрепы (lanyard), стопорный механизм от падения (fall arrester). Рекомендуется всегда почистить и вытереть масло на ступеньках, кривошипе, дверных проёмах и поверхностях сборки.
Платформы используются для проверки:
1) Укладки коленчатого вала с использованием автолога (Autolog). Провернуть двигатель в положение, в котором можно установить трап на гайки шпилек подшипника пальца кривошипа;
2) Сальниковой коробки поршневого штока и телескопической трубы. Взять стандартную платформу. Провернуть двигатель в нижнюю мёртвую точку. Установить платформу с выхлопной стороны двигателя.
3) Суппорт рабочей платформы устанавливается согласно рис. 3.
4)Для демонтажа главного подшипника: Провернуть двигатель на 80% после ВМТ. Установить суппорт платформы в диаметральном направлении на ступеньки фундаментной постели. Установить на суппорт самые длинные помосты платформы с придаваемым трапом и с помощью конца опустить трап суппорта платформы к месту кривошипа (Crankthrow), см. рис. 5. Теперь можно поставить на суппорт двойные помосты платформы и длинные помосты.
Примечание: Необходимо помнить, что по завершении каждой рабочей процедуры требуется убрать помосты платформы до начала прокрутки двигателя.
Стандартные моменты затяжки
Если для затягиваемых болтов или гаек не указаны в инструкциях или информационных листах моменты затяжки, то могут быть использованы стандартные значения.
Динамометрический ключ
Перед закручиванием гаек резьбы и контактные поверхности должны быть смазаны графитной смазкой и маслом или молибден-дисульфидом с коэффициентом трения μ = 0.1-0.12 (т.е. паста МОЛИКОТ типа G). Гайки должны легко проходить резьбу и необходимо проверить, что они упираются в полную контактную поверхность.
В случае новых гаек или шпилек необходимо два или три раза обжиматься и затягиваться так, чтобы резьба могла принять свою определённую форму; таким образом, устраняется риск ослабления гаек. Гайки, которые фиксируются шплинтами, должны обжиматься до установленного момента и после этого до следующего отверстия шплинта.
Моментный гаечный ключ не должен использоваться для моментов, превышающих значения, выштампованные на нём, и при этом не должны подвергаться ударам молотка или подобно этому.
RAHSOL МОМЕНТНЫЙ ГАЕЧНЫЙ КЛЮЧ
Рукоятка моментного гаечного ключа снабжена шкалой, показывающей моменты, на которые ключ может быть установлен. Для установки ключа на заданный момент имеется шарик на малой ручке в конце рукоятки. При надавливании на шарик появляется небольшая заводная ручка (crank handle). Подпираемый пружиной ползунок (slide) снабжён маркером, который, когда заводная ручка поворачивается, показывает уставку требуемого момента по шкале. Моментный ключ работает следующим образом: Вышеупомянутая пружина действует на систему защёлки (pawl system) в рукоятке. Когда достигается предустановленный момент, то система защёлки срабатывает, в этот момент чувствуется небольшой толчок, и слышится маленький клик. Когда моментный ключ не используется, то внутренняя пружина должна быть освобождена регулировкой минимального момента.
Измеритель затяжки
ПРИГОТОВЛЕНИЯ
Перед закручиванием гаек, резьбы и контактные поверхности должны быть смазаны графитной смазкой и маслом или молибден-дисульфидом с коэффициентом трения μ = 0.1–0.12 (т.е. паста МОЛИКОТ типа G). Гайки должны легко проходить резьбу и необходимо проверить, что они упираются в полную контактную поверхность.
ПРЕДВАРИТЕЛЬНАЯ ЗАТЯЖКА МОМЕНТНЫМ ГАЕЧНЫМ КЛЮЧОМ
Перед затяжкой гаек по измерителю затяжки или углу затяжки, они должны быть предварительно затянуты моментным гаечным ключом, см. «Динамометрический ключ». Применяются следующие моменты предварительной затяжки:
- резьба М8-М20 = 50Nm;
- резьба М22-М27 = 100Nm;
- резьба М30-М39 = 150Nm;
- резьба М42-М48 = 200Nm.
Это необходимо для обеспечения одинакового базиса для последующей затяжки с измерителем или углом затяжки.
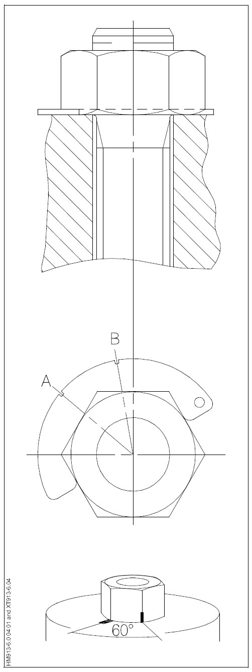
ЗАТЯЖКА С ИЗМЕРИТЕЛЕМ ЗАТЯЖКИ
После предварительной затяжки, установить измеритель затяжки вокруг гайки, рис., и наметить мелом на гайке место слота А измерителя затяжки и другую метку мелом на контактной поверхности у слота В. После этого затянуть гайку до тех пор, пока две меловые метки не совпадут.
ЗАТЯЖКА БЕЗ ИЗМЕРИТЕЛЯ ЗАТЯЖКИ
Для углов затяжки 30-45° и 60° обычно не поставляются измерители затяжки. Поэтому после предварительной затяжки надо отметить угол на краю гайки и контактной поверхности соответственно. Затем затягивать гайку до совмещения двух отметин. При затяжке новых болтов и шпилек первый раз, ослабить и повторить процедуру моментным гаечным ключом, чтобы дать деталям уложиться, см. «Динамометрический ключ».
Болты и гайки
Некоторые свинченные и сболченные соединения на двигателе, также как и некоторые способные смещаться узлы, защищаются от несвоевременного ослабления различными видами стопорных устройств. При повторной сборке после ремонта двигателя, жизненно необходимо, чтобы все такие болты и гайки снова были правильно застопорены.
Примечание: Убедитесь, что только те стопорные устройства будут монтироваться, которые поставляются производителем двигателя.
СТОПОРНЫЕ ШАЙБЫ (lock washers, tab washers), стопорные планки и т.п. должны быть всегда заменены. Выступающие части, лапки и т.п. на шайбах должны отгибаться поверх одной из граней болта или гайки, к которым они относятся. Используемые пружинящие шайбы должны быть заменены.
САМОСТОПОРНЫЕ (self-locking) гайки могут использоваться только пять раз. Поэтому, каждый раз отдача гайки отмечается кернером. Для отдачи гайки определённым моментом сначала измеряют момент, требуемый для прокручивания самой гайки, и затем прибавляют этот момент к значению момента, установленному информационным листом (data sheet) для данной процедуры.
Застопоривание болтов и гаек
После обжатия правильным моментом на болтах и гайках должны устанавливаться проволочные стопора. Нельзя перетягивать или ослаблять компоненты для получения точного расположения проволочных отверстий. Всегда использовать новую проволоку после затяжки компонентов. Всякая тенденция болтов или гаек к ослаблению должна предотвращаться натянутой стопорной проволокой. Нельзя крепить более четырёх единиц последовательно, разве только что другим указанным способом.
На рисунке изображены различные способы застопоривания болтов и гаек:
Рис.1: Вставить проволоку, взять верхний конец проволоки и согнуть его вокруг головки болта, затем под другой конец проволоки; убедиться, что головка обтянута проволокой.
Рис.2: Скручивать проволоку по часовой стрелке до тех пор, пока скрутка не станет достаточно близкой к отверстию второго болта. Поддерживая провод под натяжением, скрутить его до полной тугости. При этом он будет иметь примерно 7-10 витков на 25 мм. Один виток является изгибом проводов под 180°, достаточным для половины полного оборота.
Рис.З: Вставить самый верхний провод во второй болт и туго затянуть.
Рис.4: Загнуть нижний конец вокруг болта и пустить его под концом, проходящим через болт.
Рис.5: Держать проволоку в натяжении и скручивать минимум до трёх витков против часовой стрелки до тугого прочного состояния.
Рис.6: На последнем витке загнуть проволоку по грани головки и срезать лишний провод.
Рис. 7-9: Показывают предпочтительные способы застопоривания проводом на болтах с проводниковыми отверстиями, расположенными под разными углами.
Рис.10: Показывает, как прокладывается стопорная проволока на болты, находящиеся в разных плоскостях.
Рис.11: Проволока, которая проходит над верхом гайки, является приемлемой альтернативой только в том случае, если она проходит при этом вокруг резьбы выступающего болта.
Рис.12: Проволока, которая проходит поверх гайки, является приемлемой альтернативой, если отверстие расположено так, как показано на рисунке.
Рис. 13: Когда сверление отверстий стопорного провода приводит к тонкостенному сечению, то проволоку прокладывают, как показано на рисунке, во избежание повреждения гайки.
Рис.14: Стопорная проволока может быть смонтирована к любой другой части сборки, если нет другой возможности.
Кулачковые стопорные шайбы с возрастающими кулачками на одной стороне и радиальными зубьями на другой.
Рис. 15: Шайбы устанавливаются парами, кулачки к кулачкам. Когда болт и/или гайка затягиваются, то зубья схватываются и образуют спаренные поверхности. Кулачковые стопорные шайбы устанавливаются в местах, допускающих перемещение только по поверхности кулачков. Любая попытка болта/гайки провернуться для ослабления, блокируется клиновым эффектом профиля кулачков.
Рис. 16: Различное применение кулачковых стопорных шайб. Нельзя использовать кулачковые стопорные шайбы совместно с другими типами шайб.
Литература
Эксплуатация, обслуживание и ремонт двигателей MAN B&W-ME - Пипченко А.Н., Пономаренко В.В., Шевченко В.А. [2014]
MAN B&W K98ME - VOLUME II MAINTENANCE