MAN B&W 50-98MC: Крышка цилиндра - устройство, ремонт, демонтаж, монтаж

Цель - представить общую информацию о конструкции и обслуживании двухтактных крейцкопфных двигателей фирмы MAN B&W Diesel. Содержание статьи подготовлено на основе стандартного двигателя типа S60MC, но она не подлежит использованию для какого-либо определенного двигателя.

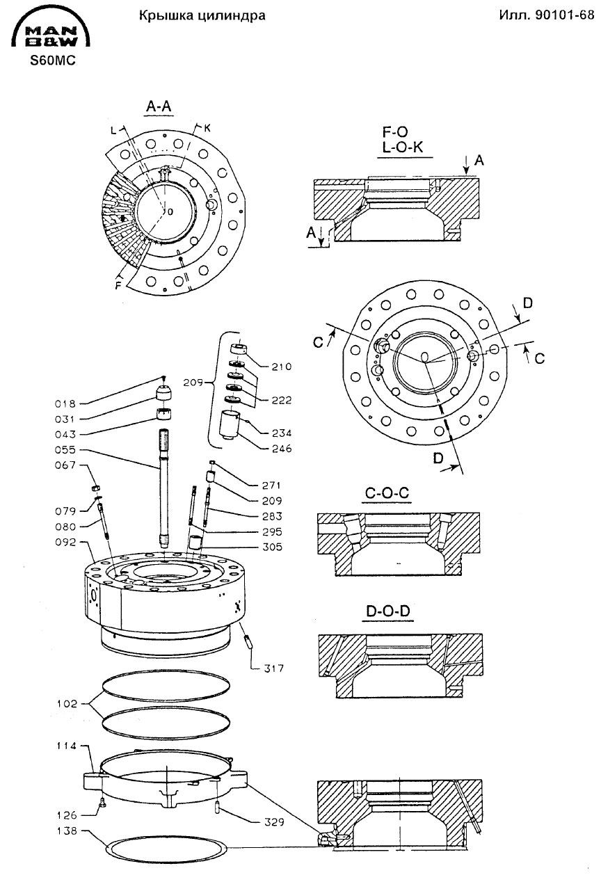
Крышка цилиндра изготовлена из стали и имеет центральное отверстие для выпускного клапана, который крепится четырьмя шпильками. Кроме того, крышка имеет отверстия для форсунок, которые смонтированы в корпусах с использованием тарельчатых пружин, и с тарельчатыми пружинами шпилек под гайками. Другие отверстия предусмотрены для пускового клапана, входа пускового воздуха, предохранительного клапана и индикаторного крана.

Охлаждающая рубашка установлена в нижней части крышки цилиндра, образуя полость охлаждения.

Другая охлаждающая полость образуется вокруг седла выпускного клапана после его установки. Эти две полости сообщаются большим количеством наклонных/радиальных сверлений для охлаждения крышки.

Вода подается из рубашки охлаждения вокруг втулки цилиндра и поступает через переходники в рубашку охлаждения вокруг крышки цилиндра и далее через отверстия в полость вокруг седла выпускного клапана.

Из крышки вода отводится через два отдельных отверстия:

  • через одно из отверстий вода выходит в главную выпускную трубу охлаждающей воды,
  • через другое отверстие вода выходит через корпус выпускного клапана в главную выпускную трубу охлаждающей воды.

Уплотнение между крышкой цилиндра и втулкой цилиндра обеспечивается с помощью уплотнительного кольца, изготовленного из мягкой стали.

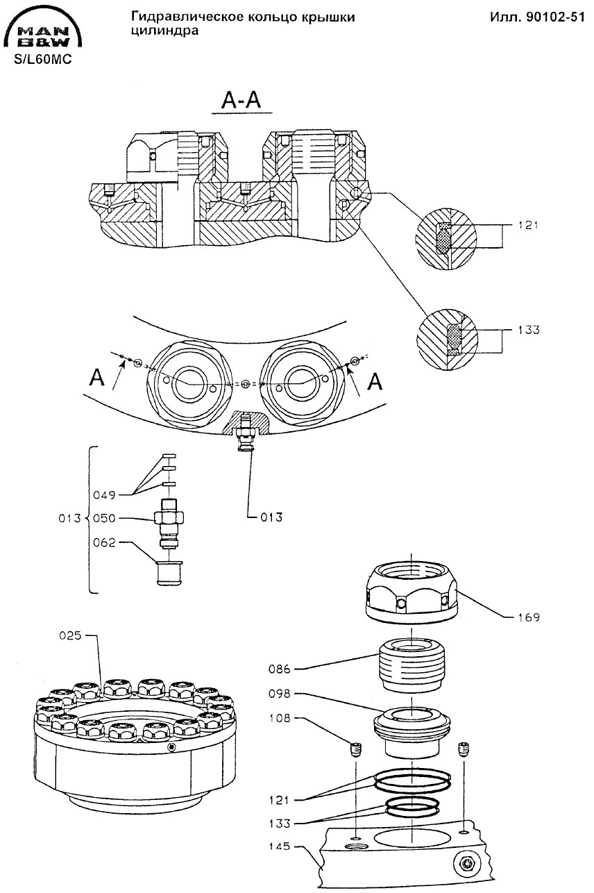
ГИДРАВЛИЧЕСКОЕ КОЛЬЦО ДЛЯ КРЫШКИ ЦИЛИНДРА (ГИДРОКОЛЬЦО)

Крышка цилиндра крепится к верхней части втулки цилиндра с помощью шпилек, установленных на цилиндровом блоке. На верху крышки цилиндра расположено стальное кольцо с гидравлическим устройством затяжки каждой из шпилек крепления крышки цилиндра.

Сверления в этом кольце образуют цилиндры устройств затяжки, которые взаимосвязаны просверленными масляными каналами. Каждый цилиндр оборудован окольцеванным поршнем и двумя комплектами уплотняющих колец.

Каждая гайка крышки цилиндра состоит из установленной на шпильке крышки внутренней гайки, упирающейся в поршень устройства затяжки, и наружной гайки с резьбой, соответствующей внешней резьбе внутренней гайки.

При затяжке крышки внутренняя гайка и вместе с ней поршень устройства затяжки навинчиваются воротком. После подъема гидравлического давления в системе, поршень затяжного устройства движется вверх, в результате чего шпилька крышки слегка удлиняется, а наружная гайка затягивается (вниз) воротком. Когда гидравлическое давление в системе падает, усилие затяжки передается через наружную гайку к крышке цилиндра.

На гидрокольце между двумя затяжными устройствами со стороны распределительного вала двигателя установлена обжимная муфта для подсоединения гидронасоса высокого давления. В верхней части кольца между устройствами расположены винты для выпуска воздуха. Они должны быть открыты во время заполнения или вентиляции системы.

Гидрокольцо и крышка цилиндра снабжены четырьмя резьбовыми отверстиями для рым-болтов, с помощью которых можно поднять кольцо или крышку с кольцом. Обычно кольцо не снимется с крышки цилиндра.

В аварийной ситуации гайки также можно ослабить с помощью специального гаечного ключа. Но этот ключ никогда не должен применяться для затяжки.

Крышка цилиндра

Гидравлическое кольцо крышки цилиндра

Замена крышки цилиндра

Замена крышки цилиндра

Демонтаж крышек цилиндра (901-1.1)

Замена крышки цилиндра

  • 1.  А. Установите блокирующее устройство на главном пусковом клапане в положение «Блокирован».
    • В. Включите валоповоротный механизм.
    • С. Откройте индикаторные краны.
    • D. Закройте впускные и выпускные клапаны охлаждающей воды.
    • Е. Откройте вентиляционные и дренажные краны охлаждающей воды. После слива воды из крышки цилиндра закройте дренажные краны.
    • F. Закройте клапан подвода топлива.
    • G. Перекройте подачу управляющего воздуха к пневматической системе управления и системе защиты перед продуванием системы управления через шаровой клапан. Перекройте также подачу воздуха к редукционной станции для гидро/пневматического выпускного клапана и провентилируйте систему.
    • Н. После спуска охлаждающей воды во время замены крышки цилиндра или поршня откройте кран контроля уровня охлаждающей воды.
  • 2.   Снимите болты, которые крепят трубу высокого давления к гидроцилиндру выпускного клапана и гидроприводу, и поднимите трубу высокого давления.
    Демонтируйте трубку слива масла от выпускного клапана к гидроприводу, воздушную трубку к пневмомеханизму выпускного клапана и трубку уплотнительного воздуха.
  • 3.   Демонтируйте топливные трубки высокого давления от топливного насоса к форсункам.
    Отсоедините трубу возвратного топлива от форсунок к топливному насосу.
    Отсоедините трубу воздуха управления от пускового клапана.
    Снимите болты фланцевого соединения трубы пускового воздуха.
  • 4.   Снимите трубу выхода охлаждающей воды из выпускного клапана и крышки цилиндра.
  • 5.   Снимите защитный кожух с патрубка между коллектором выпускных газов (с компенсатором) и выпускным клапаном. Демонтируйте хомут с фланцев на соединении между коллектором выпускных газов и патрубком. (Демонтируйте болты между патрубком и выпускным клапаном и снимите патрубок выпускных газов).
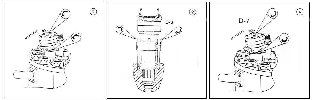
  • 6.   Подсоедините насос высокого давления к штуцеру на гидрокольце. Провентилируйте систему и поднимите давление, как указано в D-2, согласно операции 913-1. Немного отпустите внешние гайки, затем сбросьте давление в системе. Снимите насос высокого давления и отвинтите гайки.
  • 7.   В случае протечки гидравлический узел должен быть заблокирован, после чего может быть ослаблена гайка с помощью либо консистентной смазки, либо рожка гаечного ключа.

    См. раздел 913-10.

    В случае протечки одного из конических узлов, он должен быть блокирован и отсоединен.

    См. специальные операции для этого действия в разделе 913-10.3.

    Затем отдайте другие гайки обычным способом.

  • 8.   Зацепите кран машинного отделения за приспособление для подъема в верхней части выпускного клапана.
  • 9.   Поднимите крышку цилиндра в сборе и опустите ее, например, на пару деревянных досок.
  • 10.   Снимите и замените уплотняющее кольцо между крышкой цилиндра и втулкой цилиндра.

Монтаж крышки цилиндра (901-1.2)

Монтаж крышки цилиндра

  • 1.   Установите новое уплотнительное кольцо сверху на втулку цилиндра и загните три лепестка на уплотнительном кольце с помощью свинцового молотка.
  • 2.   Поднимите крышку цилиндра краном и тщательно протрите поверхность прилегания к втулке цилиндра. Поставьте новые О-кольца на переливные патрубки охлаждающей воды, смазав их консистентной смазкой или мягким мылом. Осторожно установите крышку на место. Проследите, чтобы переливные патрубки охлаждающей воды правильно вошли в отверстия охлаждающей рубашки.
  • 3.   После монтажа крышки цилиндра на двигатель перед установкой гаек следует положить гидравлическое кольцо с помощью двух рым-болтов. После установки кольца рым-болты следует удалить.
  • 4.   Наверните гайки на шпильки крышки и заверните их с помощью воротка, вставленного во внутренние гайки.
  • Внимание! Проверьте, чтобы внутренние гайки плотно прилегали к поршням. Затем отверните внутренние гайки на пол-оборота. Проверьте, чтобы наружные гайки были полностью свободны.

    Соедините насос высокого давления с замковой муфтой. Провентилируйте гидравлическую систему, затем поднимите давление как указано на D-1. Затяните внешние гайки на гидрокольце, затем снимите давление в системе.

    Примечание.

    Чтобы облегчить монтаж и демонтаж фланцевых соединений и предотвратить заедание из-за нагрева, нанесите противонагарную смазку на:

    • прилегающие поверхности фланцев (между коллектором выпускных газов и патрубком)
    • внутреннюю поверхность хомута
    • резьбу зажимных винтов
    • болты между патрубком и выпускным клапаном из «Never Seez NS160» или подобного состава.
  • 5.  Установите патрубок между коллектором выпускных газов и выпускным клапаном. Подгоните патрубок так, чтобы отверстия фланца патрубка совпали с осями резьбовых отверстий выпускного клапана. Вставьте болты с шайбами во фланцы между патрубком и выпускным клапаном и затяните болты крест на крест.
  • 6.  При монтаже соединительного хомута компенсатора с патрубком и выпускным клапаном в ряде случаев может оказаться необходимым использовать приспособление «удлинитель компенсатора». Установите болт и гайку в угловую скобу на фланце компенсатора вместе с «удлинителем компенсатора» и используйте эти приспособления для подгонки компенсатора к патрубку выпускного клапана.
  • 7.   Установите изолирующий кожух, присоедините выходные трубы охлаждающей воды. Установите сливную трубу масла, трубу уплотняющего воздуха и воздушную трубу пневмомеханизма выпускного клапана. Установите трубу пускового воздуха и трубу управляющего воздуха пускового клапана.
  • 8.   Установите и подгоните трубу высокого давления гидропривода, после чего закрепите ее (см. операцию 908-1).
  • Установите топливную трубку высокого давления между форсункой и топливным насосом (проверяя, чтобы трубка была хорошо подогнана к посадочным гнездам и чтобы все части были чистыми и снабжены О-кольцами). Поднимите накидную гайку на трубе и затяните штуцер ключом со специальной головкой и динамометрическим ключом (см. данные по усилию затяжки).

    Опустите накидную гайку и навинтите ее на штуцер с помощью крючкового ключа.

    Подсоедините выпускную трубу к трубе возвратного топлива на форсунках. Подсоедините воздушные шланги и выпускные трубы к системе сигнализации топлива. Закройте сливные клапаны и откройте вход охлаждающей воды. После вентиляции секции цилиндра закройте вентиляционные краны и откройте выпускной клапан охлаждающей воды.

    Откройте топливо, смазочное масло и воздух к системе сигнализации.

    Внимание! Воздух к выпускному клапану обязательно должен подведен до запуска масляных насосов распределительного вала. Это весьма важно, т.к. иначе клапан будет открыт больше нормы.

Замена клапанов на крышке цилиндра

Замена клапанов на крышке цилиндра

Замена форсунки (901-2.1)

Замена форсунки

  • 1.   Закройте клапаны подвода и отвода топлива, осушите трубку высокого давления и форсунку.
  • Отвинтите накидную (соединительную) гайку с помощью крючкового ключа и поднимите ее по трубе с защитным шлангом. Отвинтите штуцеры с обоих концов трубы (со стороны форсунки и топливного насоса).

    Снимите трубку высокого давления.

    Отсоедините трубу возврата топлива от форсунки. Отвинтите гайки на корпусах пружин и снимите корпуса.

  • 2.   Снимите форсунку. Если форсунка застревает, используйте два подъемных приспособления (на иллюстрации показано как расположить и использовать одно из таких приспособлений).
  • 3.   Тщательно очистите отверстие под форсунку в крышке цилиндра и проверьте место установки на наличие рисок; в случае обнаружения их необходимо устранить. (О восстановлении отверстия под форсунку в крышке цилиндра см. операцию 901-3).
  • После восстановления места посадки в отверстии крышки цилиндра и тщательной очистки отверстия и места посадки подготовьте перебранную форсунку к монтажу (о переборке см. операцию 909-6), установив новые О-кольца и смазав ее дисульфидом молибдена (MoS2).

    Установите форсунку в крышку цилиндра.

  • 4.   Установите пружинные корпуса и затяните крепежные гайки до тех пор, пока верхняя поверхность упорного седла форсунки не встанет вровень с верхней поверхностью пружинного корпуса.
  • Это должно быть сделано очень тщательно, т.к. сжатие пружины в корпусе определяет правильное прилегание форсунки к крышке цилиндра, а также правильное сжатие форсунки.

  • 5.   Проверьте топливную трубку высокого давления на наличие рисок (вмятин и т.п.) на посадочных поверхностях, замените О-кольца на трубке высокого давления (о переборке трубки высокого давления, перепускного клапана и восстановлении посадочных гнезд в верхней части крышки см. операцию 909-3).
  • 6.   Проверьте подгонку трубки высокого давления и повторно подсоедините трубку. Затяните штуцеры моментом, указанным на листе данных. (Используйте ключ со специальной головкой).
  • Затяните соединительные гайки сопрягаемых частей крючковым ключом. (Иллюстрация показывает, как подсоединить трубку высокого давления к форсунке; подсоединение ее к крышке ТНВД производится таким же образом, затяжка штуцеров осуществляется тем же крутящим моментом).

    Вновь подсоедините трубу возврата топлива к форсунке.

    Откройте подачу топлива.

Замена пускового клапана (901-2.2)

Замена пускового клапана

  • 1.   Закройте подвод пускового воздуха и управляющего воздуха.
  • Демонтируйте трубу управляющего воздуха.

    Отвинтите крепежные гайки на фланце пускового клапана.

    2.   Установить два рым-болта в верхней крышке клапана. С помощью троса поднимите пусковой клапан.

    3.   Тщательно очистите отверстие под пусковой клапан в крышке цилиндра и, если необходимо, восстановите седло пускового клапана в отверстии, см. операцию 901-3.

    После установки нового О-кольца смажьте перебранный пусковой клапан дисульфидом молибдена (MoS2) (о переборке см. операцию 907-4). Затем установите клапан в отверстие крышки цилиндра.

  • 4.   Навинтите гайки и затяните их поочередно по крайней мере в три приема на угол 40 градусов.
  • Снова отпустите гайки и повторите операцию до достижения полного угла/мо-мента затяжки, см. Данные.

    Установите трубы управляющего воздуха и откройте пусковой воздух и воздух управления.

Замена выпускного клапана (901-2.3)

Замена выпускного клапана

ДЕМОНТАЖ

  • 1.   Закройте подвод и отвод охлаждающей воды, и осушите выпускной клапан. Демонтируйте трубу высокого давления для гидропривода. Отсоедините трубу отвода охлаждающей воды от выпускного клапана. Демонтируйте трубу возврата масла и уплотнительного воздуха выпускного клапана. Демонтируйте воздушную трубу пневмомеханизма выпускного клапана. Снимите кожух с изоляцией с патрубка и снимите зажимное кольцо. Снимите патрубок выпускных газов. См. операцию 901-1.1.
  • 2.   Снимите защитные колпачки со шпилек выпускного клапана и установите четыре гидродомкрата. Подсоедините насос высокого давления к домкратам с помощью распределительного блока и четырех шлангов высокого давления.
  • Спустите воздух из гидравлической системы и поднимите давление до указанной величины (D-4). Затем отдайте и снимите гайки. См. операцию 913-1. Зацепите кран за подъемное приспособление в верхней части клапана и поднимите его.

    Тщательно очистите отверстие под выпускной клапан в крышке цилиндра и восстановите седло и уплотнительные поверхности отверстия, при необходимости (см. операцию 901-3). О переборке выпускного клапана см. операцию 908-2.

МОНТАЖ

Замена выпускного клапана - Монтаж

  • 3.  Поднимите перебранный выпускной клапан с новыми О-кольцами на седле и переливных патрубках. Смажьте все 0-кольца дисульфидом молибдена (MoS2). Установите клапан в отверстие крышки, точно направляя его относительно выпускных фланцев переливных патрубков.
  • Внимание! Перед монтажом клапана на двигатель подсоедините сжатый воздух к пневмомеханизму чтобы во время монтажа выпускной клапан был закрытым.

  • 4.   Установите гайки и гидродомкраты. Поднимите давление до величины, указанной в Данных, и затяните гайки. Снимите давление в системе, отсоедините насос и трубу высокого давления и установите защитные колпачки.
  • При монтаже зажима, соединяющего компенсатор с промежуточным патрубком/выпускным клапаном, в ряде случаев может оказаться необходимым применить «удлинитель компенсатора». Установите болт и гайку в угловую скобу на фланце компенсатора, используя также «удлинитель компенсатора» и с помощью этих приспособлений отцентруйте компенсатор и промежуточный патрубок выпускного клапана.

    Закрепите изолирующий кожух, установите выпускную трубу охлаждающей воды выпускного клапана. Установите трубу возврата масла, трубу уплотнительного воздуха и воздушную трубу пневмомеханизма выпускного клапана. Откройте подачу смазочного масла и охлаждающей воды к выпускному клапану. Отсоедините технологический сжатый воздух и подсоедините штатный подвод воздуха.

    Внимание! Воздух к выпускному клапану должен быть обязательно подведен до запуска масляных насосов распределительного вала. Это очень важно, т.к. иначе клапан будет открыт больше, чем нормально.

Замена предохранительного клапана (901-2.4)

Замена предохранительного клапана

  • 1.   Вывинтите предохранительный клапан из крышки цилиндра. О переборке предохранительного клапана см. операцию 911-1.
  • 2.   Прочистите отверстие в крышке цилиндра и продуйте его чистым воздухом.
  • 3.   Установите перебранный предохранительный клапан в крышку цилиндра.

Переборка крышки цилиндра (901-3)

Переборка крышки цилиндра

Переборка крышки цилиндра

  • 1.   Демонтируйте все клапаны и отсоедините трубы от крышки цилиндра. Демонтируйте все шпильки верхней части крышки цилиндра. Установите рым-болты для подъема гидрокольца в резьбовые отверстия и поднимите кольцо краном.
  • 2.   Восстановите отверстия под клапаны, как описано ниже.
  • 3.   О замене охлаждающей рубашки см. операцию 901-3.2.
  • 4.   Отверстие под форсунку.
  • Приспособление состоит из обычного шпинделя, а также направляющей, фрезы для снятия нагара, фрезы для чистки посадочной поверхности и оправки для притирки.

    Очистите отверстия под форсунки с помощью фрезы для снятия нагара. Если требуется, восстановите посадочную поверхность форсунки, используя соответствующую фрезу.

    Притрите место посадки с помощью оправки для притирки и притирочной пасты (например, карборунда №200).

    После фрезерования/притирки тщательно очистите отверстие и место посадки и проверьте последнее на отсутствие рисок и т.п.

  • 5.   Отверстие под выпускной клапан.
  • Приспособление состоит из стержня с рукояткой и притирочного диска. После очистки отверстия под клапан и места посадки притрите место посадки с помощью кольца и притирочной пасты (например, карборунда №200).

    После притирки тщательно очистите отверстие и место посадки и проверьте место посадки на отсутствие рисок и т.п.

  • 6.   Отверстие под пусковой клапан.
  • Приспособление состоит из направляющей, фрезы и притирочного диска. Рукоятка та же самая, что и для отверстий под форсунки, но применяется также дистанционная проставка.

    Восстановите отверстие под пусковой клапан и место посадки так же, как описано для отверстия под форсунку.

    При замене клапанов на крышке цилиндра, установленной на двигателе (901-2) восстановите отверстия под клапаны/ места посадки так же, как здесь описано, но без демонтажа шпилек.

  • 7.   Очистите отверстия под предохранительный клапан/индикаторный кран.
  • 8.   Установите гидрокольцо с отметкой рабочего давления со стороны распределительного вала.
  • 9.   Установите шпильки клапанов, затяните шпильки моментом затяжки, указанным на листе Данных. Убедитесь в правильной установке шпилек форсунок, D8 (см иллюстрацию).
  • Предохраните отверстия и места установки под выпускной клапан, пусковой клапан и форсунки от повреждений.

  • 10.   Новые или перебранные клапаны следует устанавливать после установки крышки цилиндра на двигатель (о монтаже клапанов см. операцию 901-2).
  • После монтажа крышки цилиндра на двигатель и перед установкой гаек должно быть установлено гидрокольцо с помощью двух рым-болтов.

    После установки кольца рым-болты следует снять. См. операцию 901-1.2.

Замена охлаждающей рубашки (901-3.2)

Замена охлаждающей рубашки

  • 1.   Отдайте четыре болта, крепящих охлаждающую рубашку к крышке цилиндра.
  • 2.   Поднимите крышку цилиндра без охлаждающей рубашки и установите крышку на пару досок. Если охлаждающая рубашка не отделяется, для разъединения ее с крышкой используйте демонтажные болты.
  • 3.   Снимите уплотнительные О-кольца с крышки и тщательно очистите охлаждающую рубашку и крышку цилиндра. Установите на крышку цилиндра новое уплотнительное О-кольцо, хорошо смазанное маслом.
  • 4.   Поднимите крышку цилиндра в такое положение, чтобы направить рубашку/ крышку по направляющему штифту (сторона распределительного вала).
  • Установите и затяните болты охлаждающей рубашки.

Панель крышки цилиндра

Крышка цилиндра - приспособления

Крышка цилиндра – дополнительные приспособления

Литература

Инструкция для главных двигателей типа 50-98МС. Издание 8С

MirMarine
MirMarine – образовательный морской сайт для моряков.
На нашем сайте вы найдете статьи по судостроению, судоремонту и истории мирового морского флота. Характеристики судовых двигателей, особенности устройства вспомогательных механизмов и систем.