MAN B&W 50-98MC: Система продувочного воздуха двигателя

Содержание

  1. Воздухоохладитель (кормовой конец) 910-5
  2. Очистка воздухоохладителя (кормовой конец) 910-5.1
  3. Замена элемента воздухоохладителя (кормовой конец) 910-5.2
  4. Сухая очистка турбины турбонагнетателя (кормовой конец) 910-5.3
  5. Воздухоохладитель (сторона выпуска) 910-5
  6. Очистка воздухоохладителя (сторона выпуска) 910-5.1
  7. Замена элемента воздухоохладителя (сторона выпуска) 910-5.2
  8. Сухая чистка турбины турбонагнетателя (сторона выпуска) 910-5.3
  9. Замена невозвратного клапана 910-6
  10. Замена вспомогательной воздуходувки 910-8
  11. Функциональная проверка шиберных заслонок 910-9

Цель - представить общую информацию о конструкции и обслуживании двухтактных крейцкопфных двигателей фирмы MAN B&W Diesel. Содержание статьи подготовлено на основе стандартного двигателя типа S60MC, но она не подлежит использованию для какого-либо определенного двигателя.

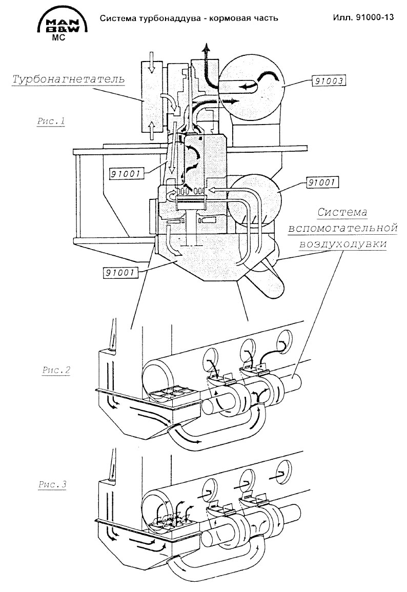
В двигатель подается продувочный воздух от одного или двух турбонагнетателей, расположенных на стороне выпуска.

Как вариант, турбонагнетатель может быть установлен в кормовой части двигателя.

Выпускной газ двигателя приводит в действие турбину турбонагнетателя а, через общий вал, турбина приводит компрессор.

Компрессор забирает воздух из машинного отделения через воздушные фильтры. Из компрессора воздух проходит через трубу наддувочного воздуха в охладитель наддувочного воздуха (Илл. 91005), где воздух охлаждается.

Труба наддувочного воздуха с компенсатором изолирована и может быть покрыта изнутри шумопоглощающим материалом.

Воздухоохладитель сконструирован так, что он отделяет конденсат от воздуха. См. также «Охладитель наддувочного воздуха» в настоящей главе.

Воздух нагнетается в ресивер продувочного (наддувочного) воздуха через блок клапанов, установленный внизу ресивера. Блок клапанов имеет несколько невозвратных клапанов (створчатых клапанов - «хлопушек»), которые открываются под давлением воздуха от турбонагнетателя.

Из ресивера продувочного воздуха воздух поступает в цилиндр через продувочные окна, когда поршень находится в нижнем положении. Когда выпускные клапаны открыты, выпускной газ нагнетается в общий коллектор выпускных газов (Илл. 91003), откуда газ поступает к турбине турбонагнетателя при постоянном давлении.

РЕСИВЕР ПРОДУВОЧНОГО ВОЗДУХА

Илл. 91001

Ресивер продувочного воздуха представляет собой контейнер большого объема. Он приболчен к блокам цилиндра.

Продувочный воздух собирается в ресивере после прохождения через охладитель, влагоуловитель и блок клапанов.

Ресивер и блоки цилиндров сообщаются между собой через круглые окна.

Под ресивером продувочного воздуха или с обоих концов ресивера расположены две вспомогательных воздуходувки. Всасывающая сторона вспомогательных воздуходувок соединена с полостью под невозвратными клапанами блока клапанов всасывающей трубой. Напорная сторона соединена с ресивером продувочного воздуха.

На всасывающей трубе каждой из вспомогательных воздуходувок установлен невозвратный клапан, чтобы предотвратить обратный поток воздуха. См. также параграф «Невозвратные клапаны» ниже.

Ресивер продувочного воздуха оборудован смотровыми крышками, а также предохранительным клапаном (Илл. 91103).

РАБОТА С ВСПОМОГАТЕЛЬНЫМИ ВОЗДУХОДУВКАМИ

Во время пуска двигателя или когда частота вращения двигателя слишком мала, чтобы турбонагнетатель подавал достаточное количество воздуха для работы двигателя, автоматически пускаются вспомогательные воздуходувки.

При своей работе вспомогательные воздуходувки забирают воздух из машинного отделения через воздушный фильтр турбонагнетателя и компрессор.

Это позволяет поддерживать приемлемую частоту вращения турбонагнетателя во время пуска и на малых нагрузках.

Воздух проходит через трубу наддувочного воздуха, охладитель наддувочного воздуха, влагоуловитель и всасывающую трубу на всасывании воздуходувок. От воздуходувок воздух поступает в ресивер продувочного воздуха.

Невозвратные клапаны, установленные в блоке клапанов в ресивере продувочного воздуха, в это время закрыты благодаря частичному вакууму и под действием сил тяжести заслонок.

Если невозвратные клапаны не закрыты, обнаружится недостаток в количестве подаваемого воздуха.

НЕВОЗВРАТНЫЕ КЛАПАНЫ

Крайне важно, чтобы невозвратные клапаны вспомогательных воздуходувок всегда правильно функционировали и легко двигались. Это проверяется движением клапанов вручную.

Невозвратные клапаны защищают воздуходувки и двигатель во время:

  • Пуска вспомогательных воздуходувок
  • Работы с вспомогательными воздуходувками.

Пуск вспомогательных воздуходувок:

1) Из-за сравнительно больших пусковых токов воздуходувки пускаются последовательно, через 6-10 секунд.

Невозвратный клапан воздуходувки, которая еще не пущена, должен быть в закрытом положении, чтобы предотвратить обратное вращение воздуходувки. В противном случае есть риск сжечь электродвигатель при его пуске.

2) Если вспомогательную воздуходувку не удается пустить, невозвратный клапан должен быть в закрытом положении. В противном случае работающая воздуходувка не сможет забрать свежий воздух через турбонагнетатель и воздухоохладитель. Это происходит из-за разницы в сопротивлении воздушного потока.

Работа с вспомогательными воздуходувками:

В случае неисправности вспомогательной воздуходувки во время работы невозвратный клапан должен закрыться, чтобы обеспечить подачу свежего воздуха в двигатель. См. «Пуск вспомогательных воздуходувок», п.2, выше.

КОЛЛЕКТОР ВЫПУСКНЫХ ГАЗОВ

Илл. 91003

От выпускных клапанов выпускной газ направляется в коллектор выпускных газов, где их пульсирующее давление от отдельных выпускных клапанов выравнивается, и затем газ подается к турбонагнетателю при постоянном давлении.

Коллектор выпускных газов крепится по месту на гибких опорах. Между коллектором и выпускными клапанами, а также между коллектором и турбонагнетателем установлены компенсаторы.

Внутри коллектора выпускных газов перед турбонагнетателем установлена защитная сетка.

Для быстрого монтажа и демонтажа соединений между коллектором и выпускными клапанами применяются зажимные кольца для скрепления деталей. Коллектор выпускных газов и выпускная труба изолированы.

Выпускной коллектор может быть снабжен байпасными фланцами для:

  • аварийной работы без турбонагнетателей
  • оптимизации расхода топлива при работе на частичной нагрузке
  • турбокомпаундной системы (ТКС).

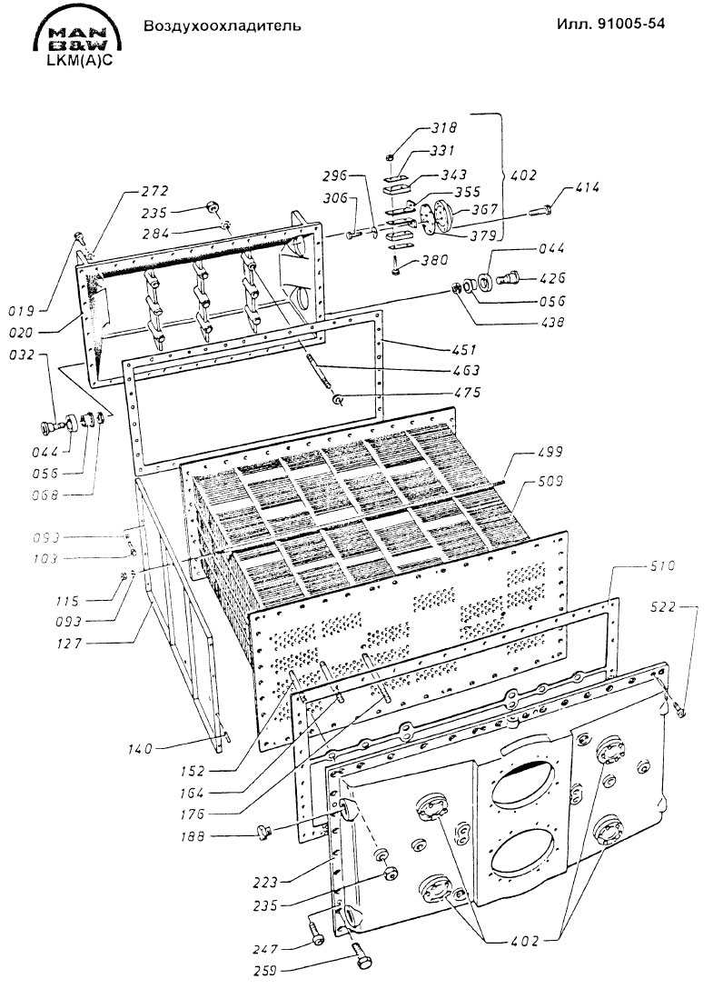
ОХЛАДИТЕЛЬ НАДДУВОЧНОГО ВОЗДУХА

Илл. 91005 тип L-KM

Элемент охладителя наддувочного воздуха блочного типа. Он установлен в корпусе, сваренном из стальных пластин.

Корпус охладителя снабжен смотровыми крышками.

Очистку элементов охладителя можно выполнять при неработающем двигателе, с помощью встроенного разбрызгивающего устройства, с и без выема элемента охладителя.

Охладитель имеет камеру поворота воздуха со встроенным влагоуловителем. Влагоуловитель состоит из ряда пластин, которые отделяют сконденсировавшуюся воду продувочного воздуха во время прохождения воздушного потока.

Отсепарированная вода собирается на дне корпуса охладителя, откуда она удаляется дренажной системой.

Внимание!

Важно проверять правильное функционирование дренажа, т.к. в цилиндр могут попасть капельки воды.

Можно установить сигнальное устройство избытка сливаемой воды.

См. также раздел «Очистка турбонагнетателей и воздухоохладителей» в статье «Оценка Параметров Двигателя и Эксплуатация 706».

EI. ПАНЕЛИ ВСПОМОГАТЕЛЬНОЙ ВОЗДУХОДУВКИ

См. специальную инструкцию, поставляемую изготовителем двигателя.

Система турбонаддува – задняя часть

Система турбонаддува – кормовая часть

Система продувочного воздуха

Ресивер продувочного воздуха

Выпускной коллектор

Выпускные трубы и коллектор

Воздухоохладитель

Воздухоохладитель

Шиберная заслонка

Воздухоохладитель (кормовой конец) 910-5

Воздухоохладитель (кормовой конец)

Очистка воздухоохладителя (кормовой конец) 910-5.1

Очистка воздухоохладителя (кормовой конец)

ОЧИСТКА ВОЗДУШНОЙ СТОРОНЫ:

Воздушная сторона охладителя чистится впрыскиванием химической жидкости через разбрызгиватель, прикрепленный к воздушной камере над элементом охладителя.

Рекомендуется использовать одну из нижеприведенных химических жидкостей или аналогичный продукт.

  • 1) Продукт: АСС 9, производимый фирмой «Drew Chemical Corp.», Нью-Йорк, США
  • 2) Продукт: 80В, производимый фирмой «Vecom Int.», Мааслуис, Голландия.

Очистку следует выполнять в следующей последовательности:

  • 1.  Не начинайте очистку ранее, чем через 30 минут после остановки двигателя. Не отсоединяйте подачу сжатого воздуха к выпускному клапану.
  • 2.  Следуйте подробной инструкции по очистке, помещенной на трубе очистки на двигателе. Чтобы обеспечить удовлетворительное разбрызгивание чистящей жидкости, давление циркуляционного насоса должно быть не менее 0,7 бар.
  • 3.  Продолжайте процесс очистки не менее 30 минут. Требуемое время зависит от частоты проведения очистки и применяемого химического продукта.
  • 4.  После очистки промойте охладитель чистой водой, пока вода через смотровые окна не будет выходить чистой.
  • 5.  Контроль производится либо со снятием крышки с верхней части охладителя, либо с демонтажем трубопровода наддувочного воздуха.

ОЧИСТКА ВОДЯНОЙ СТОРОНЫ:

  • 1.  Закройте клапаны входа и выхода охлаждающей воды. Слейте охлаждающую воду через винтовые пробки на боковых сторонах концевой крышки.
  • 2.  Снимите крышки с заднего конца водяных камер охладителя. Доступ к крышкам камер поворота потока воды обеспечивается через крышки на корпусе охладителя.
  • Протекторы прикреплены болтами к крышкам и снимаются вместе с ними.
  • Любая грязь, скопившаяся в камере поворота потока воды, удаляется через смотровое окно.
  • 3.  Замените протекторы при необходимости.
  • 4.  Осмотрите через окна поверхности крышек на эрозию, не загрязнены ли охладители и не образовалась ли накипь на трубках охладителя.
  • 5.  Если обнаружена грязь, нужно снять концевую крышку охладителя. Очистите внутреннюю поверхность труб с помощью поставляемой щетки, которая устанавливается на дрели.
  • Любая грязь, найденная в камере поворота потока воды, удаляется через смотровое окно на боковой стороне.
  • 6.  В случае протечек между трубками охладителя и трубной доской следует развальцевать трубки вальцовкой.
  • Для этой цели нужно вынуть элемент охладителя. (См. «Замена элемента воздухоохладителя», Демонтаж).

Примечание:

В отношении литых частей охладителя:

Внутреннее покрытие должно быть восстановлено с использованием прежнего или аналогичного продукта.

Замена элемента воздухоохладителя (кормовой конец) 910-5.2

Замена элемента воздухоохладителя (кормовой конец)

Обычно элемент охладителя не должен демонтироваться с целью осмотра.

Только если элемент охладителя поврежден, его нужно демонтировать для замены.

ДЕМОНТАЖ:

  • 1.  Закройте клапаны на входе и выходе охлаждающей воды.
  • Слейте охлаждающую воду через винтовые пробки на концевой крышке.
  • 2.  Демонтируйте трубы подвода и отвода охлаждающей воды.
  • Снимите болты с концевой крышки и снимите крышку с корпуса охладителя. Выбросите прокладку.
  • 3.  Установите две балки (рельсы) с направляющими наверху, на площадке.
  • 4.  Установите пару катков для наружной трубной доски и затяните упорные болты, чтобы катки поддерживали элемент охладителя.
  • 5.  Удалите четыре болта, которые крепят элемент охладителя к корпусу охладителя.
  • 6.  Отожмите элемент охладителя с помощью демонтажных болтов.
  • 7.  Вытяните элемент охладителя наполовину из корпуса охладителя, проверяя при этом, чтобы наружная пара колес направлялась между двумя направляющими балок (рельс).
  • 8.  Когда элемент охладителя вынут наполовину, установите опоры, по которым может двигаться внутренняя пара колес.

МОНТАЖ:

  • 9.  Монтаж производится в порядке, обратном демонтажу.
  • Повесьте новую прокладку на четыре болта, которые крепят элемент охладителя к корпусу охладителя, и затяните концевую крышку, а также трубопроводы подвода и отвода воды.

Сухая очистка турбины турбонагнетателя (кормовой конец) 910-5.3

Сухая очистка турбины турбонагнетателя

Для сухой очистки используются сухие, твердые гранулы, которые, при продувании их через турбонагнетатель, удаляют большую часть отложений, которые могут образоваться на соплах и рабочих лопатках турбины.

Вследствие их твердости особенно подходящими для продувания являются ореховая скорлупа, раздробленные или сформированные искусственно кусочки активированного древесного угля размером 1,0-1,5 мм.

Мы рекомендуем не применять в качестве чистящих материалов рис или зерно, т.к. они могут налипнуть в утилизационном котле.

С помощью такой операции не всегда возможно удалить более толстые отложения. Поэтому, чтобы предотвратить образование таких толстых отложений, турбину придется очищать через каждые 24-50 часов работы.

Как правило, очистка может выполняться без снижения или при очень малом снижении нагрузки двигателя.

Более подробная информация о количестве гранул, которое нужно использовать, приведена на табличке, расположенной у турбонагнетателя.

На двигателях, оборудованных более чем одним турбонагнетателем, турбонагнетатели очищаются один за другим.

ПРОЦЕСС ОЧИСТКИ:

  • 1.  Закройте клапан А.
  • 2.  Откройте клапаны В и С и выдуйте все отложения и/или конденсат из соединительной трубы.
  • Закройте клапаны В и С примерно через две минуты.
  • 3.  Медленно откройте клапан А, чтобы снять давление в резервуаре.
  • 4.  Наполните контейнер гранулами в количестве, указанном на табличке у турбонагнетателя.
  • 5.  Закройте клапан А.
  • 6.  Турбонагнетатель можно очищать при нормальной эксплуатационной нагрузке.
  • 7.  Откройте клапаны В и С и продуйте предварительно загруженные гранулы через турбонагнетатель.
  • Закройте клапаны В и С через 1-1,5 минуты.
  • 8.  Медленно откройте клапан А, чтобы снять давление в резервуаре.
  • 9.  Очистку повторяйте через каждые 24-50 часов работы.

Внимание:

1. Дренажные отверстия в газовых коробках должны оставаться закрытыми во время сухой очистки турбины.

2. Возможно, что во время сухой очистки турбины некоторые из продуваемых твердых частиц или искры будут проскакивать через дымовую трубу.

Воздухоохладитель (сторона выпуска) 910-5

Воздухоохладитель (сторона выпуска)

Очистка воздухоохладителя (сторона выпуска) 910-5.1

Очистка воздухоохладителя (сторона выпуска)

ОЧИСТКА ВОЗДУШНОЙ СТОРОНЫ:

Воздушная сторона охладителя очищается впрыскиванием химической жидкости через разбрызгиватель, прикрепленный к воздушной камере над элементом охладителя.

Рекомендуется использовать одну из нижеприведенных химических жидкостей или аналогичный продукт.

  • 1) Продукт: АСС 9, производимый фирмой «Drew Chemical Corp.», Нью-Йорк, США
  • 2) Продукт: 80В, производимый фирмой «Vecom Int.», Мааслуис, Голландия.

Очистку следует выполнять в следующей последовательности:

  • 1.  Не начинайте очистку ранее, чем 30 минут после остановки двигателя. Не отсоединяйте подачу сжатого воздуха к выпускному клапану.
  • 2.  Следуйте подробной инструкции по очистке, помещенной на трубе очистки на двигателе. Чтобы обеспечить удовлетворительное разбрызгивание чистящей жидкости, давление циркуляционного насоса должно быть не менее 0,7 бар.
  • 3.  Продолжайте процесс очистки не менее 30 минут. Требуемое время зависит от частоты проведения очистки и применяемого химического продукта.
  • 4.  После очистки промойте охладитель чистой водой, пока вода через смотровые окна не будет выходить чистой.
  • 5.  Контроль производится либо со снятием крышки с верхней части охладителя, либо с демонтажем трубопровода наддувочного воздуха.

Очистка воздухоохладителя (сторона выпуска)

ОЧИСТКА ВОДЯНОЙ СТОРОНЫ:

Закройте клапаны входа и выхода охлаждающей воды. Слейте охлаждающую воду через винтовые пробки.

ОПУСКАНИЕ КАМЕРЫ ПОВОРОТА ПОТОКА ВОДЫ:

Установите винтовую скобу в верхней части концевой крышки корпуса охладителя. Подвесьте таль к проушине на кронштейне охладителя. Закрепите крюк цепи за скобу. Снимите болты с концевой крышки и опустите крышку. Установите вторую скобу в верхней части камеры поворота потока воды и опустите ее тем же способом после снятия болтов.

ОПУСКАНИЕ ВПУСКНОЙ И ВЫПУСКНОЙ КОНЦЕВОЙ КРЫШКИ:

Присоедините рым-болт к верху концевой крышки. Закрепите таль к проушине внутри кронштейна охладителя. Прикрепите крюк цепи к скобе и снимите болты с концевой крышки и с входного и выходного клапанов. Затем опустите концевую крышку.

ОЧИСТКА ВОДЯНОЙ СТОРОНЫ:

С помощью щетки, закрепленной в дрели, трубы должны быть очищены изнутри. В случае протечек между охлаждающей трубой и трубной доской следует развальцевать трубки вальцовкой. Концевая крышка и камера поворота потока воды должны очищаться изнутри жесткой щеткой и промываться свежей водой.

Установка концевой крышки и камеры поворота потока воды:

Крышки устанавливаются в порядке, обратном демонтажу.

Примечание:

В отношении литых частей охладителя: внутреннее покрытие должно быть восстановлено с использованием первоначального или подобного продукта.

При необходимости замените протекторы.

Замена элемента воздухоохладителя (сторона выпуска) 910-5.2

Замена элемента воздухоохладителя (сторона выпуска)

Обычно элемент охладителя не должен демонтироваться с целью осмотра.

Только если элемент охладителя поврежден, его нужно демонтировать для замены.

ДЕМОНТАЖ:

  • 1.  Закройте клапаны на входе и выходе охлаждающей воды.
  • Слейте охлаждающую воду через винтовые пробки на концевой крышке.
  • 2.  Демонтируйте трубы подвода и отвода охлаждающей воды.
  • Снимите боковую крышку, концевую крышку, камеру поворота потока воды и водяную камеру на переднем конце воздухоохладителя.
  • Установите пару колес для внутренней трубной доски и затяните упорные болты, чтобы колеса поддерживали элемент охладителя.
  • 3.  Установите две балки (рельсы) с направляющими наверху, на площадке.
  • 4.  Установите пару колес для наружной трубной доски и затяните упорные болты, чтобы колеса поддерживали элемент охладителя.
  • 5.  Удалите четыре болта, которые крепят элемент охладителя к корпусу охладителя.
  • 6.  Отожмите элемент охладителя с помощью демонтажных болтов.
  • 7.  Вытяните элемент охладителя наполовину из корпуса охладителя, проверяя при этом чтобы наружная пара колес направлялась между двумя направляющими балками (рельсами).
  • 8.  Когда элемент охладителя вынут наполовину, установите опоры, по которым может двигаться внутренняя пара колес.

МОНТАЖ:

  • 9.  Монтаж производится в порядке, обратном демонтажу.
  • Повесьте новую прокладку на четыре болта, которые крепят элемент охладителя к корпусу охладителя, и затяните концевую крышку, а также трубопроводы подвода и отвода воды.

Сухая чистка турбины турбонагнетателя (сторона выпуска) 910-5.3

Сухая чистка турбины турбонагнетателя (сторона выпуска)

Для сухой очистки используются сухие, твердые гранулы, которые, при продувании их через турбонагнетатель, удаляют большую часть отложений, которые могут образоваться на сопловых и рабочих лопатках турбины.

Из-за их твердости особенно подходящими являются ореховая скорлупа, или раздробленные или сформированные искусственно кусочки активированного древесного угля размером 1,0-1,5 мм.

Мы рекомендуем не применять в качестве чистящих материалов рис или зерно, т.к. они могут налипнуть в утилизационном котле.

С помощью такой операции не всегда возможно удалить более толстые отложения. Поэтому, чтобы предотвратить образование таких толстых отложений, турбину придется очищать через каждые 24-50 часов работы.

Как правило, очистка может выполняться без снижения или при очень малом снижении нагрузки двигателя.

Более подробная информация о количестве гранул, которое нужно использовать, приведена на табличке, расположенной на турбонагнетателе.

На двигателях, оборудованных более чем одним турбонагнетателем, турбонагнетатели очищаются один за другим.

ПРОЦЕСС ОЧИСТКИ:

  • 1.  Закройте клапан А.
  • 2.  Откройте клапаны В и С и выдуйте все отложения и/или конденсат из соединительной трубы.
  • Закройте клапаны В и С примерно через две минуты.
  • 3.  Медленно откройте клапан А, чтобы снять давление в резервуаре.
  • 4.  Наполните контейнер гранулами в количестве, указанном на табличке у турбонагнетателя.
  • 5.  Закройте клапан А.
  • 6.  Турбонагнетатель можно очищать при нормальной эксплуатационной нагрузке.
  • 7.  Откройте клапаны В и С и продуйте предварительно загруженные гранулы через турбонагнетатель.
  • Закройте клапаны В и С через 1-1,5 минуты.
  • 8.  Медленно откройте клапан А, чтобы снять давление в резервуаре.
  • 9.  Очистку повторяйте через каждые 24-50 часов работы.

Внимание:

1. Дренажные отверстия в газовых кожухах должны оставаться закрытыми во время сухой очистки турбины.

2. Возможно, что во время сухой очистки турбины некоторые из продуваемых твердых частиц или искры будут проскакивать через дымовую трубу.

Замена невозвратного клапана 910-6

Замена невозвратного клапана

Замена невозвратного клапана

Доступ к невозвратным клапанам в ресивере продувочного воздуха возможен после остановки двигателя через смотровые окна ресивера.

Прим.: Доступ в ресивер продувочного воздуха не должен производиться, пока воздух в ресивере не будет чистым.

Замена невозвратного клапана в сборе:

Ослабьте и снимите болты с ограждения вокруг клапанов внизу воздушного ресивера. Затем снимите ограждение.

Снимите два крайних болта и средний болт (крепит клапан в сборе к корпусу). Поднимите клапан в сборе и установите вместо него новый клапан в сборе.

Переборка невозвратного клапана в сборе:

Выбейте пружинный штифт, который удерживает ось заслонки клапана и выдавите ось. Теперь заслонка клапана свободна и может быть заменена.

Для дальнейшего демонтажа снимите два болта, которые скрепляют детали, образующие единый комплект.

При монтаже вновь застопорьте ось заслонки клапана с помощью пружинного штифта.

Наконец, установите ограждение вокруг клапана.

Замена невозвратного клапана

Доступ к невозвратным клапанам в ресивере продувочного воздуха возможен после остановки двигателя через смотровые окна ресивера.

Внимание:

Доступ в ресивер продувочного воздуха не должен производиться, пока воздух в ресивере не будет чистым.

Замена узла невозвратного клапана:

Снимите два крайних болта и средний болт (крепит клапан к корпусу).

Поднимите клапан в сборе и установите вместо него новый клапан в сборе.

Переборка невозвратного клапана в сборе:

Выбейте пружинный штифт, который удерживает ось заслонки клапана, и выдавите ось. Теперь заслонка клапана свободна и может быть заменена.

Для дальнейшего демонтажа снимите два болта, которые скрепляют детали, образующие один комплект.

При монтаже вновь застопорьте ось заслонки клапана с помощью пружинного штифта.

Замена вспомогательной воздуходувки 910-8

Замена вспомогательной воздуходувки

Замена вспомогательной воздуходувки

  • 1.  При очистке и осмотре вспомогательной воздуходувки снимите электродвигатель и крылатку воздуходувки как единый узел.
  • 2.  Отсоедините кабель от электродвигателя воздуходувки.
  • Присоедините тросы со скобами к проушинам на фланце воздуходувки и подвесьте две тали за проушины на кронштейне площадки.
  • Снимите болты с фланца крылатки воздуходувки и вытяните электродвигатель с фланцем и крылаткой воздуходувки из концевой крышки, используя две тали.
  • 3.  Осмотрите и очистите крылатку воздуходувки, а также корпус воздуходувки.

Внимание!

Проявляйте осторожность при установке электродвигателя с крылаткой воздуходувки, т.к крылатка должна соединиться с направляющей в корпусе воздуходувки А.

  • Если демонтируется весь узел воздуходувки, сначала нужно снять смотровые крышки с ресивера продувочного воздуха.

Внимание!

Перед тем, как приступить к работе, убедитесь, что воздух в ресивере чист.

  • Подвесьте две тали на проушинах на кронштейне площадки над концевой крышкой.
  • Прикрепите два троса со скобами к проушинам на концевой крышке и зацепите тали.
  • Снимите все болты, удерживающие концевую крышку всасывающей трубы.
  • Концевая крышка в сборе с воздуходувкой теперь может быть отсоединена от всасывающей трубы посредством двух талей. При вытягивании концевой крышки с узлом воздуходувки убедитесь, что корпус воздуходувки отсоединился от воздушной трубы без ее деформирования.
  • 4.  При установке концевой крышки с воздуходувкой в сборе детали должны «направляться» на место осторожно, убеждаясь, что труба в ресивере «схватывается» с направляющими выступами В фланца корпуса воздуходувки.
  • Прокладка С обеспечивает уплотнение между корпусом воздуходувки и трубой.

Замена вспомогательной воздуходувки

Замена вспомогательной воздуходувки

  • 1. При очистке и осмотре вспомогательной воздуходувки отсоедините кабель от электродвигателя воздуходувки. Перед снятием болта во фланце воздуходувки, тросы со скобами, а также две тали, подвешенные за проушины на кронштейне площадки, должны быть прицеплены к фланцу воздуходувки.
  • 2. Концевая крышка в сборе с воздуходувкой может быть теперь отсоединена от всасывающей трубы посредством двух талей. При вытягивании концевой крышки с воздуходувкой в сборе убедитесь, что корпус воздуходувки отсоединился от воздушной трубы без ее деформирования. Осмотрите и очистите колесо воздуходувки, а также ее корпус.

Внимание!

Проявляйте осторожность при установке электродвигателя с крылаткой воздуходувки, т.к крылатка должна «захватить» направляющую в корпусе воздуходувки А.

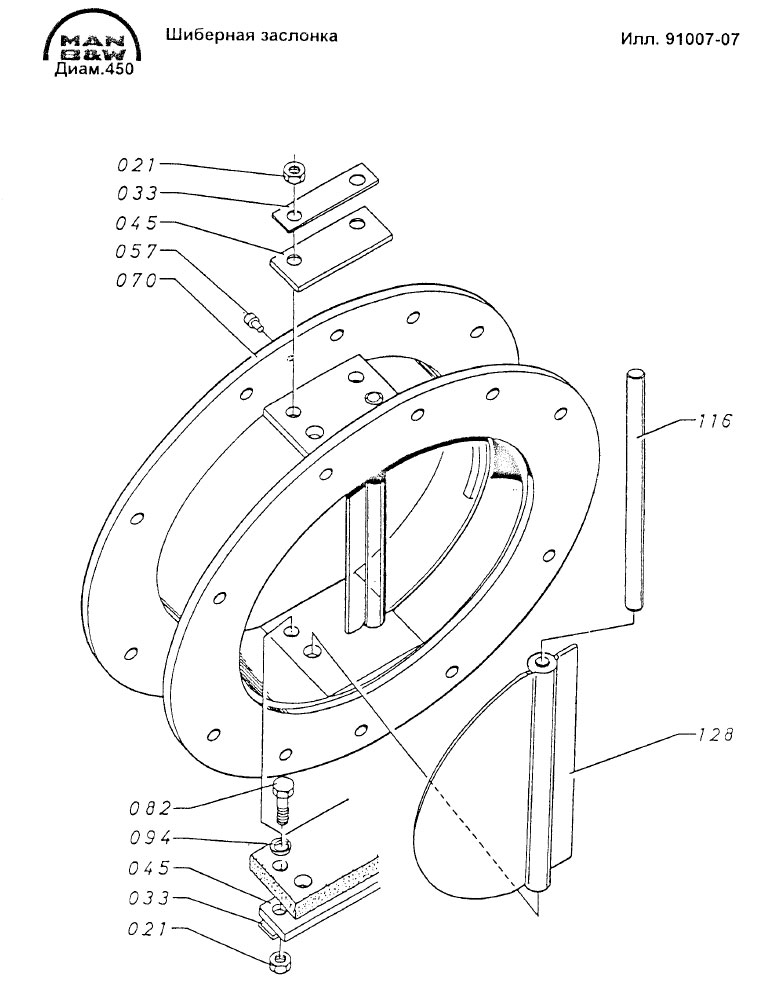
Функциональная проверка шиберных заслонок 910-9

Функциональная проверка шиберных заслонок

Функциональная проверка шиберных заслонок

Важно, чтобы автоматические невозвратные клапаны (шиберные заслонки) всегда функционировали легко и свободно.

Подвижность шиберных заслонок следует поэтому проверять через определенные интервалы. Заслонка будет открываться потоком воздуха от корпуса заслонки к вспомогательной воздуходувке.

Доступ к шиберным заслонкам обеспечивается через смотровые люки ресивера после остановки двигателя, после того, как вы удостоверились, что воздух в ресивере чистый.

Если это невозможно, заслонка должна быть демонтирована и перебрана.

Система турбонаддува - приспособления

Система турбонаддува - приспособления

Литература

Инструкция для главных двигателей типа 50-98МС. Издание 8С

MirMarine
MirMarine – образовательный морской сайт для моряков.
На нашем сайте вы найдете статьи по судостроению, судоремонту и истории мирового морского флота. Характеристики судовых двигателей, особенности устройства вспомогательных механизмов и систем.