Цель - представить общую информацию о конструкции и обслуживании двухтактных крейцкопфных двигателей фирмы MAN B&W Diesel. Содержание статьи подготовлено на основе стандартного двигателя типа S60MC, но она не подлежит использованию для какого-либо определенного двигателя.
ФУНДАМЕНТНАЯ РАМА, КАРТЕР И ПР.
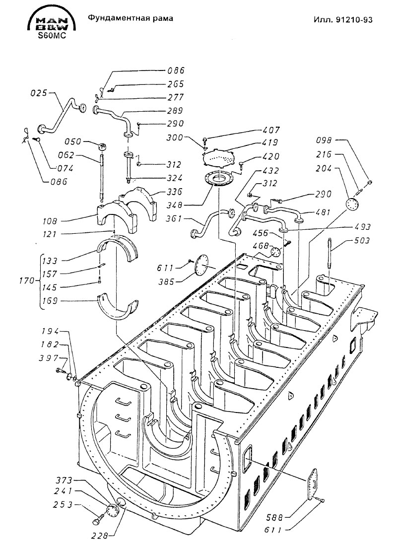
Фундаментная рама изготовлена из одной секции, состоящей из двух сварных продольных балок и ряда поперечных балок, поддерживающих рамовые подшипники. Рамовые подшипники с толстостенными вкладышами состоят из стальных вкладышей, залитых белым металлом, с оловянистым покрытием. Каждый рамовый подшипник имеет две крышки, которые крепятся шпильками и гайками, затягиваемыми гидравлическими приспособлениями.
В кормовом конце фундаментной рамы встроены упорный подшипник, а также цепной привод.
В носовом конце фундаментной рамы расположен демпфер продольных колебаний (Илл. 91211).
Демпфер состоит из поршня и корпуса разъемного типа, расположенного спереди носового рамового подшипника. Поршень выполнен в виде цельного гребня на рамовой шейке, а корпус прикреплен к постели носового рамового подшипника.
Коробка картера крепится болтами к верхней части фундаментной рамы. Как и фундаментная рама, коробка картера состоит из одной секции с цепным приводом, расположенным в кормовом конце. Вместе фундаментная рама и коробка картера образуют картер двигателя.
Картер имеет люки с крышками из стальных листов для доступа к крейцкопфам, а также рамовым подшипникам и мотылевым подшипникам.
Фундаментная рама, коробка картера и блок цилиндров, установленный на коробку картера, стянуты вместе в единый узел с помощью сквозных анкерных связей.
Картер оборудован трубой с прорезью для каждого цилиндра, в которой перемещается выпускная труба охлаждающего масла поршня. Из трубы с прорезью охлаждающее масло направляется через выпускную трубу в поддон фундаментной рамы. На выпускной трубе установлена аппаратура и датчики для местного контроля температуры и потока охлаждающего масла и сигнализации о температуре и потоке.
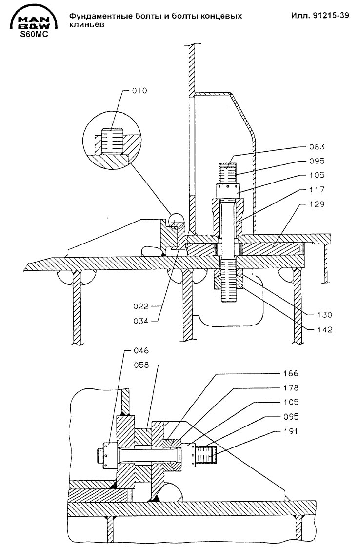
Фундаментная рама расположена на опорных клиньях и крепится к судовому фундаменту двигателя длинными фундаментными болтами с чугунными проставочными втулками.
Верхняя плита судового фундамента двигателя выполнена без уклона.
Если двигатель устанавливается на эпоксидные клинья, у фундаментной рамы нет уклона.
Если двигатель устанавливается на чугунные клинья, клинья и фундаментная рама делаются с наклоном 1:100 с целью пригонки опорных клиньев.
На Илл. 91215 показаны фундаментные болты со сферическими шайбами и гайками со сферической контактной поверхностью на нижнем конце болтов. Поверхности сферической шайбы, прилегающие к верхней плите, должны быть плоскими.
В поперечном направлении двигатель крепится боковыми клиньями, установленными по обе стороны от каждого рамового подшипника. Боковые клинья имеют наклон 1:100 и устанавливаются от кормового конца с обеих сторон двигателя.
В продольном направлении двигатель крепится одним концевым упором с одним болтом концевого клина со сферической прокладкой в кормовом конце каждой из двух продольных балок фундаментной рамы. Концевые клинья имеют наклон 1:100 и устанавливаются сверху.
В части фундамента двигателя определенного типа см. специальные инструкции поставщика.
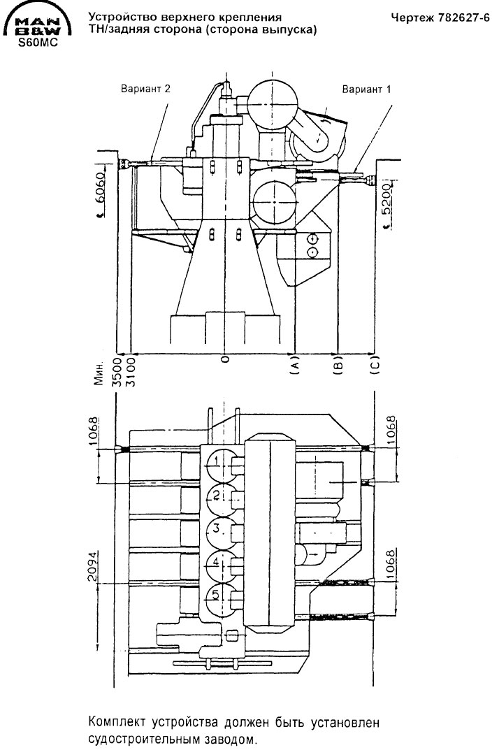
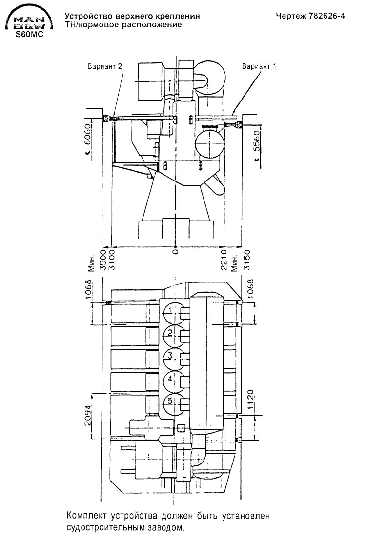
Верхнее крепление главного двигателя
(Работа выполняется судостроительным заводом только по специальному заказу)
Посредством верхнего крепления главного двигателя можно в большинстве случаев получить такую высокую собственную частоту системы «двигатель-корпус судна -днище судна», что нежелательные вибрации верхней части двигателя или корпуса будут устранены.
Верхнее крепление обычно устанавливается на кронштейнах верхней площадки на стороне правого борта (с задней стороны) двигателя. Эти работы выполняется судостроительным заводом в соответствии с нашими чертежами.
Верхнее крепление, включая фрикционные прокладки, подлежит проверке через те же интервалы времени, что и фундаментные болты для того, чтобы убедиться, что усилие затяжки правильное.
Болты верхнего крепления следует затягивать с помощью динамометрического ключа. Усилие затяжки см. чертеж № 785310-4.
Во время ходовых испытаний, после достижения двигателем рабочей температуры, отпускаются два болта фрикционного узла верхнего крепления. Примерно через минуту болты вновь затягивают. Эта операция выполняется для каждого отдельного верхнего крепления.
Если не использованы одно или более звеньев, то момент затяжки остальных звеньев должен быть соответственно увеличен. Если, например, предусмотрены 4 звена, одно не используется, то три оставшихся звена должны быть затянуты еще на 33,3%. Затяжку следует проверять следующим образом:
Проверьте наличие относительного перемещения между верхним креплением и крепежным листом (боковая сторона корпуса или балка). Это может быть произведено с помощью микрометрического индикатора (или другого инструмента), как показано на чертеже № 782561-5. Произведите проверку верхнего крепления у носового конца, в центре и у кормового конца двигателя.
Любое перемещение может быть также замерено с помощью, например, вибрографа ASKANIA с большим передаточным числом, прикрепленного к верхнему креплению так, чтобы обеспечивался контакт с корпусом.
Если выявленные относительные перемещения превышают ± 0,02 мм, увеличьте степень затяжки на 40% (всех верхних креплений). В то же время следите, при каком моменте затяжки всех верхних креплений гайки ослабляются. Если относительное перемещение (после увеличения момента затяжки) еще не устранено, увеличьте момент затяжки еще на 40% и снова определите момент ослабления каждого из болтов.
После некоторого времени эксплуатации верхнее крепление может стать неэффективным (из-за износа фрикционного материала). Поэтому следует проверять затяжку (как описано выше) если:
- 1) наблюдается неожиданное изменение уровня вибрации корпуса или
- 2) турбонагнетатель(и) начинает сильно вибрировать.
Если вышеупомянутое не наблюдается, проверку следует производить один-два раза в год.
Для того, чтобы проверить деформацию судна (изменение формы корпуса) по отношению к верхнему креплению, установите устройство, которое дает возможность измерить возможную деформацию индикатором, как показано на чертеже № 782561-5. Например, два бруска квадратного сечения могут быть приварены к верхнему креплению и месту крепления на корпусе так, чтобы после маркировки, например, керном, можно было бы измерить расстояние между этими метками. Приемлемое расстояние между точками замера должно составлять 200 мм.
Проверка возможной деформации корпуса судна должна производиться 3-4 раза в год. На танкерах следует произвести дополнительные замеры после загрузки и выгрузки, а также после возвращения судна из рейса и плавании в тяжелых штормовых условиях.
При каждом замере следует записывать осадку судна. При обнаружении необычных отклонений следует предпринять особые меры.
Перезатяжка фундаментных болтов и болтов концевых клиньев 912-1
Примечание:
Фундаментные болты и болты концевых клиньев могут иметь одинаковый тип и размер резьбы. Гидравлический домкрат, применяемый для затяжки фундаментных болтов, промаркирован:
- Для: фундаментных болтов
- Для: эпоксидных клиньев
Больший домкрат, применяемый для затяжки болтов концевых клиньев, промаркирован:
- Для: болтов концевых клиньев.
Предостережение:
Случайное применение большего домкрата (предназначенного для болтов концевых клиньев) для фундаментных болтов может вызвать серьезное перенапряжение эпоксидных опорных клиньев.
Гидравлическая затяжка фундаментных болтов и болтов концевых клиньев выполняется так, как детально указано в статье «Инструмент и приспособления общего назначения (913)». Нормальное давление затяжки указано на листе Данных и выбито на приспособлении для затяжки.
Для начальнй затяжки болтов концевых клиньев, давление насоса должно быть повышено до величины, указанной на листе Данных. Затем плотно заверните гайку до упора и полностью снимите давление с гидравлического приспособления. Примерно через две минуты повысьте давление снова, пока гайка не ослабнет. Теперь отрегулируйте давление затяжки до нормального, плотно затяните гайку и освободите систему от давления.
Для начальной затяжки болтов концевых клиньев, как вариант, может быть выполнена следующая операция:
Затяните болты до повышенного давления, указанного на листе Данных и оставьте болты затянутыми так до окончания ходовых испытаний, затем их следует перетянуть при нормальном значении, указанном на листе Данных и на гидравлическом приспособлении для затяжки.
ПРОВЕРКА ЗАТЯЖКИ БОЛТОВ
Фундаментные болты и болты концевых клиньев должны проверяться на правильность затяжки через промежутки времени, указанные на листе Данных.
Для этой цели медленно повышайте давление на гидравлическом приспособлении, постоянно пытаясь ослабить гайку с помощью воротка. Давление масла, показываемое манометром, когда гайка ослабляется («давление ослабления»), следует записать в контрольную таблицу, см. чертежи №№ 782225-0 и 782226-2, в соответствии с которыми болты затягиваются до нормального давления затяжки.
Состояние болтовых соединений и, следовательно, общее состояние фундамента можно эффективно проверить сравнением таблиц положительных проверок болтов.
Если «давление ослабления» ниже 80% давления затяжки, соответствующие клинья должны быть проверены на наличие возможных дефектов. Если клинья на месте и в порядке, следует снять болты для осмотра резьб и контактных поверхностей.
ПРОВЕРКА ЭПОКСИДНЫХ ОПОРНЫХ КЛИНЬЕВ
Если в верхней части фундамента приварены несколько измерительных штифтов, высоты эпоксидных опорных клиньев должны проверяться сразу после окончания проверки давлений ослабления фундаментных болтов и их затяжки.
Расстояние между измерительными штифтами и фундаментной рамой должно замеряться щупом и записываться. Таким образом может быть прослежена любая возможная просадка клиньев в промежутках между замерами.
БОКОВЫЕ УПОРЫ И БОКОВЫЕ КЛИНЬЯ
После установки клиньев на 80% контактной поверхности с обеих сторон клиньев, они должны быть утоплены на 3-4 мм внутрь.
Клинья, расположенные напротив середины рамового подшипника на каждой из боковых сторон двигателя, должны быть установлены и забиты на место одновременно.
Во время первого рейса судна с полным грузом после наработки двигателем 1000 часов, следует проверить все боковые клинья, нельзя ли их еще подбить на место.
Клинья нужно проверять на правильность установки щупом каждый раз, когда проверяется давление ослабления фундаментных болтов, т.е. через те же промежутки времени. Замеры щупом производятся в 7 точках, указанных на чертеже № 782226-2, а результаты замеров записываются в соответствующую таблицу. Они используются для принятия решения о необходимости переустановки или, возможно, замене клиньев.
Если замеры показывают, что в 3 или более точках они увеличились на 0,05 мм или больше от начальных значений, мы рекомендуем провести следующую операцию:
- 1. Ослабьте шестигранные болты.
- 2. Попытайтесь подбить клин на место.
- 3. Сделайте новые замеры в 7 точках, указанных на чертеже № 782226-2.
Если эта операция не улучшает положение, клин должен быть удален и проверен на наличие фактической контактной поверхности более 80% возможных контактных поверхностей на обеих сторонах клина.
Клинья крепятся в правильном положении винтами с шестигранной внутренней головкой и заостренным концом.
Перезатяжка анкерных связей 912-3
- 1. Перед затяжкой анкерных связей удалите защитные колпачки.
- 2. Очистите контактные поверхности и установите гидравлическое приспособление на пару анкерных связей, расположенных напротив друг друга, на середине двигателя. Подсоедините насос высокого давления шлангами высокого давления так, чтобы эти две анкерных связи затягивались одновременно.
- 3. Начните перезатяжку анкерных связей и продолжайте затягивать анкерные связи попарно с середины двигателя сначала к одному концу двигателя, потом снова от середины к другому концу.
- 4. Поддерживайте гидравлическое давление, указанное в D-1, и перезатяните гайки воротком. Перед снятием давления в системе проверьте щупом прилегание гаек к контактным поверхностям.
- 5. Снова подсоедините гидравлическое приспособление к паре анкерных связей, затянутых первыми. Затяните до величины на 10% ниже указанной в D-1 и проверьте, не ослабла ли гайка.
- Если гайка не ослабла:
- Затяните анкерные связи до D-1.
- Если гайка ослабла:
- Затяните все анкерные связи снова до D-1.
- 6. После завершения перезатяжки установите защитные колпачки.
- 7. Анкерные связи монтируются таким образом, чтобы, когда верхняя гайка анкерной связи ослаблена, имеется зазор между контактной поверхностью нижней гайки и фундаментной рамой, равный указанному в D-2.
Литература
Инструкция для главных двигателей типа 50-98МС. Издание 8С