Механизм движения служит для передачи энергии расширяющих газов на коленчатый вал дизеля, т.е. для преобразования поступательного движения поршня во вращательное движение вала. В тронковых двигателях это осуществляется с помощью шатуна, соединяющего поршень с кривошипом коленчатого вала (рис. 8.2).
Механизм движения крейцкопфного дизеля состоит из поршневой группы 1 (рис. 8.1), крейцкопфного узла 2, шатунной группы 3 и коленчатого вала.
У тронковых дизелей механизм движения конструктивно проще, чем у крейцкопфных, высота и масса тронковых дизелей меньше. Однако при диаметрах цилиндра D >500 мм и высоких давлениях сгорания боковая (нормальная) сила N достигает больших значений, вызывая повышенный износ цилиндров и сильные стуки (при изменении направления силы N). Этим в известной мере определяется то, что тронковые двигатели с диаметрами более 620 мм не строятся.
У крейцкопфных дизелей цилиндр разгружен от силы N (передается ползуном на параллель), что позволяет увеличить зазор между поршнем и цилиндром и тем самым уменьшить опасность их задира при перегреве.
Температурные условия работы поршня при прочих равных условиях у тронковых двигателей хуже, так как работа трения направляющей части поршня преобразуется в теплоту и это увеличивает его тепловую нагрузку.
Условия смазки трущейся пары ползун-параллель значительно лучше условий смазки пары поршень-цилиндр, так как в первом случае пара вынесена из зоны цилиндра, поверхность ползуна залита антифрикционным сплавом, а параллель часто охлаждается. Поэтому при одинаковом значении силы N потери на трение у крейцкопфных дизелей ниже и механический кпд на 2-4 % выше, чем у тронковых дизелей.
У крейцкопфных дизелей облегчен контроль за состоянием трущейся пары. Картер отделен от цилиндров диафрагмами, что предотвращает смешивание циркуляционного смазочного масла с отработавшим грязным цилиндровым маслом (это особенно важно при работе на сернистых сортах топлива).
Шатуны
Шатуны служат для преобразования прямолинейного возратно-поступательного движения поршня во вращательное движение коленчатого вала и передачи ему сил давления газов и инерции поступательно движущихся и вращающихся масс. Шатун включает верхнюю и нижнюю головки с запрессованными в них подшипниками и соединяющий их стержень круглого или двутаврового сечения. Нижняя головка разъемная и скрепляется шатунными болтами.
Шатуны тронковых (рис. 8.2а) и крейцкопфных двигателей отличаются конструкцией верхней головки (рис. 8.2в), в последних головка разъемная и имеет вильчатую форму, так как в ней крепится крейцкопфный узел.
К конструкции шатунов предъявляют следующие основные требования: высокая жесткость и прочность головок шатуна и его стержня при возможно меньшей массе (для уменьшения сил инерции); габариты нижней головки (в тронковых дизелях) должны позволять демонтаж шатуна вместе с поршнем через цилиндр; высокая усталостная прочность, податливость (упругость) и равнозначная прочность шатунных болтов.
При увеличении жесткости подшипника улучшаются условия образования масляного клина (подшипник сохраняет цилиндрическую форму), равномернее распределяются удельные давления по поверхности антифрикционного сплава и уменьшается нагрузка шатунных болтов при перекладке зазоров в подшипниках (в четырехтактных дизелях).
Материал:
стержня шатуна - углеродистая и легированная сталь; вставных втулок поршневых подшипников тронковых дизелей -сталь 10, 15. Их заливают свинцовистой бронзой БрСЗО или отливают целиком из оловянистой бронзы БрОС-8-12, БрОФ10-1;
крейцкопфных подшипников - сталь 15 и 20, а в качестве антифрикционного сплава используется высокооловянистый баббит Б83, Б89 и др., или сплав на алюминиевой основе, который имеет высокую усталостную прочность, износостойкость и теплопроводность. На поверхность белого металла часто наносят тонкий слой (0,04-0,05 мм) приработочного покрытия (90% свинца, 10% олова), который заполняет неровности на поверхности подшипника и увеличивает площадь контакта цапфы и белого металла;
вкладышей кривошипных подшипников - сталь 15 и 20. Их заливают высокооловянистым баббитом, а в форсированных СОД (среднеоборотные) и ВОД (высокооборотные) -свинцовистой бронзой, на которую гальваническим способом наносят приработочное покрытие, в современных двигателях чаще используют тонкостенные трехслойные вкладыши;
шатунных болтов - отковывают или штампуют из катаной или тянутой стали (для предотвращения разрыва продольных волокон). Болты МОД (малооборотные) изготавливают из углеродистой стали, болты ВОД и СОД -из легированной стали.
Верхняя головка шатуна имеет разную конструкцию в зависимости от типа и тактности дизеля.
В тронковых дизелях поршневая головка (рис. 8.5а, б) обычно неразъемная, ее отковывают заодно со стержнем шатуна. В головку запрессовывают втулку 4 поршневого подшипника, ее часто фиксируют от проворачивания и осевого сдвига винтами 6 (рис. 8.7а). Для снижения удельных давлений в поршневом подшипнике применяют подшипники дифференциального типа, у которых наиболее нагруженную опорную поверхность 8 увеличивают.
Смазка в поршневой подшипник чаще всего подводится по сверлению 1 в шатуне (см. рис. 8.5а). Для подвода масла к рабочей поверхности втулки обычно протачивают внешнюю кольцевую или полукольцевую канавку 2, из которой по радиальным отверстиям 3 масло поступает в холодильник 5. Распределение масла по длине подшипника в четырехтактных дизелях осуществляется по холодильникам, а в двухтактных — по канавкам на нижней части втулки.
В малоразмерных ВОД смазка поршневого подшипника часто осуществляется за счет «масляного тумана». В этом случае головка и втулка имеют сверления, через которые на палец оседают капельки масла.
Стержень (тело) шатуна может иметь различную форму поперечного сечения: круглое и двутавровое. У шатунов двутаврового сечения жесткость и прочность более высокая при меньшей массе. Наибольший изгибающий момент действует в сечении шатуна, расположенном ближе к нижней головке. Поэтому для увеличения ее жесткости в ВОД сечение тела шатуна часто постепенно увеличивают от верхней головки к нижней (шатун равного сопротивления).
Нижняя головка шатуна (кривошипная) в судовых дизелях применяется двух основных типов: съемная, отделяемая от тела шатуна — морского типа и неотъемная -нормального типа.
В головке морского типа антифрикционный сплав заливается непосредственно в тело нижней 2 и верхней 6 половин кривошипного подшипника (рис. 8.6а). Для регулировки степени сжатия (а следовательно, и давления в конце сжатия) между головкой и пяткой шатуна 8 устанавливают «компрессионную» прокладку 7. Для обеспечения соосности тела шатуна и кривошипной головки и разгрузки шатунных болтов 10 от боковых сил предусматривают центрирующий выступ 11 на верхней половине головки или устанавливают центрирующую проставку. Крышку подшипника центрируют шатунными болтами или специальным штифтом. Набор латунных прокладок 3 в разъеме подшипника служит для регулировки масляного зазора (в современных дизелях прокладки не применяются). Для закрепления шатунных болтов после снятия их гаек служат стопорные болты 5, которые часто одновременно являются предохранительными, предотвращающими выпадение шатунного болта в случае его обрыва.
К преимуществам головки морского типа относят: возможность замены всей головки, регулировки степени сжатия, повышения жесткости коленчатого вала за счет увеличения диаметра его шеек; удобство монтажа и демонтажа шатуна. Недостатки: значительная масса подшипника затрудняет его перезаливку, наличие двух разъемов и прокладок снижает жесткость.
В современных двухтактных СОД часто применяют отъемные головки 3, прикрепленные к пятке 2 шатуна не шатунными болтами, а шпильками 1 (рис. 8.66); конструкция позволяет существенно повысить жесткость коленчатого вала за счет увеличения диаметра его шеек при сохранении возможности демонтажа шатуна через цилиндр.
Верхняя часть головки нормального типа откована заодно с пяткой шатуна (рис. 8.6в). Кривошипный подшипник образован верхним 5 и нижним 3 вкладышами, залитыми антифрикционным сплавом. Нижний вкладыш иногда фиксируют от проворачивания штифтом 1. Чаще всего фиксаторами вкладышей являются шатунные болты, которые с целью уменьшения габаритов головки располагают ближе к шейке вала (для этого во вкладышах вырезают карманы).
Нижняя половина 2 головки (крышка подшипника) центрируется с верхней шатунными болтами или выступами 4 на краях нижней половины (в этом случае болты разгружаются от боковых сил). Для регулировки масляного зазора в разъеме подшипника иногда предусматривают набор прокладок. В современных СОД и ВОД прокладки обычно не устанавливают или применяют одну прокладку необходимой толщины. Отказ от применения прокладок объясняется стремлением повысить жесткость нижней головки и тем самым улучшить условия работы кривошипного подшипника и шатунных болтов.
Головка с косым разъемом (рис. 8.6г) дает возможность повысить жесткость коленчатого вала за счет увеличения диаметра его шеек при сохранении демонтажа шатуна через цилиндр, а также уменьшить силу Рр , стремящуюся разорвать болты 1 (или шпильки) крепления крышки подшипника к верхней половине (при изменении знака движущей силы в четырехтактных дизелях). Для того чтобы воспринимать боковую (срезающую) силу Рс, стыки головки имеют ступенчатый замок или зубчатую (рифленую) поверхность.
В составной головке с двумя косыми разъемами (рис. 8.6д) сопрягаемые поверхности 1, 2 и 3 выполнены рельефными. Головка стянута шатунными болтами, расположенными горизонтально.
В V-образных дизелях чаще всего применяют общую для двух шатунов кривошипную головку. Главный шатун 1 (рис. 8.6е) имеет разъемную нижнюю головку. Кривошипный подшипник образован двумя тонкостенными вкладышами. Крышка 8 подшипника крепится к верхней половине головки двумя коническими штифтами 7. Прицепной шатун 3 имеет неразъемную нижнюю головку с бронзовой втулкой 4 и соединяется с головкой главного шатуна пальцем 2. Подшипник прицепного шатуна смазывается маслом, поступающим из кривошипного подшипника по каналам 6 и 5.
Основное преимущество головки - длина кривошипных шеек коленчатого вала такая же, как и у рядных дизелей. Недостатки: большие удельные давления, воспринимаемые подшипником прицепного шатуна, и дополнительные нагрузки подшипника главного шатуна со стороны прицепного шатуна. Эти недостатки устранены в V-образных дизелях со смещенными осями цилиндров, но длина дизеля при этом больше.
На рис. 8.6ж, з приведены варианты конструкций гаек шатунных болтов.
Верхняя половина кривошипной головки независимо от тактности дизеля передает на шейку вала движущую силу, и для обеспечения необходимой жесткости ее выполняют массивной. Нижняя половина головки (крышка подшипника) в четырехтактных дизелях нагружена силами инерции, и ее массу также обычно увеличивают (см. рис. 8.6в) или подкрепляют ребрами жесткости (см. рис. 8.6а).
В двухтактных дизелях усиление нижней половины головки лишено смысла, однако для снижения ударных нагрузок на кривошипный подшипник ее часто выполняют массивной (см. рис. 8.6 б). При этом центр тяжести шатуна располагается ближе к оси кривошипной головки, увеличиваются вращающиеся массы, и возросшая сила инерции разгружает кривошипную шейку от силы давления газов. В МОД для уменьшения массы кривошипную головку иногда выполняют дифференциальной (большую поверхность имеет наиболее нагруженная верхняя половина); снижение ударной нагрузки на кривошипный подшипник в этом случае обеспечивается за счет значительных сил инерции поступательно движущихся масс.
Смазка кривошипного подшипника осуществляется маслом, поступающим из рамовых подшипников по сверлениям в кривошипе коленчатого вала или из крейцкопфных подшипников по сверлению в шатуне и каналам в кривошипной головке.
Для обеспечения постоянного потока масла из кривошипного подшипника в трубку 12 (см. рис. 8.6а) или в осевой канал 7 (см. рис. 8.6е) для смазки поршневого подшипника предусматривают круговую канавку 14 и канал 15. Однако такая канавка на наиболее нагруженной верхней половине нарушает масляный клин и снижает несущую способность подшипника. Поэтому часто прорезают одну или две канавки 9 в нижней части подшипника; масло поступает в осевой канал 7 по наклонным каналам 6 и 8 в верхней части головки. Для предотвращения утечки масла из масляной полости шатуна при остановке дизеля в его нижней части иногда устанавливают невозвратный клапан.
Шатунные болты
Условия работы шатунных болтов.
Шатунные болты призваны стягивать верхнюю и нижнюю половинки нижней головки шатуна и при работе двигателя нагружаются растягивающей силой инерции поступательно и вращательно движущихся масс:
где: Мn.порш и Мnшат. – массы поршневой группы и части шатуна, участвующей в поступательном движении, r – радиус мотыля, ω – угл. скорость, Ɩшат. – длина шатуна, Мвр.шат. – масса вращающейся части шатуна за вычетом нижней половинки нижней головки шатуна.
В 4-тактном двигателе эта сила на части такта выхлопа и части такта наполнения направлена вверх, и под ее действием поршневая группа стремится оторваться от шейки вала и улететь по направлению к крышке цилиндра. В 2-тактных двигателях свободная сила инерции отсутствует, но она может появиться в декомпрессированном цилиндре при вращении двигателя. При перекосах шатунных болтов в них могут возникать напряжения изгиба. Чтобы избежать работы болта на изгиб, опорные поверхности головки и гайки должны быть строго перпендикулярны оси болта и болты должны плотно входить в калиброванное отверстие мотылевой головки.
Практические рекомендации. Чтобы прочность соединения мотылевого подшипника не была нарушена, сила затяга болтов должна быть больше величины сил инерции. Поэтому вне зависимости от тактности двигателя силу затяга рекомендуется принимать с полуторным запасом по отношению к величине Рj - силы инерции поступательно движущихся масс поршня и шатуна + вращающейся массы шатуна за вычетом массы его нижней половинки нижней головки. Отсюда Рзат =1,5 Рj.
Однако к этой рекомендации следует прибегать лишь в крайнем случае, а использовать рекомендации фирмы, которые всегда даются в инструкции по эксплуатации.
Наиболее опасные зоны находятся в районе 1-2 витков резьбы под опорной поверхностью гайки и в галтели у головки болта, именно здесь, где могут появиться усталостные трещины. Чтобы разгрузить зону резьбы под гайкой, применяют гайки с утопленной резьбой, у которых опорная поверхность находится ниже последнего витка резьбы болта. Обрыв резьбы происходит обычно по впадине, где возникают напряжения сжатия. Чтобы уменьшить концентрацию напряжений, впадину резьбы выполняют с большим радиусом округления, используя для этого накатку.
Шатунные болты являются весьма ответственными деталями (особенно в четырехтактных дизелях), так как их обрыв приводит к тяжелой аварии всего дизеля.
Обычно устанавливают два болта, но иногда для уменьшения габаритов нижней головки шатуна ставят четыре болта меньшего диаметра. Для пригонки по отверстиям болты имеют калиброванные пояски 4 (рис. 8.6а) в плоскостях сопряжения деталей. Для предотвращения проворачивания болта его головку фиксируют штифтом 1 или специальным выступом на головке. Для головок с косым разъемом чаще всего применяют шпильки, застопоренные штифтами, или болты без центрирующих поясков.
Гайки болтов применяют корончатые или специальные. Корончатые гайки 9 стопорят шплинтами (рис. 8.6а). В современных, даже быстроходных дизелях гайки не стопорят, но для предотвращения их самопроизвольного отворачивания резьбу смазывают специальными составами Thread Lock.
Высокую усталостную прочность, податливость и равнозначную прочность шатунных болтов обеспечивают следующими способами:
- диаметр болта между центрирующими поясками уменьшают до 0,85-0,95 внутреннего диаметра резьбы. Иногда для увеличения податливости делают сверления по оси болта или на длину резьбовой части;
- переходы к центрирующим пояскам, резьбе и головке делают возможно большими радиусами;
- поверхность болта тщательно полируют;
- резьбу изготавливают накаткой с большим радиусом закруглений у вершин и впадин.
Для обеспечения работы болта на растяжение (без изгиба или среза) головку делают симметричной без односторонних срезов. Опорные поверхности головки и гайки должны быть строго перпендикулярны оси болта.
Болты устанавливают в калиброванные отверстия кривошипной головки шатуна, и ее опорные поверхности должны быть перпендикулярны оси болта. Недостаточная затяжка болтов приводит к раскрытию стыков подшипника, образованию на них наклепа и резкому увеличению ударных нагрузок; чрезмерная затяжка сопровождается текучестью материала с последующим ослаблением затяжки.
В обоих случаях, а также при неравномерной затяжке болт может разорваться. В формуляре дизеля указывают удлинение болта после затяжки, усилие или момент на динамометрическом ключе или давление масла при затяжке гидравлическими домкратами.
На головке или торце болта указывают длину болта с точностью до 0,01 мм; остаточное удлинение является браковочным показателем болта.
Повреждения и поломки
В большинстве случаев повреждения или поломки шатунов происходят по следующим причинам:
- действие внешних сил, которые могут согнуть или сломать стержень шатуна;
- повреждения подшипников шатуна;
- ошибки при ремонте, когда использовались детали, поврежденные при предыдущей аварии;
- ослабление затяга шатунных болтов или их обрыв.
Изгиб стержня шатуна (рис. 8.7).
Как правило, этому виду повреждения сопутствует наличие следов ударов на головке поршня или на стержне шатуна.
В рассматриваемом случае следов механических ударов на поршне и стержне не было. Остается предположить, что имел место гидравлический удар в цилиндре, вызываемый проникновением в цилиндр охлаждающей воды через трещины в крышке цилиндра или втулке. Были случаи, когда вода попадала через свищи, образовавшиеся вследствие коррозии охлаждаемого корпуса выхлопного клапана.
Поршневой шток
Поршневой шток (в крейцкопфных дизелях) служит для соединения поршня с поперечиной крейцкопфа и передачи ей силы давления газов.
Механические нагрузки (движущая сила Р) вызывают в штоке двухтактного дизеля напряжения сжатия и его продольный изгиб. К конструкции штока предъявляют два основных требования: высокая продольная жесткость и износостойкость рабочей поверхности.
Материал штоков: углеродистая или легированная сталь.
Конструкции штоков показаны на рис. 6.6 и 8.16. Верхняя часть штока для соединения с поршнем выполнена в виде одного (см. рис. 6.6а, б, д, ж) или двух (см. рис. 6.6в) фланцев с кольцевой опорной поверхностью, а нижняя часть - в виде хвостовика или фланца (рис. 6.6в) для соединения с поперечиной крейцкопфа. Соединение при помощи фланца повышает прочность и жесткость поперечины крейцкопфа и позволяет применять крейцкопфные подшипники со сплошной нижней половиной (дифференциального типа).
Поперечное сечение штока может быть сплошным (см. рис. 6.6д, ж) или полым (см. рис. 6.6а, б). Сверление штока уменьшает его массу, и оно используется для подвода охлаждающей жидкости к головке поршня. Для этого в полости штока закрепляют трубку 7 (рис. 6.6а), 10 (рис. 6.6е), а при охлаждении поршня водой для предотвращения коррозии в сверление штока запрессовывают вторую трубку.
Для улучшения охлаждения штока охладитель обычно подводят к поршню по кольцевому каналу между трубкой и стенкой штока, а отводят по трубке (см. рис. 6.66, в).
Уплотнение штока в диафрагме осуществляется сальником. В корпусе сальника в специальных обоймах установлены разрезные чугунные кольца, стянутые спиральными пружинами 1 (см. рис. 8.17а). Верхнее кольцо имеет конусную фаску на нижней кромке, а нижнее кольцо - на верхней кромке.
При ходе поршня вверх нижнее кольцо острой кромкой снимает со штока циркуляционное масло, набрасывает его в картер, а при ходе поршня вниз - верхнее кольцо снимает со штока грязное цилиндровое масло, которое по каналу между обоймой и корпусом сальника отводится в подпоршневую полость или дренажную систему. Среднее кольцо имеет прямоугольное сечение, является уплотнительным и предотвращает прорыв продувочного воздуха в картер.
В другой конструкции сальника (см. рис. 8.176) имеются два уплотнительных кольца 1 и два маслосъемных кольца 7. Уплотнительные чугунные кольца состоят из двух частей со ступенчатыми замками и прижимаются к штоку стальными пружинами 2, а маслосъемные кольца - из трех частей (сегментов), стягиваемых спиральными пружинами 6. Верхнее маслосъемное кольцо имеет кольцевую выточку для отвода масла в закольцевую полость и далее по каналу 5 в картер. Камера 3 между уплотнительными и маслосъемными кольцами соединяется каналом 4 и трубопроводом с контрольным краном на посту управления дизелем. Выход из крана продувочного воздуха свидетельствует о неудовлетворительной работе уплотнительных колец, а большой выход масла - маслосъемных колец.
Крейцкопфы
Крейцкопф (в крейцкопфных малооборотных дизелях) служит для шарнирного соединения поршневого штока с шатуном и разгрузки цилиндра от боковой (нормальной) силы N. Крейцкопф состоит из поперечины 1 (рис. 8.16а,б) с цапфами (или цапфой) 2 крейцкопфных подшипников и двух или одного ползуна 3, передающих нормальную силу на параллели.
Во время работы дизеля детали крейцкопфа подвержены механическим нагрузкам (движущая сила Р и сила инерции Рj ползунов), которые стремятся изогнуть поперечину (опасное сечение I-I) и цапфы крейцкопфных подшипников (опасное сечение II - II). Концевые цапфы для ползунов также подвержены изгибу под действием сил инерции Рj ползунов и силы нормального давления N на параллели (опасное сечение III- III).
К конструкции крейцкопфа предъявляют следующие основные требования: высокая жесткость поперечины (для обеспечения надежной работы крейцкопфных подшипников); достаточная прочность; высокая износостойкость цапф поперечины и трущихся поверхностей ползунов; возможность работы дизеля с демонтированным поршнем (в аварийном случае).
Материал: поперечин - углеродистая сталь 45, 50 или легированная стань 30ХМА, 40ХН и др.; ползунов - кованая или литая сталь 30, 35Л; подошвы ползунов заливают баббитом.
Конструкции крейцкопфов даны на рис. 8.16. В крейцкопфе с двумя двусторонними ползунами (рис. 8.16б) к верхней головке шатуна 8 болтами 10 крепят два крейцкопфных подшипника 9, на нижние половины которых опираются цапфы поперечины 6. Двусторонние ползуны 5 свободно надеты на концевые цапфы поперечины, их осевому смещению препятствуют круглые крышки 4, прикрепленные к торцам поперечины. Предохранительные шайбы 3 крепят к ползунам, они входят в кольцевые выточки крышек 4 с небольшим зазором. При таком креплении ползуны могут самоустанавливаться, поворачиваясь вокруг цапф на небольшой угол. При работе дизеля с демонтированным поршнем (в аварийном случае) шайба 3 фиксирует положение поперечины, предотвращает ее разворот под действием сил трения и перекрытие отверстия для подвода смазки к крейцкопфным подшипникам. Подошвы ползунов имеют поперечные канавки для лучшего распределения масла.
Масло к деталям крейцкопфа подводится по шарнирным трубам, прикрепленным к поперечине, поступает в осевой канал в теле поперечины и далее по радиальным каналам идет на смазку крейцкопфных подшипников и ползунов.
Преимущества крейцкопфа с двумя ползунами: относительно небольшой износ ползунов и свободный доступ к деталям движения со стороны параллелей.
В крейцкопфном механизме с одним односторонним ползуном (рис. 8.16в) к верхней головке шатуна 14 болтами 16 крепят нижнюю сплошную половину 13 крейцкопфного подшипника с тонкостенным стальным вкладышем 12, залитым антифрикционным сплавом. Две верхние половины 9 подшипника также имеют тонкостенные вкладыши 10. Пустотелая цапфа 11 подшипника имеет поперечный паз, в котором установлена и прикреплена болтами 8 изготовленная заодно с ползуном 2 поперечина 3. К поперечине шпильками 17 крепят фланец штока поршня 1. Для упрощения центровки поршня в цилиндре предусмотрена возможность перемещения штока относительно опорной поверхности поперечины (до 2 мм от центра в любом направлении) за счет поворота двух эксцентричных колец 4 и 5 с делениями, в которых размещен фланец штока. Односторонний ползун 2 во время хода расширения полной поверхностью башмака передает нормальную силу N на параллель 6, а во время хода сжатия, когда сила N принимает противоположное направление, ее действие передается двумя узкими поверхностями ползуна на нащечины 7 заднего хода.
Масло к верхним (ненагруженным) вкладышам крейцкопфного подшипника и к подошве ползуна подводится под давлением 7-8 МПа от кривошипного подшипника по сверлению в шатуне, нижней опоре подшипника и ползуна. К нижнему сплошному вкладышу (нагруженному) масло поступает от двух двухплунжерных насосов 15 (на рис. 8.16в показан один). Насосы навешены на шатун и приводятся в действие за счет его качательного движения. Высокое давление масла и сплошная нижняя половина крейцкопфного подшипника обеспечивает гидростатическую смазку (за счет масляной «подушки», приподнимающей цапфу).
Преимущество крейцкопфа с односторонним ползуном - относительная простота конструкции и эксплуатации. Недостатки конструкции: возможность перекоса штока поршня под действием сил инерции ползуна; затрудненный доступ к деталям движения со стороны параллелей и главное - неодинаковые условия работы на передний и задний ход. В связи с этим ограничивается продолжительная работа двигателя на задний ход.
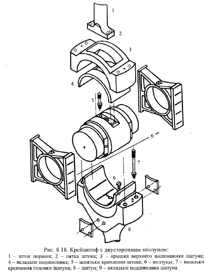
Конструкция крейцкопфа с двумя ползунами приведена на рис. 8.18. Его преимущество заключается в том, что продолжительность работы двигателя на задний ход не ограничена во времени.
Условия работы крейцкопфных подшипников в современных МОД обусловлены следующими факторами:
- вследствие больших значений движущей силы удельные давления на поверхности антифрикционного сплава подшипников близки к предельно допустимым;
- крейцкопфные подшипники раньше других элементов КШМ воспринимают нагрузки от изменения давления газов в цилиндре;
- качательное движение шатуна с относительно небольшой угловой скоростью не обеспечивает создание масляного клина. Смазка осуществляется главным образом за счет масляной пленки, которая разрывается при каждом изменении направления качательного движения (два раза за оборот вала). Масляная пленка может разрываться также во время пусков и реверсов дизеля из-за высокой жесткости рабочего процесса, а одностороннее приложение нагрузки затрудняет подвод масла в нагруженную зону подшипника;
- силы инерции столба масла в сверлениях шатуна в циркуляционных системах с относительно небольшими рабочими давлениями (0,12-0,18 МПа) могут вызывать колебания давления и оказывать заметное влияние на подачу масла к подшипникам;
- недостаточная жесткость цапф поперечины крейцкопфа (иногда и верхней головки шатуна) приводит к их упругой деформации в момент максимального давления pz в цилиндре. В результате удельные давления на поверхности подшипника распределяются неравномерно и оказываются чрезмерно высокими на внутренних краях подшипников, что вызывает интенсивное изнашивание и повреждение антифрикционного слоя в этих зонах.
В современных крейцкопфных дизелях верхнюю головку шатуна изготавливают в виде жесткой плиты 3 (рис. 8.19а, б), к которой прикрепляют нижние 2 и верхние 1 половины крейцкопфных подшипников.
Для увеличения равномерности распределения удельных давлений по рабочей поверхности крейцкопфных подшипников и повышения надежности их работы нижние половины выполняют податливыми за счет несимметричного расположения опорного ребра относительно середины цапфы (см. рис. 8.19) или различной толщины наружной и внутренней стенок нижней половины подшипника; при этом деформация цапф поперечины крейцкопфа компенсируется деформацией податливых опор подшипников.
Податливые опоры с несимметричным расположением ребра менее эффективны по сравнению с опорами, имеющими различные толщины наружной и внутренней стенок. В первом случае вследствие несоосности опоры и нагрузки образуется момент, деформирующий опору так, что ее внутренний конец опускается; в результате рабочими поверхностями являются две цилиндрические поверхности, обращенные выпуклостями друг к другу, и нагрузка воспринимается узкой полосой антифрикционного сплава.
Во втором случае, при правильном соотношении толщин стенок, нижняя образующая рабочей поверхности подшипника имеет одинаковый с цапфой знак деформации (выпуклостью вниз), и удельные давления вдоль оси подшипника распределяются более равномерно на всех режимах работы дизеля.
Для снижения удельных давлений применяют одноопорные крейцкопфные подшипники со сплошной нижней половиной (см. рис. 8.19).
Для современных МОД крейцкопфные подшипники часто изготавливают со стальными тонкостенными вкладышами 4 (см. рис. 8.196), залитыми антифрикционным сплавом. При необходимости вкладыши можно легко заменять, используя верхний вкладыш в качестве нижнего.
Хорошо зарекомендовали в работе крейцкопфные подшипники с ромбовидными вкладышами. Вкладыш состоит из стального основания С (рис. 8.19в), на которое нанесен слой свинцовистой бронзы В с пересекающимися под углом 14° пазами, залитыми центробежным способом оловянистым или свинцовистым сплавом. После механической обработки на рабочую поверхность вкладыша гальваническим способом наносят слой приработочного покрытия А (88% свинца, остальное олово и медь). Ромбовидные подшипники монтируют и демонтируют с помощью гидравлических домкратов с контролем равномерности затяга по удлинению болтов.
Практические замечания.
Чаще всего встречающиеся повреждения крейцкопфных подшипников сводятся к растрескиванию белого металла - появлению трещин усталостного характера, сдавливанию заливки - заполнению или почти полному исчезновению масляных канавок, блокированию маслоподводящих отверстий. Подобные повреждения обычно вызываются чрезмерно высокими давлениями газов в цилиндрах в период маневров двигателя, когда их переводят с тяжелого топлива на дизельное. Последнее обладает лучшей способностью к воспламенению (более высокое цетановое число) и большей скоростью сгорания. В итоге давление сгорания увеличивается в 1,2—1,5 раза, что, естественно, соответственно увеличивает нагрузки на подшипник, сигналом превышения давления является подрыв предохранительных клапанов. В этой ситуации рекомендуется избегать даже кратковременной работы на полных мощностях.
Литература
Судовые двигатели внутреннего сгорания - Возницкий И.В. Пунда А.С. [2010]