Принцип действия двигателей: судовой двигатель

Конструктивная схема двс

Двигателем внутреннего сгорания (ДВС) называется тепловая машина, в цилиндре которой химическая энергия топлива превращается в тепловую энергию газов, которая, в свою очередь, преобразуется в механическую работу.

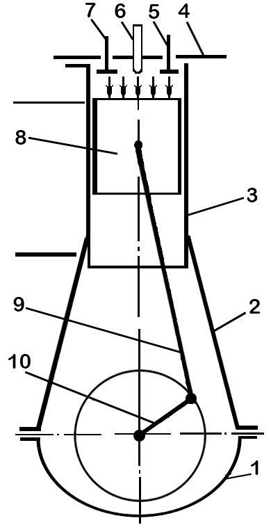
Принципиальное устройство двигателя показано на рисунке. На фундаментной раме 1 установлена станина 2, на которой расположен цилиндр 3, закрытый цилиндровой крышкой 4. Объем цилиндра представляет пространство, ограниченное цилиндровой крышкой, стенками цилиндра и поршнем 8. На крышке цилиндра располагаются впускной клапан 7, форсунка 6 и выпускной клапан 5.

При сгорании топлива в цилиндре выделяются газы, обладающие высоким давлением и температурой, т.е. значительной тепловой энергией. За счет этого поршень перемещается вниз. При перемещении поршня давление и температура, как и тепловая энергия газов, уменьшаются (газы расширяются), в результате чего совершается механическая работа. Поступательное движение поршня через шатун 9 передается на кривошип 10 коленчатого вала, который начинает вращаться.

Судовой двигатель внутреннего сгорания состоит из узлов, систем и устройств, основными из которых являются: остов двигателя, кривошипно-шатунный механизм (КШМ), механизм газораспределения, топливная и масляная системы, системы охлаждения, впуска и выпуска, пост управления, пусковое и реверсивное устройства, средства контроля и защиты.

MirMarine
MirMarine – образовательный морской сайт для моряков.
На нашем сайте вы найдете статьи по судостроению, судоремонту и истории мирового морского флота. Характеристики судовых двигателей, особенности устройства вспомогательных механизмов и систем.