Wärtsilä 34DF – Вибрации и шумы

Дизель-генераторы Wärtsilä 34DF соответствуют по уровням вибрации требованиям ISO 8528-9. Главные двигатели соответствуют по уровням вибрации требованиям ISO 10816-6, класс 5.

Внешние силы и динамические пары

Некоторые конфигурации цилиндров создают появление внешних сил и динамических пар. Они перечислены в таблицах ниже.

Проектант судна должен следить за тем, чтобы естественные частоты палуб, переборок и надстроек не были близки к резонансным частотам. Второе дно должно быть достаточно жестким во избежание резонансов, особенно с опрокидывающими частотами.

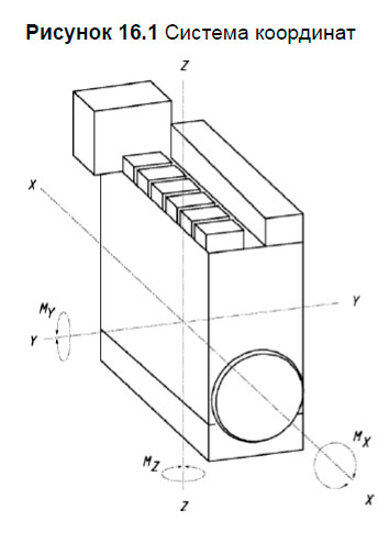
Система координат

Внешние силы и динамические пары

Колебания крутящего момента

Колебания крутящего момента при 100% нагрузке

Суммарный момент инерции

Суммарные моменты инерции главных двигателей (включая маховик) обычно следующие:

Суммарные моменты инерции главных двигателей

Воздушные шумы

Воздушные шумы двигателя измеряются как уровень мощности звука в соответствии со стандартом ISO 9614-2. Результаты представлены с А-взвешиванием, опорный уровень 1 pW.

Типичный уровень мощности звука двигателя, W L34DF

Типичный уровень мощности звука двигателя, W V34DF

Выхлопные шумы

Типичный уровень мощности звука для выхлопных шумов, W L34DF

Типичный уровень мощности звука для выхлопных шумов, W V34DF

Литература

Двухтопливные двигатели WÄRTSILÄ 34DF проектное руководство

MirMarine
MirMarine – образовательный морской сайт для моряков.
На нашем сайте вы найдете статьи по судостроению, судоремонту и истории мирового морского флота. Характеристики судовых двигателей, особенности устройства вспомогательных механизмов и систем.