Система ДАУ STL-930

Общие сведения

Система ДАУ STL предусматривает дистанционное автоматизированное управление главным двигателем из рулевой рубки одной рукояткой телеграфа и дистанционное управление из ЦПУ в машинном отделении. Система ДАУ STL по конструктивному исполнению и связи с главным двигателем является навешенного типа. Она подключена непосредственно к исполнительным элементам типа фирмы «Вестингауз» штатной пускореверсивной системы. Электронно-логическая часть системы ДАУ построена на базе унифицированных модульных элементов. Система ДАУ STL обеспечивает выполнения следующих функций:

  • пуск подготовленного к работе главного двигателя, реверс и остановку;
  • выполнение условий подачи пускового воздуха к ГД при пуске и переходе работы ГД на топливо;
  • программное управление топливоподачей по программе;
  • трехкратное повторение попыток пуска за ограниченное время.
  • При выполнении третьей попытки обеспечивается повышенная подача топлива, соответствующая пуску по максимальной программе;
  • управление топливоподачей по экстренной программе до номинального значения с отключением программы нагрузки;
  • автоматическая блокировка пуска при низком давление пускового воздуха ниже чем 1,47 МПа;
  • точная установка на заданный скоростной режим и поддержание частоты вращения во всем диапазоне режимов нагрузки;
  • быстрое прохождение зоны критической угловой скорости;
  • реверсе возможностью торможения вала двигателя пусковым воздухом;
  • коррекция соотношения топливо-воздух в диапазоне рабочих нагрузок;
  • автоматическая защита ГД путем его остановки или снижения угловой скорости по группе контролируемых параметров;
  • регистрация команд управления;
  • имитация с целью проверки действия отдельных элементов схемы программного управления и функционирования системы ДАУ при остановленном двигателе.

Принципиальная пневматическая схема системы ДАУ STL-930

Принципиальная пневматическая схема системы ДАУ STL представлена на рис. 22.40.

Принципиальная пневматическая схема системы ДАУ STL -930.

Позиции и номера элементов и узлов системы ДАУ и их назначение приведены в таблице 22.5 соответствуют стандартной фирменной схеме и технической документации по системе ДАУ STL-930.

Позиции элементов и узлов пневматической схемы системы ДАУ STL

Состав системы ДАУ STL 930

В составе пускореверсивной системы ДАУ STL используются следующие узлы и элементы:

  • пост дистанционного управления двигателем в рулевой рубке (РР);
  • пост управления главным двигателем в ЦПУ;
  • управление с аварийного поста, размещенного на двигателе.

Пульт управления главным двигателем состоит из:

  • командного блока системы управления ДАУ;
  • блока управления пуском, реверсами «Вперед», «Назад», «Стоп»»;
  • блока пускореверсивного механизма;
  • исполнительного механизма аварийного управления;
  • редукционной станции подачи управляющего воздуха в пневмосистему ДАУ

Дистанционное управление из РР осуществляется с помощью рукоятки телеграфа. От него команды передаются в виде сигналов на панель дистанционного управления, которая задействует электросервомотор, расположенный на выносном пульте и механически соединенный с пневматическим регулирующим клапаном С помощью последнего регулируется величина давления управляющего воздуха, подаваемого на регулятор.

Кроме того, дистанционная панель управления приводит в действие три соленоидных клапана: для хода «ВПЕРЕД», «НАЗАД» и стопорного цилиндра регулирующего вала. Эти соленоидные клапана осуществляют действия пусковой системы во время пуска и реверса двигателя.

Система управления состоит из подсистемы элементов пускового воздуха, рассчитанных на давление 3 МПа, и подсистемы элементов управляющего воздуха, рассчитанного на давление 0,7 МПа.

Состав элементов ДАУ на мостике

На мостике находится машинный телеграф с передатчиком команд, контрольные лампы и три аварийные кнопки.

Передатчик команд механически соединен с телеграфом, положения которого соответствует определенному частоты скорости ГД и направлению вращения. На передней панели телеграфа установлен переключатель рода работы «машинное отделение - рулевая рубка».

Телеграф мостика имеет контрольные лампы:

  • управление из машинного отделения;
  • управление из рулевой рубки;
  • снижение оборотов;
  • остановка;
  • программа нагрузки.

При аварийном состоянии используется кнопка «EMERGENCY BUTT» -кнопки расположены за навесной крышкой так, что когда крышка закрыта, кнопки находятся в нейтральном положении.

При необходимости откидывается крышка и вытягивается кнопка, в систему сигнализации поступает сигнал.

Пульт управления в ЦПУ служит для:

  • дистанционного управления ГД из ЦПУ при помощи органов управления (рукоятки управления пуском и топливоподачей, рычага реверса), воздействующих через пневматическую систему управления на пускореверсивную систему двигателя;
  • приема и отработки команд по линии машинных телеграфов;
  • переключения управления с дистанционного на дистанционное автоматизированное и обратно с помощью пневмопереключателя (аварийная работа - машинное отделение - рулевая рубка).

Положение телеграфа в ЦПУ определяет направление вращения ГД, а операция по управлению ГД выполняется с помощью топливной рукоятки.

Помимо этого с пульта управления осуществляется:

  • аварийная остановка либо снижение угловой скорости ГД через систему ДАУ по обобщенным аварийным сигналам от блока защиты;
  • контроль угловой скорости вала двигателя по тахометру ДАУ и ДУ;
  • контроль направления вращения коленчатого вала двигателя по сигналам табло «ВПЕРЕД» - «НАЗАД»;
  • световая и звуковая сигнализация о работе системы ДАУ и системы защиты ГД;
  • контроль напряжения электропитания;
  • контроль пневмопитания.

Управление системой ДАУ операциями «ПУСК», «РЕВЕРС», «ОСТАНОВКА ГД»

С целью определения последовательности действия элементов и узлов системы ДАУ, принципиальная схема разбита на отдельные функциональные подсистемы по назначению, такие как пуск двигателя, реверс, остановка и аварийное управление.

Подсистема пуска и реверса ГД

Для обеспечения нормального протекания пускового процесса в пускореверсивную систему входит подсистема пуска с пневматически управляемым пусковыми клапанами и воздухораспределителем блочной конструкции. В этой подсистеме воздух из пусковых баллонов подводится к главному пусковому клапану. При пуске двигателя по команде от системы управления открывается главный пусковой клапан и воздух по магистрали поступает к пусковым клапанам всех цилиндров. Клапана открываются под действием воздухораспределителя, связанного с главным пусковым клапаном и пусковыми клапанами линиями управления. Управляющий сигнал от воздухораспределителя поступает к пусковым клапанам того цилиндра, поршень которого находится в такте рабочего хода. Этот сигнал при вращении коленвала будет поочередно поступать, в соответствии с порядком работы цилиндров, ко всем пусковым клапанам. После достижения пусковой частоты вращения главный пусковой клапан закрывается, включается пусковая топливоподача, продолжается пуск дизеля на топливе.

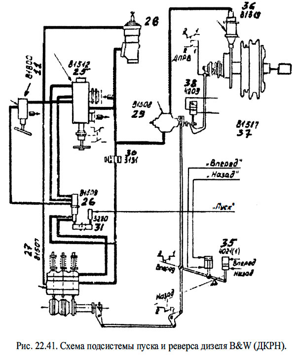
В системе пуска и реверса дизеля B&W (ДКРН), схема которой представлена на рис. 22.41, перед пуском ГД рукоятка машинного телеграфа переводится из нейтрального положения, определяющего заданное направление вращения, а пускорегулирующая рукоятка на пульте ЦПУ переводится в положение «Пуск».

Рассмотрим структурную схему (рис. 22.42) подсистемы ДАУ и последовательность прохождения командного сигнала и его воздействия на элементы подсистемы пуска и реверса при операциях «Пуск» - «Реверс» - «Вперед» - «Назад».

А. «Пуск» двигателя «Вперед»

Установить телеграф на мостике в нужное положение в секторе направления «Вперед».Сигнал от ответного телеграфа пульта управления в машинном отделении передается путем перемещения рукоятки в заданное положение в зоне хода «Вперед». В результате этого срабатывает двухпозиционный клапан «13» (1717) для хода «Вперед».

Переместить пускорегулирующий рычаг на пульте управления в положение «Пуск».

Срабатывает двухпозиционный клапан II управляющего блока «4», и сжатый воздух из пневмосистемы управления проходит через двухпозиционный клапан « 13» (1111) на пульте телеграфа и направляется в пускореверсивное устройство

«35» (см. рис. 22.41) к клапану III - клапан закрыт. Сжатый воздухе давлением 0,7 МПа из воздушного баллона «19» (2330) поступает к элементам «39» (4576), «47» (5288), «46» (5199) к стопорному цилиндру «45» (5000), который приводит в движение золотник клапана «40» (4665), и сжатый воздух поступает к двухпозиционному клапану III, открывая его, пропуская сжатый воздух от магистрали «03» в цилиндр I.

Схема подсистемы пуска и реверса дизеля B&W (ДКРН).

Поршень цилиндра 1, механически соединенный с помощью тяг с клапаном управления «29» (81508) реверсом и воздухораспределителем «27» (81507), изменения их положения в этом варианте не произойдет, т. к. они уже среверсированы на ход «Вперед».

Так как клапан «29» (81508) управления реверсом и винтовая муфта «37» (см. рис. 22.40) реверсивного механизма соединены между собой тягой, находятся в положении «Вперед», а клапан управления реверсом «29» закрыт, и пусковой воздух не поступает в тормозной цилиндр клапана «36» (81519).

Структурная схема подсистемы ДАУ прохождения командных сигналов

Поршень цилиндра I механически соединен с двухпозиционным клапаном IV и при своем движении в нижнее крайнее положение открывает двухпозиционный клапан IV, пропуская сжатый воздух в систему элементов «33» (3864), «34» (3953), к пневмоцилиндру «31» (3220). Пневмоцилиндр «31» при помощи рычага приводит в действие клапан «26» (81509) управления пуском, через который сжатый пусковой воздух поступает к главному пусковому клапану «25» (81512).

Клапан «25» (81512) открывается и подает пусковой воздух в пусковые клапаны «26» (81510) и воздухораспределитель «27» (81507), а затем в цилиндры дизеля.

Одновременно сжатый воздух пневмосистемы управления воздействует на двухпозиционный клапан «51»(5644), позволяя воздуху из редукционного клапана «49» (5466) проходить через двухпозиционный клапан «51» (5644) к регулятору «43» (4932). Регулятор воздействует на усилитель «44.1»(5822) будет пытаться передвинуть тягу отсечного топливных насосов в направлении максимальной подачи топлива. Но, т. к. пневмоцилиндр «45» (5000) удерживает тягу отсечного механизма топливных насосов в положении «Стоп», пружинная тяга сжимается.

Так как сжатый воздух пневмосистемы управления, поступающий к двухпозиционному клапану «51» (5644), одновременно поступает в дроссельный клапан «48» (5377), увеличенное давление воздуха к регулятору может поддерживаться в течение отрегулированного промежутка времени после пуска дизеля.

Когда дизель достиг необходимой частоты вращения на пусковом воздухе переводят пускорегулирующий рычаг на подачу топлива, заданную с мостика.

Пускорегулирующий рычаг приводит в действие регулирующий клапан III блока «4», который обеспечивает подачу сжатого воздуха в регулятор 43 (4932).

Двухпозиционный клапан II блока «4» выключается из действия.

Сжатый воздух из пневмоцилиндра «31 »(3220) стравливается через быстросрабатывающий клапан «34» (3953).

Главный пусковой клапан «25» (81512) закрывается, прекращая подачу пускового воздуха в дизель.

Воздух из цилиндра «45» (5000) стравливается через быстро-срабатывающийся клапан «46» (5199), а пружинная тяга, разжимаясь, обеспечивает установку насосов на подачу топлива, которая гарантирует надежный пуск.

Регулятор снабжен ограничителем нагрузки, который контролируется давлением продувочного воздуха в ресивере дизеля. Ограничитель нагрузки обеспечивает подачу топлива только в том количестве, которое соответствует объему воздуха в цилиндрах, необходимому для полного сгорания топлива.

Кроме того, дизель снабжен бустером пускового воздуха, который во время пуска подает масло под давлением на рабочий поршень регулятора, при этом выходной рычаг регулятора перемещается в направлении «макс.».

Б. Реверс «Назад»

Перевести рукоятку телеграфа на мостике в требуемое положение в секторе хода «Назад».

Сигнал от ответного телеграфа передается при перемещении рукоятки в заданное положение сектора хода «Назад». При этом приводится в действие двухпозиционный клапан «12» (1628) хода «Назад». Перевести пускорегулирующий рычаг в положении «Стоп», при этом цилиндр «45» (5000) подается воздух (как описано выше для хода «Вперед»), отсечный механизм топливных насосов займет положение «Стоп».

Перевести пускорегулирующий рычаг в положении «Пуск». Из двухпозиционного клапана «12» (1628) для хода «Назад» сжатый воздух через элементы схемы «14» (1806), «24» (3062) воздух поступает в двухпозиционный клапан «11» пускореверсивного устройства «35» и от него в пневмоцилиндр I, который служит для реверса воздухораспределителя, клапана управления реверсом «29» (81508) и привода в действие пневмоцилиндра «31» (3220) через элементы схемы (как описапы выше для хода «Вперед»), для включения клапана «26» (81509) управление пуском.

Главный пусковой клапан «25» (81512) открывается, и пусковой воздух поступает в пусковые клапаны «28» (81510) и воздухораспределитель «27» (81507). Пусковой воздух также поступает в тормозной клапан «36» (81519) через клапан «29» (81508) управление реверсом.

Указатель хода «Вперед» - «Назад» и тахометр поста управления показывают, когда обеспечены условия пуска дизеля на топливе. После этого пускорегулирующая рукоятка переводится в положение необходимой подачи топлива.

Другие операции выполняются в той же последовательности, как и при ходе «Вперед».

Реверс на ход «Назад» закончен. Воздух из пускового трубопровода стравливается через дренажную трубу главного пускового клапана, а из тормозного клапана — через дренажные отверстия клапана управления реверсом.

Подсистема управления топливоподачей ГД

Изменения скоростного режима дизеля осуществляется путем управления подачей топлива ТНВД. В дизелях B&W (ДКРН) управление ТНВД при ДУ и ДАУ обеспечивается с помощью рейки топливного насоса, связанной через первый гидроусилитель с регулятором частоты вращения. При АУ и ДУ рейка топливного насоса соединяется со вторым гидроусилителем, который управляется: при АУ от пускорегулирующей рукоятки на пульте МПУ; при АДУ - от позиционер «56» (7513) преобразующего давление пневмозадатчика на пульте ЦПУ в перемещение штока гидроусилителя. Питание гидроусилителей осуществляется от автономного блока масляных насосов.

Схема подсистемы управления топливоподачей дизелей В&W (ДКРН) показана на рис. 22.43. При ДУ и ДАУ управления ТНВД производится от регулятора частоты вращения через гидроусилитель.

Схема подсистемы управления топливоподачей дизелей B&W (ДКРН)

На входе регулятора частоты вращения посыпают пневматические сигналы (Рп- пневмозадание от задатчика пульта ЦПУ или от задатчика системы ДАУ; Рн - давление наддува от впускного дизеля), а также электрические сигналы от системы ДАУ:

  • C1 на включение стоп-устройства;
  • С2 - на снятие ограничений на регуляторе частоты вращения.

Для обеспечения функционирования регулятора частоты вращения при пуске дизеля используется бустер регулятора.

Остановка дизеля производится путем остановки рейки топливных насосов и, следовательно, ТНВД в положение нулевой топливоподачи с помощью сервомотора, включение которого происходит при формировании сигнала «Стоп» от системы ДУ или ДАУ. При этом отключается управление ТНВД от регулятора. ДП1 сигнализирует в систему ДАУ о положении нулевой топливоподачи, а ДП2 отключает блок АПС, если ТНВД находится в положении «Стоп».

При АУ управление ТНВД обеспечивается с помощью пускорегулирующей рукоятки на МПУ, при этом из контура управления исключается регулятор и гидроусилитель.

Аварийное управление двигателем из ЦПУ

Структурная схема управления двигателем с аварийного поста, расположенного на дизеле, показана на рис. 22.44. Переключатель «10» (1539) имеет три положения «Рулевая рубка» - «Машинное отделение» - «Аварийная работа». Клапан снабжен блокирующим цилиндром, поэтому переход в положение «Аварийная работа» и наоборот производят только когда пускорегулирующий рычаг находится в положении «Стоп». Клапан «52» (5733) переключает подачу регулирующего давления воздуха к позиционеру «56» (7513). Через обратный клапан «54» (6712) сжатый воздух через двухпозиционный клапан «53» (6534) поступит в противоположную полость пневмоцилиндра «55» (6623), в результате чего пружинная тяга будет соединена с усилителем «44.11»(5822).

Структурная схема аварийного управления двигателем из ЦПУ

Пуск и реверс производится из машинного отделения с помощью рычагов пульта через позиционер «56» (7513), как описано выше (Управление из машинного отделения).

Управление ГД с аварийного поста

Структурная схема управления с аварийного поста дизеля представлена на рис. 22.45.

Перед переходом управления дизелем на аварийный пост необходимо произвести следующие подготовительные операции:

  • закрыть запорный клапан «59» (7068), установленный на баллоне «63» (8681) емкостью 60 литров. Удалить сжатый воздух из системы управления;
  • открыть запорный клапан «67» (9026), установленный над кронштейном регулятора;
  • при управлении с аварийного поста сжатый воздух поступит в пневмоцилиндр «55» (6623) через обратный клапан «54» (6712) двойного действия, при этом соединяется пружинная тяга с усилителем «44.11 »(5822);
  • аварийный регулирующий рычаг «57» (7602)привинтить к рычагу усилителя;
  • аварийный пусковой рычаг «65» (8869» установить на двухпозиционный клапан «66» (8958).

А - последовательные операции при пуске без реверса:

  • рычаг «57» (7602) установить в положение «Пуск»;
  • нажать на рычаг «65» (8869) и держать в таком положении. В результате этого двухпозиционный клапан «66» (8968) откроется. Воздух через элементы системы «33» (3864), «34» (3953) поступит в пневмоцилиндр «31» (3220), который с помощью рычага приводит в действие клапан управления пуском «26» (82509). Главный пусковой клапан «25» (81512) откроется и подаст пусковой воздух к пусковому клапану «28» (8151 0) и в дизель;
  • когда нужная частота вращения достигнута, регулирующий рычаг переводят в положение «Подача топлива» и отпускают пусковой рычаг. Воздух из пневмоцилиндра («31» (3220) стравливается и подача пускового воздуха в дизель прекращается.
  • Регулирующая рукоятка крепится с помощью зажима в положении требуемой подачи топлива.

Б - пуск и реверс из положения «Вперед» в положение «Назад»:

  • рычаг для реверса воздухораспределителя перевести вручную в положение «Назад». Система тяг и рычагов одновременно поворачивает шпиндель клапана управления реверсом так, чтобы отверстие трубы соединилось с каналом клапана управления реверсом;
  • -регулирующий рычаг «57» (7602) удерживать в положении «Стоп»;
  • нажать на пусковой рычаг «65» (8869) и держать его в таком положении. При этом двухпозиционный клапан «66» (8958) открывается. Сжатый воздух проходит в воздушный цилиндр «31 » (3220), который открывает клапан управления пуском.

Структурная схема управления двигателем с аварийного поста, расположенного на дизеле.

Главный пусковой клапан открывается и подает пусковой воздух в пусковые клапана, воздухораспределитель и тормозной клапан, в результате чего происходит реверс дизеля. Сразу же после окончания реверса рычаг муфты перемещает шпиндель клапана управления реверсом, и воздух стравливается из тормозного клапана.

После завершения реверса на ход «Назад» и достижения нужной частоты вращения дизеля аварийный регулирующий рычаг перевести в положение «Подача топлива», а аварийный пусковой рычаг надо отпустить. При этом воздух из цилиндра «31» (3220) стравливается. Подача пускового воздуха в цилиндры прекращается. Аварийный регулирующий рычаг следует закрепить зажимом в положении необходимой подачи топлива.

Литература

Судовой механик: Справочник. Том 3 - Фока А.А. (2016)

MirMarine
MirMarine – образовательный морской сайт для моряков.
На нашем сайте вы найдете статьи по судостроению, судоремонту и истории мирового морского флота. Характеристики судовых двигателей, особенности устройства вспомогательных механизмов и систем.