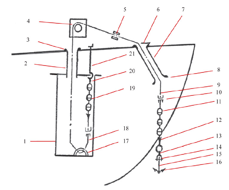
Якорное устройство / Anchor gear

Якорное устройство – судовые механизмы и оборудование, предназначенные для удержания судна на месте. Устройство состоит из якорей, якорных цепей, лебедки для их подъема, стопоров якорных цепей и цепного ящика.

Anchor gear is shipboard machinery and arrangements for holding ship at rest in the water, consisting of anchors, winch used for heaving in the chain cables and anchors, chain stoppers and сable locker.

  • (1) Цепной ящик / Cable locker (Chain locker)
  • (2) Труба палубного клюза / Chain pipe (Spurling pipe)
  • (3) Палубный клюз / Deck hawse hole
  • (4) Брашпиль / Windlass
  • (5) Стопор якорной цепи / Bow stopper. Chain-cable stopper
  • (6) Клюзовая крышка. Крышка якорной трубы. Стальной лист, закрывающий клюз / Hawse buckler. Hawse pipe buckler plate. An iron plate covering a hawse hole
  • (7) Труба клюза / Hawse pipe
  • (8) Антифрикционная губа / Chafing lip
  • (9) Якорная цепь / Anchor cable (chain cable)
  • (10) Соединительная скоба / Joining shackle
  • (11) Якорная смычка / Ganger length
  • (12) Вертлюг / Swivel
  • (13) Якорная скоба / Bending shackle (Anchor “crown” shackle)
  • (14) Скоба якоря / Anchor shackle
  • (15) Веретено якоря / Anchor shank
  • (16) Якорь / Anchor
  • (17) Обух / Eye bolt
  • (18) Промежуточная смычка / Intermediate length
  • (19) Коренная смычка / Inboard end. Bitter end
  • (20) Концевое звено / End link
  • (21) Устройство для крепления и отдачи коренного конца якорной цепи / Device to secure and release the inboard end of cable.

Якорное устройство

Литература

Термины, применяемые в морской индустрии. Флот, Контейнеры. Том 1,2 - Н.А. Решетов, С.С. Кощий, В.А. Яковлев [2010]

MirMarine
MirMarine – образовательный морской сайт для моряков.
На нашем сайте вы найдете статьи по судостроению, судоремонту и истории мирового морского флота. Характеристики судовых двигателей, особенности устройства вспомогательных механизмов и систем.