Системы микроклимата

К этой группе систем относятся системы:

  • системы отопления (парового, водяного и воздушного)
  • системы вентиляции
  • системы кондиционирования воздуха

Они предназначены для создания и поддержания в судовых помещениях необходимых параметров воздушной среды.

Системы отопления

Системы отопления обеспечивают обогрев судовых помещений в холодное время года. На судах применяют паровые, водяные и воздушные системы отопления, а также отопление с помощью электрогрелок, питаемых от судовой электросети.

Система парового отопления

Схемы системы парового отопления: однопроводная и двухпроводная

Систему парового отопления применяют в машинных отделениях и мастерских, санитарно-бытовых и санитарно-гигиенических помещениях, кладовых, реже — в жилых, общественных и служебных помещениях, за исключением помещений, имеющих оборудование и приборы, которые выходят из строя под действием пара в случае протечек (штурманская и радиорубки, трансляционная, гирокомпасная, музыкальные салоны, а также помещения, отделанные ценными породами дерева). Для парового отопления используют сухой насыщенный пар под давлением до 0,3 МПа (3 кгс/см2) от главных, вспомогательных или утилизационных котлов. Система состоит из парораспределительной станции, размещаемой в МКО, специальных выгородках или нишах, тамбурах и т. п.; грелок и трубопроводов. Редукционный и предохранительный клапаны сохраняют заданное давление пара и предотвращают его повышение путем стравливания излишнего пара в атмосферу.

Различают однопроводную и двухпроводную системы парового отопления. При однопроводной системе (рис. 8.22, а) грелки включаются последовательно одна за другой, так, что каждая последующая питается смесью пара и конденсата, образовавшегося в предыдущей грелке. При двухпроводной системе (рис. 8.22, б) все грелки включаются параллельно друг другу между магистралью свежего пара и магистралью конденсационной воды. Конденсационная вода с полностью сконденсированными в конденсационном горшке остатками пара поступает в теплый ящик, а оттуда — в котел. Двухпроводная система эффективнее и надежнее однопроводной, но сложнее и на 25—30 % тяжелее.

При прокладке парового отопления помещения одного района судна с примерно равными теплопотерями объединяют в группы. При этом в каждую группу грелок пар поступает через редукционный клапан от магистрали свежего пара. Парораспределительная станция обслуживает не только систему парового отопления, но и хозяйственный паропровод, подающий пар в прачечные, камбуз, сушилки, к воздухоподогревателям системы воздушного отопления и кондиционирования воздуха (в хозяйственный паропровод подается пар под давлением 0,5 МПа).

Грелки систем парового и водяного отопления

В качестве отопительных приборов в системе парового отопления применяют радиаторы и грелки ребристого типа (рис. 8.23).

Трубопровод изготовляют из стальных или медных труб: магистральный — диаметром до 80 мм, отростки к отопительным приборам — диаметром 10—25 мм.

К недостаткам системы парового отопления следует отнести:

  • шум при подаче пара
  • невозможность получить стабильный тепловой режим, что вредно отражается на самочувствии людей
  • пригорание пыли на грелках из-за высокой температуры пара
  • сухость воздуха в обогреваемом помещении

Система водяного отопления

Система водяного отопления, использующая в качестве теплоносителя воду, нагретую до 70—95°, по устройству очень похожа на систему парового отопления; в ней лишь отсутствуют приборы и арматура, имеющие «паровую» специфику (конденсационные горшки, сепараторы, редукционные и предохранительные клапаны). Горячую воду получают в водоподогревателе и подают по напорному трубопроводу в грелки и радиаторы такого же типа, как и для парового отопления; отдав тепло, вода возвращается в водоподогреватель. Циркуляция воды в системе обеспечивается специальным циркуляционным насосом (принудительная циркуляция) или благодаря разности давлений горячей и отработавшей воды (естественная циркуляция).

Системы водяного отопления бывают:

  • однотрубными
  • двухтрубными

Так как под влиянием температуры изменяется объем воды, к напорной магистрали водяного отопления подключают расширительный бак. Если этот бак сообщается с атмосферой, систему называют открытой, если не сообщается, — закрытой. На большинстве судов применяют открытую систему, причем расширительный бак размещают возможно выше. Закрытая система используется только на небольших судах и катерах.

Трубопровод системы водяного отопления монтируют из стальных водогазопроводных труб диаметром 20—80 мм.

Водяное отопление имеет ряд преимуществ перед паровым:

  • бесшумность
  • гигиеничность
  • стабильность теплового режима
  • безопасность

Но оно более громоздко, тяжелее и ненадежно в условиях низких температур (возможно замерзание воды в трубопроводах).

Система воздушного отопления

Система воздушного отопления основана на обогреве помещений теплым воздухом. В настоящее время ее совмещают с системой вентиляции или с системой кондиционирования воздуха и как самостоятельную на судах не применяют.

Система вентиляции

Система вентиляции призвана поддерживать чистый, свежий воздух в жилых, служебных и общественных помещениях, в грузовых трюмах и танках, в провизионных кладовых, удалять скопление газов из коффердамов, аккумуляторных и т. д. Подаваемый в помещения наружный воздух специальной обработке не подвергается.

Система вентиляции подразделяется на общесудовую и вентиляцию различных помещений и постов. Различают:

  • естественную вентиляцию
  • искусственную вентиляцию

Вентиляционные дефлекторы

При естественной вентиляции движение воздуха вызывается разностью температур или ветром, который, воздействуя на специальные вентиляционные головки — дефлекторы (рис. 8.24), втягивает или вытягивает воздух из вентилируемого помещения. На современных судах естественную вентиляцию почти не применяют. В качестве искусственных побудителей движения воздуха используют центробежные и осевые вентиляторы с электро- или турбоприводом. В помещениях с загрязненным воздухом — в курительных, камбузах, изоляторах, санузлах, аккумуляторных — применяют вытяжную вентиляцию. Помещения, в которых всегда должен быть чистый воздух — каюты, салоны, посты, медблок, — оборудуют вдувной вентиляцией. Для обеспечения устойчивого притока воздуха используют комбинированную систему, т. е. в одном и том же помещении одновременно оборудуют и вдувную и вытяжную вентиляции, которые позволяют удалять загрязненный воздух и предотвращать распространение запахов по судну. Грузовые трюмы иногда оборудуют естественной вентиляцией, при этом вдувные дефлекторы устанавливают у кормовых переборок, а вытяжные — у носовых. Рефрижераторные трюмы снабжают искусственной вентиляцией.

Системы вентиляции обычно выполняют по групповому принципу, объединяя в группы однотипные по параметрам воздуха помещения в пределах одной вертикальной противопожарной зоны и одного водонепроницаемого отсека.

На судах, перевозящих скоропортящиеся грузы, а также в провизионных рефрижераторных кладовых применяют систему охлаждения воздуха (аэрорефрижерации). Воздух, вдуваемый в эти помещения, охлаждается либо в результате продувания его через специальные теплообменники, охлаждаемые в свою очередь с помощью рефрижераторных машин, либо непосредственно в обслуживаемом помещении, в котором установлены специальные батареи с хладоноси-телем — рассолом.

Чтобы лучше сохранить груз, а также уменьшить коррозию, в сухогрузные трюмы и грузовые танки подают осушенный воздух. Воздух осушают, пропуская его через воздухоосушительную установку со специальным химическим влагопоглотителем (адсорбентом), роль которого выполняет хлористый литий, силикагель, феррогель и другие вещества. Практикуется объединение воздухоосушительной установки с системой инертных газов; в этом случае в грузовые помещения подается не осушенный воздух, а осушенные инертные газы, что не только способствует уменьшению коррозии, но и повышает противопожарную безопасность.

Система кондиционирования воздуха

Система кондиционирования воздуха, получившая широкое распространение на морских судах, необходима для создания в помещениях, главным образом жилых и общественных, воздушной среды заданной температуры и влажности независимо от внешних условий. В этой системе сочетаются принципы действия систем вентиляции, отопления, охлаждения и осушения воздуха, поэтому в помещениях, имеющих систему кондиционирования, никаких других из упомянутых систем не устанавливают.

Систему кондиционирования оборудуют в пределах каждого водонепроницаемого отсека; группу помещений обслуживает один центральный кондиционер. Некоторые помещения (например, кают-компания, салоны) может обслуживать автономный кондиционер. Кондиционер состоит из воздушного фильтра, калориферов (первичного и вторичного), охладителя воздуха, увлажнителя и влагоотделителя. В зимнее время поступающий снаружи холодный воздух подогревается и увлажняется; в летнее время воздух охлаждают и осушают. В помещении заданные параметры воздуха поддерживаются автоматически с помощью специальных регуляторов.

В работе системы кондиционирования воздуха можно использовать атмосферный воздух, а также, частично, воздух обслуживаемого помещения (рециркуляционный воздух).

Различают два основных типа систем кондиционирования воздуха:

  • низконапорную (низкоскоростную)
  • высоконапорную (высокоскоростную)

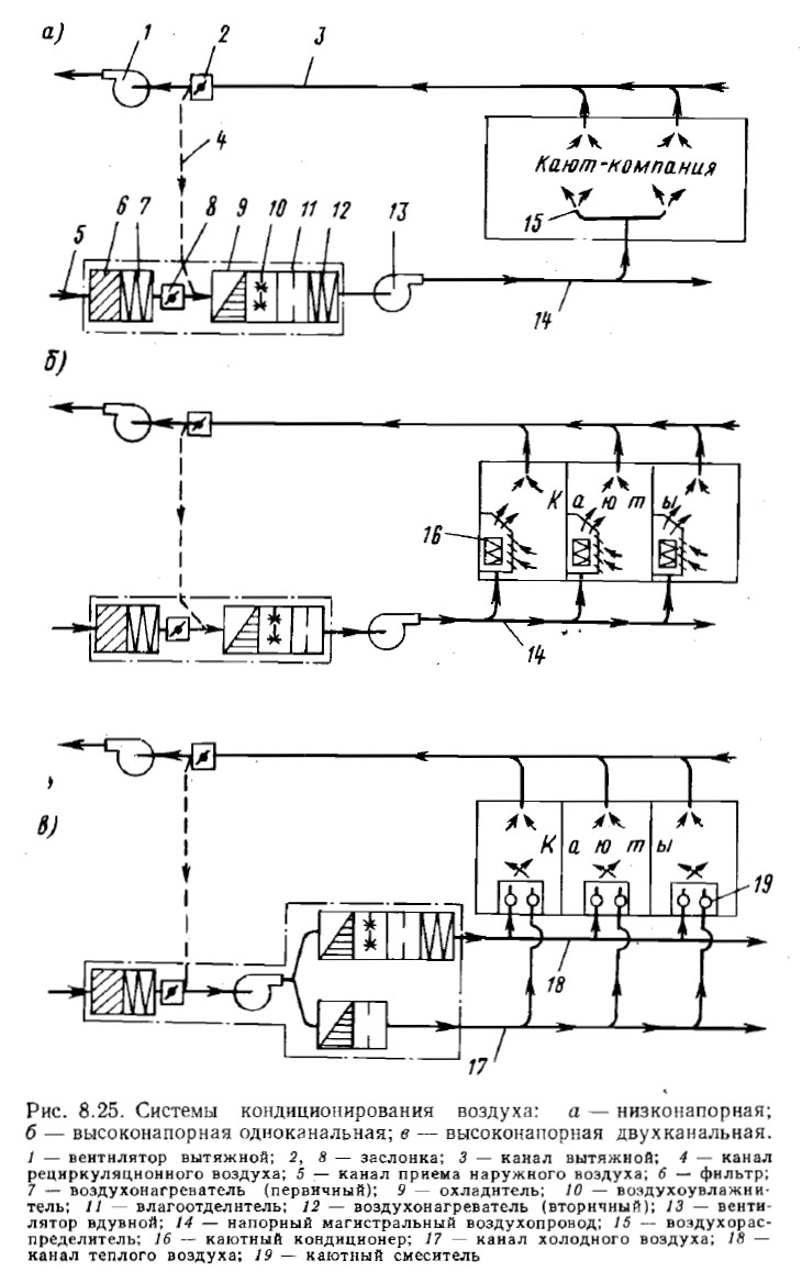
Низконапорная система (рис. 8.25, а) состоит из кондиционера, вентиляторов, магистрального трубопровода и местных отростков с воздухораспределителями. Засасываемый вдувным вентилятором наружный воздух поступает в кондиционер, обрабатывается и через магистральный трубопровод подается к воздухораспределителям, откуда попадает в обслуживаемые помещения. Из помещений воздух удаляется вытяжным вентилятором, причем около 2/3 его снова поступает в кондиционер. Так как при такой схеме полная обработка воздуха осуществляется в центральном кондиционере, то во все помещения поступает воздух с одинаковыми параметрами; поэтому данную систему применяют для помещений, в которых не требуется индивидуальной регулировки, — кают-компания и другие общественные помещения.

Высоконапорная система (рис. 8.25, б и в) кондиционирования отличается более высокой скоростью подачи воздуха (20—30 м/с вместо 10—15) и большим его напором. Ее применяют в помещениях, требующих индивидуального регулирования температуры, и выполняют или по одноканальной, или двухканальной схеме.

Системы кондиционирования воздуха

В первом случае в центральный кондиционер поступает только наружный воздух, который доводят до температуры 10—15° и под повышенным напором подают в местные (каютные) кондиционеры, представляющие собой водяные калориферы; здесь воздух вторично подогревается до 20—25°. Обработанный таким образом воздух выходит из каютных кондиционеров с повышенной скоростью, подсасывая при этом воздух из помещения. Последний, проходя через кондиционер, также подвергается подогреву (или охлаждению — в зависимости от времени года). Таким образом осуществляется рециркуляция и местное регулирование температуры.

При двухканальной схеме к помещениям по двум параллельным магистралям пошлют подогретый и холодный воздух, который можно в разных пропорциях смешивать в каютных воздухораспределителях.

Литература

Устройство судна - Фрид Е.Г. [1990]

MirMarine
MirMarine – образовательный морской сайт для моряков.
На нашем сайте вы найдете статьи по судостроению, судоремонту и истории мирового морского флота. Характеристики судовых двигателей, особенности устройства вспомогательных механизмов и систем.