Компрессоры фирм «бурмейстер и вайн» и «вильгельм поппе»

Эти электрокомпрессоры (ЭКП) широко распространены на морских судах: вертикальные, двухступенчатые, двойного действия с приводом от электродвигателя. В таблице 9.7 приведены их технические характеристики.

Технические характеристики компрессоров

Компрессор фирмы «Бурмейстер и Вайн»

На рис. 13.8 показан чертеж компрессора. Позиции означают следующие детали и узлы: 1 - нагнетательный клапан второй ступени, 2 - блок цилиндра, 3 - поршень, 4 — крышка цилиндра, 5 - входной воздушный фильтр, 6 - капельная масленка для смазки цилиндра первой ступени, 7 - всасывающий клапан первой ступени, 8 - нагнетательный клапан первой ступени, 9 - воздухоохладитель, 10 - всасывающий клапан второй ступени, 11 - масляный фильтр, 12 - масляный насос.

На рис. 13.9 показан этот же компрессор (разрез «А-А»).

Компрессор фирмы «Бурмейстер и Вайн» (разрез А-А)

Рис. 13.9. Компрессор фирмы «Бурмейстер и Вайн» (разрез А-А): 1 - головной подшипник; 2 - шатун; 3 - коленвал.

Принцип действия компрессора аналогичен рассмотренным выше компрессорам. Он кратко заключается в следующем. При ходе поршня 3 вниз воздух поступает через входной фильтр 5 (рис. 13.8) и всасывающий клапан 7 в первую ступень компрессора. Далее при ходе поршня вверх воздух сжимается и подается через нагнетательный клапан 8 первой ступени в холодильник 9. Охлажденный воздух поступает через всасывающий клапан 10 в цилиндр второй ступени. При очередном ходе поршня 3 вниз воздух сжимается до конечного давления и подается через нагнетательный клапан 1 в холодильник второй ступени. При этом же ходе вниз происходит процесс всасывания в первую ступень. Охлажденный воздух из холодильника второй ступени подается в воздушные баллоны.

Конструкция компрессоров отличается простотой и удобством в эксплуатации. Отметим некоторые особенности.

Система циркуляционной смазки выполнена по типу «мокрый картер», т. е. основное количество циркуляционного масла находится в картере. На днище картера и в его крышке выполнена развитая система маслопроводов, в которых аккумулируется большое количество масла под давлением. Это положительно влияет на смазку подшипников при остановке компрессора, но отрицательно сказывается в период его пуска.

Все клапаны - кольцевого типа, одинаковых размеров, только ход пластины клапанов первой ступени составляет 1,5 мм, а второй ступени - 1,0 мм. Существенная особенность конструкции - наличие цилиндрической пружины из проволоки прямоугольного профиля. Это повышает надежность и моторесурс. Унификации деталей клапанов - высокая.

Холодильник первой ступени - трубчатый, Трубные решетки крепятся стяжными болтами. Воздушное пространство холодильника разделено на камеры турбулизирующими и направляющими пластинами, улучшающими теплоотдачу.

Холодильник второй ступени - змеевикового типа, что при больших давлениях воздуха обеспечивает большую надежность уплотнений и интенсивность теплообмена.

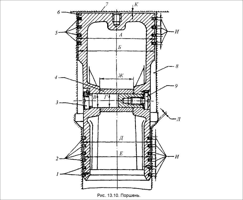
На рис. 13.10 показан поршень. Позиции соответствуют следующим деталям: 1 - кольца маслосъемные, 2 - кольца поршневые, 3 - поршневой палец, 4 - втулка, 5 - кольца поршневые, 6 - поршень, 7 - крышка цилиндра, 8 - цилиндр, 9 - винт.

На этом же рисунке приведены обозначения основных соединений: А, Б, В, Г, Д, Е, Ж, И, К, Л, а в таблице 13.8 указаны нормы зазоров и натягов между деталями этих соединений. Здесь обозначено: КР - капитальный ремонт; ТР - текущий ремонт. Такая информация является примерной, но может оказаться очень полезной в процессе эксплуатации.

Поршень

Нормы зазоров, мм

Компрессоры типа WP-2355D (фирма «Вильгельм Поппе»)

Компрессор типа WP-2355D (продольный разрез)

На рис. 13.11 показан продольный разрез компрессора. Позиции обозначают следующие детали и узлы: 1 - пробка для спуска масла, 2 - картер, 3 - крышка картера, 4 - лубрикатор, 5 - коленвал, 6 - шатун, 7 - поршневой палец, 8 - блок цилиндра, 9 - поршень, 10 - комбинированный (всасывающий и нагнетательный) клапан первой ступени, 11 - отжимное устройство всасывающего клапана, 12- воздушный фильтр, 13 - шибер регулирования производительности, 14 - уплотнение вала.

Компрессор типа WP-2355D (поперечный разрез)

На рис. 13.12 приведен поперечный разрез компрессора. Позиции обозначают: 1 - противовес, 2 - мотылевый подшипник, 3 - нагнетательный клапан второй ступени, 4 - холодильник второй ступени, 5 - предохранительный клапан, 6 - холодильник первой ступени, 7 - всасывающий клапан, 8 - крышка картера, 9 - щуп уровня масла.

Этот компрессор - вертикальный, одноцилиндровый, двухступенчатый с водяным охлаждением. Его характеристики указаны в таблице 13.9.

Принцип действия компрессора кратко заключается в следующем. При ходе поршня вниз воздух поступает через входной фильтр - глушитель 12 (рис. 13.11) и комбинированный (всасывающий + нагнетательный) клапан 10 в первую ступень компрессора. Далее при ходе поршня вверх воздух сжимается до промежуточного давления (0,6 МПа) и подается через тот же комбинированный клапан 10 в охладитель 6 (рис. 13.12) первой ступени. Охлажденный воздух подается через всасывающий клапан 7 в цилиндр второй ступени. При следующем ходе поршня вниз воздух сжимается до конечного давления (3,5 МПа) и подается через нагнетательный клапан 3 второй ступени в охладитель 4 второй ступени, откуда он поступает в воздушные баллоны. При этом же ходе поршня вниз происходит процесс всасывания в первую ступень. Конструктивно полость первой ступени находится над поршнем, а вторая ступень представляет кольцевое пространство между поршнем и цилиндром.

Технические характеристики компрессора WP-2355D

Особенность компрессора данного типа - наличие приспособления 11 для разгрузки (холостой ход) при пуске и прогреве компрессора, которое отжимает пластину всасывающего клапана 10 ступени I. Конструкция этого приспособления проста: рычаг с эксцентриком при установке в вертикальное положение перемещает вниз шток 11, соединенный с нажимным стаканом, и открывает всасывающий клапан ступени I. Установка рычага в горизонтальное положение освобождает шток, который вместе с нажимным стаканом перемещается вверх под действием пружины, размещенной в стакане.

Кроме того, компрессор снабжен приспособлением для регулирования производительности методом дросселирования на всасывании. Для этого глушитель оборудован дроссельной задвижкой 13. Количество всасываемого воздуха, а следовательно, производительность компрессора, можно регулировать поворотом рычага, который имеет указатель, шкалу и фиксатор положения. Приспособление для регулирования производительности существенно упрощает работу обслуживающего персонала в период длительного маневрирования судна, так как позволяет избежать частых пусков компрессора.

Техническое обслуживание компрессоров

В процессе эксплуатации возникают различные неисправности, которые необходимо устранять. Приведем основные неисправности и способы их устранения (табл. 13.10). Заметим, что большинство неисправностей имеет общий характер для разных типов компрессоров, но указанные дефекты относятся к компрессорам фирмы «Бурмейстер и Вайн».

Основные неисправности компрессоров

Основные неисправности компрессоров

Основные неисправности компрессоров

Основные неисправности компрессоров

Основные неисправности компрессоров

Основные неисправности компрессоров

Основные неисправности компрессоров

Опыт эксплуатации поршневых компрессоров

На мировом флоте широкое распространение получили компрессоры разных фирм: B&W (Дания), Reavel (Англия) и другие. Оценим опыт их эксплуатации.

Компрессоры Reavel были установлены на двух из шести судов ЧМП датской постройки, а также устанавливались на всех судах отечественной постройки, поставляемых на экспорт. Имея 12-ти летний опыт их эксплуатации, считаем их более надежными по сравнению с другими компрессорами.

Компрессоры B&W устанавливались на всех судах отечественной постройки. Сначала фирменные на судах типа «Полтава» (Бежица), затем построенные по лицензии.

Компрессоры ЭКП 210/25 обычно устанавливают на судах по 2 и 3 штуки 3-х и 4-х цилиндрового исполнения и один одноцилиндровый, как аварийный. В настоящее время еще много бывших судов ЧМП работают в различных компаниях за рубежом.

Названные компрессоры обладают рядом существенных недостатков. Назовем их.

Смазка цилиндров осуществляется капельными масленками, которые должны регулироваться на подачу 1÷2 капли в минуту. Это сложно выполнять, т. к. компрессоры расположены далеко от поста управления ГД. Вследствие этого они работают фактически «безнадзорно», в основном на маневрах. Подача масла зависит от изменения его температуры в масленках, а также от вибрации. Зачастую маслоподача завышена, поэтому происходит интенсивное нагарообразование на клапанах. Это вызывает неплотность клапанов, перегрев всасывающих трубок 2¬й ступени, перегрев крышек цилиндров, потерю производительности. Возникает даже дым на крышках цилиндров, поэтому приходится компрессор срочно останавливать и заменять комплект клапанов.

Производительность ЭКП зависит от плотности заглушек в бобышках поршневого пальца, а также от плотности посадки самого пальца в этих бобышках. Заглушки часто приотдаются и сжатый воздух из цилиндра 2-й ступени через поршень попадает в картер, что можно определить по выходу паров масла из вестовой трубы. Такой же эффект возникает при выработке или поломке поршневых колец. Нередко были случаи, когда заглушки, приотдаваясь, сначала задирали цилиндр 2-й ступени, а затем полностью отдавались и попадали в цилиндр, вредное пространство которого равно примерно 2 мм. В этом случае на поршне образуется вмятина, а в блоке цилиндров - дыра в зарубашечное пространство. Забортная вода заполняет компрессор. Блок цилиндра подлежит замене, мотылевые болты - требуют дефектоскопии и возможно замены. Такой аварийный случай сопровождается мощным стуком.

Компрессоры охлаждаются забортной водой. При этом часто забивается шламом отверстие перехода охлаждающей воды из цилиндра в крышки. Это можно проверить ощупыванием выходных трубок от крышек цилиндров, они перегреваются. Требуется разборка, очистка, промывка.

-Нажимные болты проставок, прижимающих корпуса клапанов к посадочным местам в крышках цилиндров, могут приотдаваться. Это определяется прощупыванием головок болтов при подносе ветоши к сеткам всасывающих клапанов 1-й ступени. Если ветошь притягивается, это указывает на плотность и целостность пластин клапана и то, что он прижат к гнезду. В противном случае возможно образование трещин в нижнеи половине корпуса клапана 1-и ступени, вследствие чего он разрушается и попадает в цилиндр. При этом раздается сильный стук и разрушение компрессора.

При техническом использовании и обслуживании этих компрессоров следует выполнять следующие основные операции.

После запуска компрессора необходимо:

  • Убедиться, что давление масла нормальное, если его нет - остановить компрессор, открыть крышку масляного фильтра и залить маслом.
  • Прощупать прижимные болты корпусов клапанов в крышках.
  • Проверить работу всасывающих клапанов, приложив к ним чистую ветошь.
  • Прощупывать трубки отходящей воды от крышек цилиндров и трубки всасывания клапанов 2-й ступени.
  • Всегда иметь не менее одного полного запасного комплекта клапанов (с нормальной высотой подъема пластин).
  • При работе компрессоров (на маневрах) изыскивать возможность постоянного наблюдения за ними, что проблематично в связи с сокращенным экипажем и расположением компрессоров далеко от ПУ ГД на другой платформе или на противоположном борту. На автоматизированных судах контролировать работу компрессоров можно только по сигнализаторам.
  • Использовать только рекомендованные компрессорные масла.

Приведем некоторые аварийные случаи с поршневыми компрессорами разных фирм.

В 3-х ступенчатом компрессоре с дифференциальным поршнем (2-х стороннего действия) все три трубчатых охладителя воздуха вставлены в общий чугунный корпус. Нагнетательные клапаны 2-й ступени и всасывающий 3-й ступени оказались неплотными. Труба между ними нагрелась до вишневого цвета. Произошел взрыв паров масла, т. к. цилиндры компрессора смазывались лубрикатором. При этом разорвало несколько трубок холодильника и вырвало стенку 1,0 х 1,5 м в общем корпусе холодильника. Разрыв предохранительной резиновой мембраны не предотвратил аварию.

На судне с СОД и ВРШ установлены два одноцилиндровых ЭКП 2-х стороннего действия «Хамворти» (Р = 3,5 МПа). Смазка цилиндров 1-ой и 2-ой ступеней барботажная. Производительность компрессоров 40 м3. Компрессоры работали в автоматическом режиме (судно А2). Производительность одного компрессора часто уменьшалась, поэтому включался второй компрессор. Для предотвращения этого недостатка в течение гарантийного срока (12 месяцев) неоднократно меняли выработанные компрессионные кольца и один раз даже блоки цилиндров. В гарантийном ремонте (во Франции) вновь полностью заменили блоки цилиндров, поршни и кольца новыми. Однако, в рейсе недостатки начали повторяться снова. Было решено, что причиной является недостаточная смазка цилиндров, поэтому стали 2 раза в течение суток снимать один клапан на крышке цилиндра и дополнительно заливать по 100-150 см3 масла. Радикального результата опять не получили. После этого сняли по одному из 2-х маслосъемных колец. ЭКП стали работать значительно лучше.

Во время работы ЭКП 2-х стороннего действия возникли сильные стуки. При вскрытии в картере обнаружили много воды. Сняли крышку, подняли поршень: заглушка в бобышке под поршневой палец отсутствует, произошел задир цилиндра 2-й ступени. На днище цилиндра 2-й ступени образовалась сквозная дыра в зарубашечное пространство, диаметр которой соответствует заглушке. Вынуждены были заменить поршень и блок цилиндра.

Такой случай можно предупредить только регулярным осмотром заглушек при ревизии клапанов 2-ой ступени. Следует иметь в виду, что до выпадения заглушки в цилиндр 2-й ступени возникает задир цилиндра приотдавшейся заглушкой, поэтому происходит прорыв воздуха из цилиндра в картер и из вестовой трубы картера значительно усиливается выход паров масла.

На ЭКП «Сперре» вместо заглушек установлены с двух сторон поршневого пальца кольцевые стопора «Зегера». На ЭКП малой производительности (20 м3/ час - один цилиндр) эти стопора ставят через пролеты клапанов 2-й ступени. Они малого диаметра и специальные щипцы не проходят, поэтому недостаточно квалифицированный персонал иногда устанавливает кольца неправильно, в результате чего они выпадают в цилиндр 2-й ступени, а палец задирает цилиндр. При этом из вестовой трубы картера резко усиливается выброс паров масла.

В ЭКП «Бурмейстер и Вайн» с двухсторонним поршнем пластинчатые клапаны (в сборе после ремонта) устанавливают в пролет корпусом на гнездо. Затем сверху клапана устанавливают прижимную скобу. Пролет закрывают квадратной крышкой и прижимают гайками на 4-х шпильках. По центру крышки заворачивается болт с контргайкой, он зажимает скобу клапана. Если прижимной болт в работе приотдается, то чугунный корпус клапана начинает стучать по гнезду в крышке цилиндра. Затем он раскалывается и крупные осколки падают в цилиндр 1-й ступени. Раздаются сильные стуки. После остановки и осмотра ЭКП обнаружили, что один из 4-х цилиндров стал выше остальных примерно на 80 мм. Лапы блока цилиндра, через которые проходят с двух сторон стяжные связи, оборваны. Шатун оборвался, выбил кусок картера, согнул масляный коллектор, деформировал блок цилиндра и коллекторы, а также повредил водяные и воздушные трубы. Для восстановления ЭКП пришлось заменить: блок цилиндра, поршень, шатун с мотылевым подшипником, а также изготовили и заменили стяжные связи цилиндров, а также крышку цилиндра. Сваркой и Девконом «А» произвели ремонт картера. Произвели рихтовку труб. ЭКП был восстановлен.

Предупредить такую аварию можно периодическим ощупыванием прижимных болтов на крышках клапанов. При появлении ударов ЭКП надо остановить, осмотреть клапаны и при необходимости переустановить их заново.

При работе ЭКП раздавался равномерный металлический стук. Остановили компрессор и осмотрели клапаны на крышке, замерили вредные пространства, произвели осмотр деталей движения - неисправностей не обнаружили. При проворачивании ЭКП рычагом - заеданий не было. Причиной оказалось ослабление посадки маховика на шпонке вала. После замены шпонки ЭКП стал работать нормально.

MirMarine
MirMarine – образовательный морской сайт для моряков.
На нашем сайте вы найдете статьи по судостроению, судоремонту и истории мирового морского флота. Характеристики судовых двигателей, особенности устройства вспомогательных механизмов и систем.