Главная
ДВС
Основы ДВС
Детали, узлы и системы дизеля
Топливо и топливные системы
Конструкции судовых дизелей
Автоматика и контрольно-измерительные приборы
Эксплуатация судовых дизелей
MAN B&W
MAN B&W 50-108 ME-C
MAN B&W 50-98MC
Wärtsilä & Sulzer
Wärtsilä 50DF
Wärtsilä 34DF
СВМ
Судовые насосы
Рулевые машины и устройства
Якорные и швартовные механизмы
Механизмы грузоподъемных устройств
Судовые водоопреснительные установки
Судовые системы
Вспомогательные котлы
Судовые Холодильные установки
Компрессоры
Паромашинная установка
Гидравлические механизмы
Судовые энергетические установки
Судоремонт
Восстановление и упрочнение деталей механизмов
Ремонт корпуса и судовых устройств
Ремонт котлов и теплообменных аппаратов
Ремонт главных дизелей
Ремонт турбин
Ремонт автоматики
Ремонт валопроводов и гребных винтов
Ремонт вспомогательных механизмов и систем
Дефекты судовых дизелей
Судоводитель
Устройство судна
Мореходная астрономия
Морские карты, таблицы, лоции
ГМССБ
МППСС
Плавание во льдах
Несение вахты
Матрос
Ведение документации
Грузовые операции
Навигация и лоция
Управление судном
Технические средства судовождения
Гидрометеорология
МАМС
Электромеханик
Судовая автоматика
Судовые электростанции
Электрические машины
Судовая электрическая аппаратура
Судовые электроприводы
Сварщик
Сварка металлов
Статьи на английском
Marine boiler
Engine Room
Fire Fighting
Emergency
Safety of Navigation
Marine engine
Boating
Повар
Справочник судового повара
Морское право
СОЛАС-74
МАРПОЛ 73/78
ПДНВ
Безопасность мореплавания
Аварии
НБЖС
Аварийные и спасательные средства
Спасательный катер
Медицина
Английский
Английский для судомехаников
Английский для сварщиков
Морская история
История флота
Отечественные ледоколы
Крейсера
Подводные лодки
Вторая мировая война
Авианосцы
Морские истории и байки
История парусных судов
Морской справочник
Дайвинг
Login
Login
Запомнить меня
Забыли пароль?
Войти
Регистрация
WHAT ARE YOU LOOKING FOR?
Popular Tags
Якорные и швартовные механизмы
Якорное устройство
Я
Эхолот
Энергия тела
Электромеханик
Электрические явления
Электрические машины
Главная
ДВС
Основы ДВС
Детали, узлы и системы дизеля
Топливо и топливные системы
Системы впрыска топлива непосредственного действия с механическим приводом
Топливные системы с гидравлическим приводом топливных насосов и насос-форсунок
Аккумуляторные топливные системы
Топливная аппаратура газовых и газодизельных судовых двигателей
Показатели работы топливной аппаратуры современных дизелей
Конструкции судовых дизелей
Автоматика и контрольно-измерительные приборы
Эксплуатация судовых дизелей
MAN B&W
MAN B&W 50-108 ME-C
MAN B&W 50-98MC
Wärtsilä & Sulzer
Wärtsilä 34DF
Wärtsilä 50DF
СВМ
Судовые насосы
Рулевые машины и устройства
Якорные и швартовные механизмы
Механизмы грузоподъемных устройств
Судовые водоопреснительные установки
Судовые системы
Вспомогательные котлы
Судовые Холодильные установки
Компрессоры
Паромашинная установка
Гидравлические механизмы
Судовые энергетические установки
Судоводитель
Устройство судна
Мореходная астрономия
Морские карты, таблицы, лоции
ГМССБ
МППСС
Плавание во льдах
Несение вахты
Матрос
Ведение документации
Грузовые операции
Навигация и лоция
Управление судном
Технические средства судовождения
Гидрометеорология
МАМС
Электромеханик
Судовая автоматика
Судовые электростанции
Электрические машины
Судовая электрическая аппаратура
Судовые электроприводы
Морское право
СОЛАС-74
МАРПОЛ 73/78
ПДНВ
Морская история
История флота
Отечественные ледоколы
Крейсера
Подводные лодки
Вторая мировая война
Авианосцы
Морские истории и байки
История парусных судов
Тяжелые крейсера типа «Фурутака» (1926) - Япония
21 декабря 2021
Kent - тяжелые крейсера ВМС Великобритании (1924)
01 декабря 2021
Hawkins - тяжелые крейсера ВМС Великобритании (1916)
30 ноября 2021
Garibaldi - броненосные крейсера аргентинских ВМС (1896)
30 ноября 2021
Рождение авианосцев - Авиация приходит на море
14 ноября 2021
Николай Каланов - Прозвище по заслугам
21 декабря 2021
Сергей Черных - Не воруйте у штурмана карандаши
21 декабря 2021
Иван Муравьёв - Южный Крест или Мечты сбываются
21 декабря 2021
Виктор Белько - А был такой случай: Жеребчиков и шкипер
21 декабря 2021
Суда Магеллана и их снабжение
23 января 2022
Golden Hind - английский галеон (1577)
25 января 2022
Главная
СВМ
Судовые энергетические установки
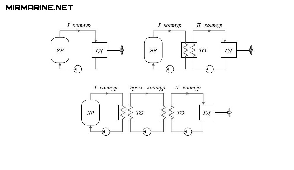
Системы судовых ядерных энергетических установок
admin
Судовые энергетические установки
12 декабря 2021
Теплоносители судовых ядерных энергетических установок
admin
Судовые энергетические установки
12 декабря 2021
Парогенераторы судовых ядерных энергетических установок
admin
Судовые энергетические установки
11 декабря 2021
Конструкция элементов ядерных реакторов
admin
Судовые энергетические установки
11 декабря 2021
Особенности и классификация судовых ядерных энергетических установок
admin
Судовые энергетические установки
11 декабря 2021
Магнитогидродинамические установки
admin
Судовые энергетические установки
11 декабря 2021
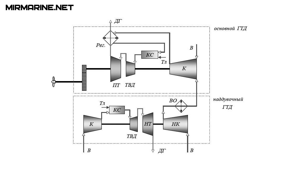
Газотурбинная установка со свободнопоршневыми генераторами газа
admin
Судовые энергетические установки
11 декабря 2021
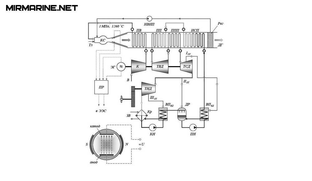
Газотурбинная установка с парогазовым рабочим телом (контактные ГПТУ)
admin
Судовые энергетические установки
11 декабря 2021
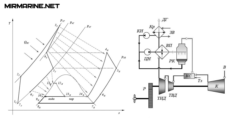
Комбинированные установки с термодинамической связью
admin
Судовые энергетические установки
11 декабря 2021
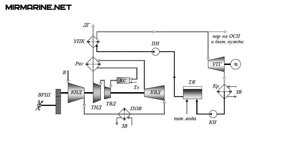
Комбинированные установки с механической связью
admin
Судовые энергетические установки
11 декабря 2021
Классификация и особенности комбинированных энергетических установок
admin
Судовые энергетические установки
11 декабря 2021
Просмотров: 3913
Причины появления комбинированных энергетических установок
admin
Судовые энергетические установки
11 декабря 2021
Просмотров: 914
Размещение котлотурбинной энергетической установки на судне
admin
Судовые энергетические установки
08 декабря 2021
Просмотров: 1816
Системы паротурбинных установок
admin
Судовые энергетические установки
08 декабря 2021
Просмотров: 6414
1
2
3
4
5
6
7
8
Back To Top
MirMarine – образовательный морской сайт для моряков.
На нашем сайте вы найдете статьи по судостроению, судоремонту и истории мирового морского флота. Характеристики судовых двигателей, особенности устройства вспомогательных механизмов и систем.
Категории
ДВС
СВМ
Судоводитель
Электромеханик
Морское право
Сварщик
Повар
Безопасность мореплавания
Морская история
История флота
Отечественные ледоколы
Крейсера
Подводные лодки
Вторая мировая война
Авианосцы
Морские истории
Популярные теги
ДВС
Судовые Холодильные установки
СВМ
Судовые энергетические установки
Электромеханик
Вспомогательные котлы
Английский для судомехаников
Главная
ДВС
Основы ДВС
Детали, узлы и системы дизеля
Топливо и топливные системы
Конструкции судовых дизелей
Автоматика и контрольно-измерительные приборы
Эксплуатация судовых дизелей
MAN B&W
MAN B&W 50-108 ME-C
MAN B&W 50-98MC
Wärtsilä & Sulzer
Wärtsilä 50DF
Wärtsilä 34DF
СВМ
Судовые насосы
Рулевые машины и устройства
Якорные и швартовные механизмы
Механизмы грузоподъемных устройств
Судовые водоопреснительные установки
Судовые системы
Вспомогательные котлы
Судовые Холодильные установки
Компрессоры
Паромашинная установка
Гидравлические механизмы
Судовые энергетические установки
Судоремонт
Восстановление и упрочнение деталей механизмов
Ремонт корпуса и судовых устройств
Ремонт котлов и теплообменных аппаратов
Ремонт главных дизелей
Ремонт турбин
Ремонт автоматики
Ремонт валопроводов и гребных винтов
Ремонт вспомогательных механизмов и систем
Дефекты судовых дизелей
Судоводитель
Устройство судна
Мореходная астрономия
Морские карты, таблицы, лоции
ГМССБ
МППСС
Плавание во льдах
Несение вахты
Матрос
Ведение документации
Грузовые операции
Навигация и лоция
Управление судном
Технические средства судовождения
Гидрометеорология
МАМС
Электромеханик
Судовая автоматика
Судовые электростанции
Электрические машины
Судовая электрическая аппаратура
Судовые электроприводы
Сварщик
Сварка металлов
Статьи на английском
Marine boiler
Engine Room
Fire Fighting
Emergency
Safety of Navigation
Marine engine
Boating
Повар
Справочник судового повара
Морское право
СОЛАС-74
МАРПОЛ 73/78
ПДНВ
Безопасность мореплавания
Аварии
НБЖС
Аварийные и спасательные средства
Спасательный катер
Медицина
Английский
Английский для судомехаников
Английский для сварщиков
Морская история
История флота
Отечественные ледоколы
Крейсера
Подводные лодки
Вторая мировая война
Авианосцы
Морские истории и байки
История парусных судов
Морской справочник
Дайвинг
Пользуясь настоящим веб-сайтом, вы даете свое согласие на использование файлов cookies.
Узнать подробнее
Понятно