Пластинчатые насосы - устройство, назначение

Роторно-пластинчастые (шиберные) насосы

Классификация:

  • 1) по числу пластин - одно, 2-х, многопластинчатые;
  • 2) по расположению ротора – с эксцентричным и концентричным расположением ротора;
  • 3) по способу действия - простого и двойного;
  • 4) по изменению направления перекачиваемой жидкости - реверсивные и нереверсивные;

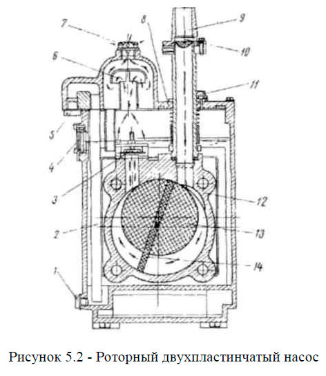
На рисунке 5.2 изображен простейший 2-х ступенчатый насос простого действия, нереверсивный, с эксцентричным расположением ротора, постоянной производительности. В корпусе 12 вращается эксцентрично расположенный в цилиндрической камере ротор 13. В пазах ротора свободно скользят две пластины 14, распираемые пружиной так, что выходящие из ротора концы пластин прижимаются к стенкам камеры.

Роторный двухпластинчатый насос

При вращении ротора по часовой стрелке пластина поворачивается, поджимаемая пружиной и действием центробежной силы. За ней в рабочей камере создается разрежение, а перед ней — давление. В результате из всасывающей трубы 9 через фильтр 10 воздух и пары жидкости всасываются в разреженную полость насоса, а затем через невозвратный клапан 3, механический сепаратор 6 и воздушную трубу 7 выходят в атмосферу.

Насос с патрубками размещен в резервуаре 8, который до определенного уровня заполнен маслом для предотвращения подсасывания воздуха. Уровень масла контролируют через смотровое стекло 4. Резервуар осушается через трубу 2 и верхнее отверстие, закрытое пробкой 5, или через нижнее отверстие с пробкой 1. Заполнять резервуар можно через отверстие с пробкой 11.

Насос используется на судах как вакуумный для создания пониженного давления. Его недостаток состоит в неравномерности подачи (пульсации). Для выравнивания подачи применяют насосы с большим количеством пластин.

В рассмотренных роторно-пластинчатых насосах изменение объема между двумя пластинами-вытеснителями при всасывании и нагнетании достигается эксцентричным расположением ротора. Кроме того, они являются насосами простого (одинарного) действия, т. е. за один оборот ротора каждая пара пластин один раз осуществляет прием и подачу жидкости.

Недостатоктаких насосов — большая нагрузка на ось ротора и пластины от сил давления жидкости и неравномерность подачи.

Более совершенными можно считать пластинчатые насосы с концентричным расположением ротора и фасонным профилем рабочей камеры корпуса. Схема такого насоса двойного действия изображена на рисунке5.3. В фасонной рабочей камере корпуса 6 имеются четыре окна с прорезями: 7 и 3 — всасывающие, 4 и 1 — нагнетательные. В роторе 5 имеются пазы, в которых перемещаются радиально пластины 2. При вращении ротора пластины прижимаются под действием центробежной силы к внутренней поверхности рабочей камеры. При вращении ротора в направлении стрелки о объем между двумя соседними пластинами при прохождении окон 7 и 3благодаря фасонному профилю камеры будет увеличиваться, что обеспечит понижение давления и всасывание жидкости.

Многопластинчатый насос двойного действия

У окон 4 и 1 объем будет уменьшаться, давление возрастать и жидкость будет нагнетаться. Таким образом, за один оборот ротора каждая пара пластин нагнетает жидкость два раза. Поскольку рабочее давление жидкости действует на ротор с диаметрально противоположных сторон (окон 1 и 4), давление жидкости на подшипники ротора будет уравновешиваться. Теоретическую производительность многопластинчатого насоса двойного действия без учета объема, занимаемого пластинами, можно вычислить по следующей формуле:

Мощность насоса определяется по ранее приведенным формулам. Общий КПД насоса средней мощности составляет ŋ= 0,85.

Такой тип насосов применяется в системе гидропривода палубных механизмов на судах ТПР типа «Грумант» («Эхолот»).

Конструкция многопластинчатого насоса системы «Норвинч» показана на рисунке 5.4.

Насос состоит из чугунного корпуса 1, закрепленного лапами 9 на фундаменте. В корпусе размещена фасонная рабочая камера двойного действия с правыми 7 и 8 и левыми 11 и 12 рабочими камерами. Ротор 4 имеет десять радиальных пазов, в которые вставлены стальные пластины 3. При вращении ротора с пластинами по часовой стрелке через патрубок 5 жидкость всасывается, через патрубок 2 — нагнетается. Правые рабочие камеры могут соединяться поворотом крана-золотника 6 с всасывающим патрубком 5 поочередно или одновременно. Это позволяет устанавливать работу насоса на режим простого (выключив из работы правую камеру 7), или двойного действия с увеличением производительности вдвое. Насос может обеспечить подачу 118 л/мин рабочего масла при давлении -35·106 Па. Нижние кольцевые каналы 13 и 14 имеют внизу отверстие, закрытое крышкой 10 для спуска жидкости из насоса.

Конструкция многопластинчатого насоса типа «Норвинч»

Роторно-пластинчатые насосы просты в устройстве, обладают хорошим всасыванием и малопульсирующей подачей жидкости, компактны, могут выполняться как в одинарном, так и сдвоенном исполнении (два ротора на одном валу).

Их недостатки — нерегулируемая производительность и сравнительно небольшие давления нагнетания (обычно не более ~64-105 Па (64 кгс/см2). Для нормальной эксплуатации этих насосов необходимо, чтобы перекачивались чистые минеральные масла с вязкостью ВУ 2,6-3,3°Е50 при температуре от +10 до 50° С.

Преимущества:

  • 1) простота конструкции,
  • 2) малопульсирующая подача,
  • 3) хорошее всасывание,
  • 4) обратимость.

Недостатки:

  • 1) чувствительность к частоте перекачиваемой жидкости;
  • 2) сравнительно невысокое давление нагнетания;
  • 3) повышенная требовательность к зазорам;

Правила технической эксплуатации судовых роторных насосов

При обслуживании роторных насосов необходимо руководствоваться инструкцией завода-изготовителя и правилами эксплуатации СВМ.

При подготовке насосов к пуску необходимо:

  • 1) залить насос перекачиваемой жидкостью перед первым пуском;
  • 2) открыть приемный и нагнетательный клапаны, проверить состояние цистерн и уровень жидкости в них;
  • 3) проверить направление движения приводного двигателя;
  • 4) проверить и помыть фильтры.

Обслуживание роторных насосов вовремя работы заключается в осуществлении контроля за показателями КИП, состоянием сальников, а также соединительных муфт, отсутствии вибрации и не эксплуатационных шумов.

В случае падения напора и подачи необходимо проверить:

  • 1) чистоту приемного фильтра;
  • 2) регулировку редукционного клапана;
  • 3) частоту вращения приводного двигателя;
  • 4) плотность сальников и отсутствия подсоса воздуха на всасывании;
  • 5) правильность открытия клапанов;
  • 6) техническое состояние насоса - величину зазоров на соответствие паспортным рекомендациям.

Литература

Судовые вспомогательные механизмы - Карамушко, Лукьянов [1968]
Эксплуатация судовых вспомогательных механизмов, систем и устройств - Попов В.В. [2021]

MirMarine
MirMarine – образовательный морской сайт для моряков.
На нашем сайте вы найдете статьи по судостроению, судоремонту и истории мирового морского флота. Характеристики судовых двигателей, особенности устройства вспомогательных механизмов и систем.