Вертикальные огнетрубные и водотрубные котлы цилиндрической формы

К этой группе относятся котлы «Кохран», «Линдхольмен», «Рапид», «Санрод», «Кларксон», «Спэннер», КОВ-8, «Убигау», КВЦ-15-8, «Ольборг AQ-З» и его модификации. Большинство этих котлов оборудуются автоматизированными форсунками типа «Монарх», «Рей», «Джильбарко», «Унитерм», «Унимат».

Особенности компоновки вышеперечисленных котлов приведены ниже.

Огнетрубный вертикальный котел КОВ-8

Общий вид и поперечный разрез вспомогательною вертикального котла марки КОВ-8

Рис. 9.12. Общий вид и поперечный разрез вспомогательною вертикального котла марки КОВ-8:1 - паропровод к форсунке; 2 - топливопровод к форсунке; 3 - паровой за-порный клапан; 4 - клапан нижнего продувания; 5 - топливный клапан проходной, запорный; 6 - манометр; 7 - кран питательный; 8 - трубка к манометру; 9 - кла¬пан верхнего продувания; 10 - штуцер; 11 - предохранительный клапан; 12 - воздушный клапан; 13 - паровой клапан запорный проходной; 14 - водоуказательное стекло; 15-16- водопробные краны; 17- фирменный знак; 18- манометровый кран; 19-топка; 20-обмуровкатопки; 21 –нижняя часть корпуса котла; 22-изоляция и обшивка корпуса котла; 23 - дымогарная трубка; 24 - верхняя часть корпуса котла; 25 - клапан отбора пара; 26 - верхняя трубная доска; 27 - дымовой патрубок; 28 - горловина; 29 - воздухонаправляющее устройство; 30 - форсунка.

Огнетрубный вертикальный котел КОВ-8, паропроизводительностью 220 кг/ч, с рабочим давлением пара 0,8 МПа показан на рис. 9.12.

Вертикальный корпус котла разъемный. В нижней части находится топка, от которой отходят вертикальные дымогарные трубки, которые крепятся к нижней и верхней решеткам. Верхняя трубная решетка съемная, нижняя является потолком топки. К верхней части корпуса присоединяется дымовой патрубок. Топка имеет кирпичную огнеупорную футеровку. Корпус котла покрыт слоем изоляции, а затем легкой обшивкой. Продукты сгорания топлива из топки уходят по дымогарным трубкам в дымовой патрубок.

Вертикальный водотрубный котел марки КВЦ-15-8

Общий вид и поперечный разрез вспомогательною вертикального котла марки КОВ-8

Рис. 9.13. Общий вид и поперечный разрез парового водотрубного вертикального котла типа КВЦ-15-8:1-5 - нижняя и верхняя части корпуса котла; 2 - топочное устройство; 3 - клапан верхнего продувания; 4,6 - трубка и клапан к манометру; 7 - манометр; 8 - паровой запорный клапан проходной; 9 - предохранительный клапан, сдвоенный; 10 - пробный кран; 11 - питательный кран; 12 - водоуказательный прибор; 13-фирменная табличка; 14-смотровые лючки; 15-клапан нижнего продувания; 16- футеровка топки; 17 - изоляция и обшивка котла; 18 - водогрейная трубка; 19 - внутренний барабан.

Паровой вертикальный водотрубный котел марки КВЦ-15-8, паропроизводительностью 450 кг/ч, рабочее давление пара 0,8 МПа (рис. 9.13).

В цилиндрическом разъемном корпусе котла закреплен барабан, в нижней части которого размещается топка, имеющая футеровку из огнеупорного кирпича. В верхней части барабана расположено несколько рядов водогрейных трубок, которые для улучшения циркуляции установлены с уклоном порядка 10°. Верхняя часть барабана выпуклая. К его потолку приварен цилиндр, проходящий через верхнее днище котла и служит основанием для дымовой трубы. Котельная вода заполняет пространство между корпусом и барабаном и внутренний объем водогрейных трубок. Снаружи корпус котла покрыт слоем изоляционного материала.

Процессы горения и питания котла автоматизированы.

Вертикальный огнетрубный цилиндрический котел типа «Кохран»

Наиболее широкое распространение в английском судостроении получили огнетрубные цилиндрические вертикальные котлы типа «Кохроан». В последние годы эти котлы выпускаются со сферической топкой.

Общий вид вспомогательного котла типа «Кохран» с полусферической топкой показан на рис. 9.14, а схема конструкции на рис. 9.15.

Общий вид вспомогательного котла с полусферической топкой типа «Кохран»

Рис. 9.14. Общий вид вспомогательного котла с полусферической топкой типа «Кохран»: 1- предохранительный клапан; 2 - паровой стопорный клапан; 3 - лаз для осмотра парового пространства; 4 - манометровый кран; 5 - дымовая коробка; 6 - дверцы топки; 7 - кран нижнего продувания; 8 - клапан питания котла; 9 - смотровой лючок огневой камеры; 10 - распределительная питательная труба; 11- пробные краны контроля уровня воды; 12 - водоуказательное стекло.

Из рис. 9.15 видно движение продуктов сгорания, которые из топки 2 через горловину топки 3 поступают в футерованную огнеупорным кирпичом огневую камеру 5, а затем через дымогарные трубки 4 в дымовую коробку 7 переднего фронта котла.

Котел типа «Кохран» с полусферической топкой

Рис. 9.15. Котел типа «Кохран» с полусферической топкой: 1 - корпус (бочка) котла; 2 - топка; 3 - горловина топки; 4 - дымогарные трубка; 5 - огневая камера; 6 - лаз для осмотра парового пространства; 7 - дымовая коробка; 8 - отверстие в топке для форсунки.

Верхнее днище бочки и верхняя часть топки полусферические, поэтому не подкреплены связями.

Нижняя часть топки котла имеет футеровку огнеупорным кирпичом для исключения непосредственного воздействия факела форсунки в районе узкого водяного кольца, в котором скапливается шлам. Перегрев этой части котла может привести к серьезным повреждениям. Рабочее давления пара в котле этого типа составляет 0,7-0,9 МПа.

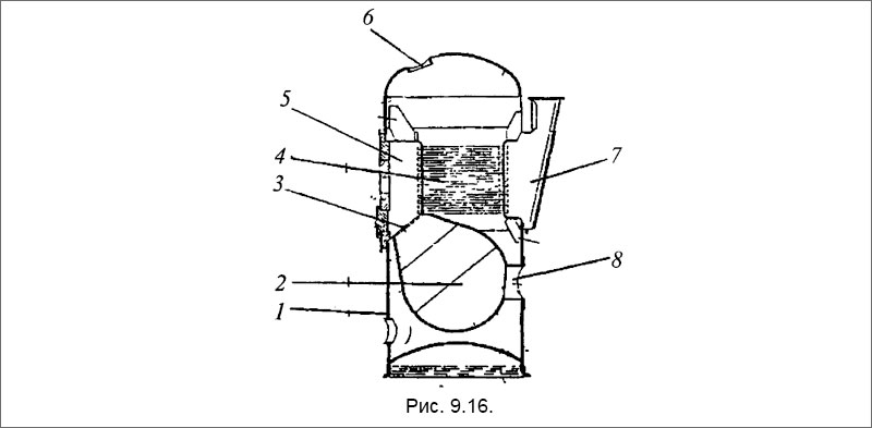
В самых последних моделях цельносварных котлов «Кохран» полусферическая топка с кольцом S-образного сечения заменена сферической топкой. Модификация котла «Кохран» со сферической топкой представлена на рис. 9.16.

Котел типа «Кохран» с полусферической топкой

Рис. 9.16. Котел «Кохран» со сферической топкой: 1 - корпус (бочка) котла; 2 - топка; 3 - горловина топки; 4 - дымогарные трубки; 5 - огневая камера; 6 - лаз для осмотра; 7 - дымовая коробка; 8 - форсуночное отверстие в топке.

Радиационная поверхность нагрева этих котлов увеличена примерно на 50 %, по сравнению с котлами типа «Кохран» с полусферической топкой такой же производительности. Увеличено число дымогарных трубок, уменьшен их диаметр и шаг, что существенно улучшило теплопередачу. Воздух для горения топлива подается в пространство между обшивкой и обечайкой котла. Таким образом, нагретый воздух поступает к форсунке.

В последнее время фирмой изготовителем стали применять дымогарные трубки типа «Свируфлоу», обеспечивающие турбулизацию газов, что улучшило теплопередачу и повысило к. п. д. котлов до 83-85 %.

Котлы этой модификации рассчитаны на рабочее давление пара 1,0-1,7 МПа и паропроизводительность 1000-4550 кг/ч.

Основные построечные показатели наиболее распространенных типоразмеров котлов типа «Кохран» со сферической топкой приводятся в табл. 9.1.

Построечные показатели котлов типа «Кохран» со сферической топкой. Таблица 9.1

Построечные показатели котлов типа «Кохран» со сферической топкой

Котлоагрегаты типа «Линдхольмен» и польской постройки типа VX

На судах скандинавской постройки распространенным типом котла является котлоагрегат типа «Линдхольмен», который показан на рис. 9.17.

Котлоагрегат типа «Линдхольмен»

Рис. 9.17. Котлоагрегат типа «Линдхольмен»: 1- топочное отверстие для форсунки; 2 - топка; 3 - бочка (корпус котла); 4 - огневая камера; 5 - верхняя трубная решетка; 6 - дымогарные трубки; 7 - нижняя трубная решетка.

Котлы типа «Линдхолъмен» отличаются простотой конструкции, но имеют очень низкие технико-экономические показатели.

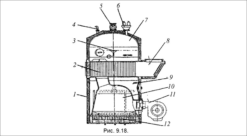
Котлоагрегат VX, выпускаемый Польшей

Рис. 9.18. Котлоагрегат VX, выпускаемый Польшей: 1 - бочка (корпус котла) с огнеупор¬ной изоляцией; 2 - водогрейные трубки; 3 - воронка верхнего продувания; 4 - воздушный кран; 5 - паровой стопорный клапан; 6 - предохранительный клапан; 7 - пароводяное пространство; 8 - дымовая коробка; 9 - водяное пространство; 10 - топочная камера (топка); 11 - топочное устройство типа «Монарх»; 12 - под топки футерован огнеупорным кирпичом.

На судах польской постройки устанавливаются вспомогательные вертикаль-ные котлы типа VX, показанные на рис. 9.18, по своей конструкции эти котлы подобны конструкции популярных котлов «Ольборг AQ-З» (рис.9.19).

Данные котлы относят иногда к водотрубным, но конструкция котлов цилиндрическая, вертикальная. Поскольку в вертикальных котлах основная поверхность нагрева представляет собой водоохлаждаемую топку, форма которой близка к цилиндрической.

Котел типа «Ольборг AQ-З»

На рис. 9.19 представлен котел типа «Ольборг AQ-З». Таким образом, оба типа котлов VX и AQ-З состоят из двух камер: нижней, заполненной водой, и верхней пароводяной. Камеры соединены между собой водогрейными трубками и опускными трубами большого диаметра, которые обеспечивают надежную циркуляцию воды при работе котла с максимальной паропроизводительностью.

Около трети водогрейных труб являются связными, причем большая часть из них расположена кольцеобразно в непосредственной близости к периферии трубных досок, так как деформация последних в результате действия внутри котельного давления приводит к концентрации напряжений в этом районе.

Дополнительным подкреплением трубных досок являются связные листы, которые укрепляют нижнюю и верхнюю камеры котла на одной трети окружности бочки.

Топочные газы через трубу эллиптической формы (см. рис. 9.19, б) поступают в огневую камеру 3, откуда с помощью направляющих перегородок, приваренных к трубам первого ряда, распределяются между трубами и далее через обычную дымовую коробку 7 проходят в дымоход.

У котла (рис. 9.19, а) между верхней трубной доской и верхним днищем котла установлена длинная центральная связь, а между нижней трубной доской и верхней частью топки - короткая связь. Котел цельносварной конструкции прост в изготовлении, только две детали - верхнее днище котла и топки требуют применения штамповки.

Котлы AQ-3 имеют паропроизводительность 800-12500 кг/ч при рабочем давлении пара около 0,75 МПа.

 Котел типа «Ольборг AQ-З»

Рис. 9.19. Котел типа «Ольборг AQ-З». а) котел; б) разрез по А-А: 1 - топка; 2 - бочка (корпус котла) с изоляцией; 3 - огневая камера; 4 - лаз; 5 - длинная связь; 6 - водогрейные трубки; 7 - дымовая коробка; 8 - лаз; 9 - короткая связь; 10 - агрегатированное топочное устройство «Монарх»; 11- под топки с футеровкой огнеупорным кирпичом.

Дальнейшим развитием котлов этого типа является котел AQ-9, который представлен на рис. 9.20. Топка этого котла окружена трубами мембранного экрана, которые в нижней части соединены с торроидальным коллектором 5. Для обеспечения надежной циркуляции и предотвращения перегрева труб, экранирующих топку 9, между пароводяным и нижним коллекторами предусмотрены опускные трубы размером по диаметру 114x7 мм.

Котел типа «Ольборг AQ-9»

Рис. 9.20. Котел типа «Ольборг AQ-9»: 1 - связи; 2 - опускные трубы; 3 - мембранный экран топки; 4 - под топки, облицованный огнеупорным материалом; 5 - торроидальный коллектор; 6 - короткие связи; 7 - лаз; 8 - связные кипятильные трубы; 9 - водогрейные трубы; 10 - пароводяное пространство.

Из топки газы через центральный газоход поступают к водогрейным трубам 9 и благодаря наличию перегородок омывают их, совершая движение по спирали и далее к дымоходу.

Котлы типа AQ-9 фирма выпускает паропроизводительностью 10-35 т/ч и бо¬лее при рабочем давлении пара до 1,6 МПа.

Некоторые фирмы выпускают вспомогательные котлы, конструкция которых подобна конструкции популярных котлов AQ-3. Два таких котла, имеющих конструктивные особенности подобных котлу AQ-3 с рабочим давлением пара 0,7 МПа показаны на рис. 9.21 и рис. 9.22.

Вертикальный котел фирмы «Хельсингерскиб».

Рис. 9.21. Вертикальный котел фирмы «Хельсингерскиб».

Котел типа HV фирмы «Хитачи Зосен».

Рис. 9.22. Котел типа HV фирмы «Хитачи Зосен».

Котлы «Санрод» и их модификации

Котлы «Санрод» типа СР и их модификация представлены на рис. 9.23. Котел типа СР-15 (рис. 9.23, а) имеет цилиндрическую топку, под которой футерован огнеупорным кирпичом, и один дымоход большого диаметра. В дымоходе установлены патентованные трубные элементы, которые позволяют повысить паропроизводительность котла до 1500 кг/ч, с компактной конструкцией и рабочим давлением пара котла 0,7 МПа.

Котлы «Санрод» типов СР-15, CPD-25, CPDB-12

Рис. 9.23. Котлы «Санрод» типов СР-15, CPD-25, CPDB-12: 1 - дымоход; 2 - элементы «Санрод»; 3 - огнеупорная кладка; 4 - дымогарные трубы.

Котлы типов СРД и СРДВ (рис. 9.23, б, в) являются усовершенствованными конструкциями котла СР. Отличие котла модификации СРДВ от котлов типа СР и СРД заключается в том, что топка котла полностью водоохлаждаемая, и применения огнеупорных материалов не требуется.

Разрез общего вида котла «Санрод» типа СРДВ-12 показан на рис. 9.24.

Общий вид в разрезе вспомогательного парового котла типа «Санрод»

Рис. 9.24. Общий вид в разрезе вспомогательного парового котла типа «Санрод»: 1 - топка; 2 - канал парообразующего элемента; 3 - дымовые трубы; 4 - парообразующие элементы; 5 - шипы элемента; 6 - верхний канал парообразующего элемента; 7 - паровое пространство; 8 - дымоход; 9 - лаз; 10 - предохранительный клапан; 11 - манометр; 12 - водоуказательные приборы; 13 - форсунка.

Из сравнения схем конструкции котлов СР в котлах СРД и СРДВ видно, что центральный дымоход заменен рядом дымогарных труб большого диаметра.

Котел СРДВ-12 имеет паропроизводительность 2500 кг/ч, и рабочее давление пара 0,8 МПа.

Патентованные кипятильные трубные элементы «Санрод», представленные на рис. 9.25, а, б, в, представляют собой трубу (9.25, б), наружная поверхность которой покрыта стальными шипами (рис. 9.25, в), приваренными к трубе с помощью специальной автоматической сварочной машины. Эти элементы устанавливают внутри дымогарных труб, так что вход в элемент подключен на уровне стенки топки, а выход из него в стенке дымогарной трубы (рис. 9.25, а, б).

Элемент «Санрод»

Рис. 9.25. Элемент «Санрод»

Судовые котлы «Санрод» высокой паропроизводительности оборудованы топкой, окруженной мембранным экраном. Трубки экрана нижними концами с тороидным коллектором, а верхние концы труб соединены с паровым коллектором.

Котел большей паропроизводительности типа «Санрод» СРН-140 - 14000 кг/ч с рабочим давление пара 0,75 МПа приведен на рис. 9.26. Отличительной особенностью котла типа СРН-140 является то, что амбразура форсунки охлаждается водой с помощью специального коллектора. Число дымогарных труб диаметром 273x12,5 мм составляет 39 шт., в каждой трубе установлен элемент «Санрод».

Котел «Санрод» типа СРН-140

Рис. 9.26. Котел «Санрод» типа СРН-140: 1- водоохлаждаемая амбразура форсунки; 2 - тороидальный коллектор; 3 - огнеупорная кладка; 4 - трубы мембранного экрана размером 38x4 мм; 5-11 опускных труб размером 76x4 мм; 6-39 труб дымохода размером 273x12,5; 7 - элементы «Санрод».

Обеспечение потребностей судна типа танкера в паре и его паровых вспомогательных механизмов как турбоприводные грузовые насосы и системы подогрева груза устанавливают котлы типа «Санрод» с паропроизводительностью 30-35 т/ч при рабочем давление пара 1,8 МПа.

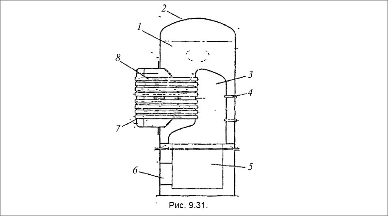
Вертикальные котлы фирмы «Спэннер»

На танкерах с дизельными установками получили распространение вертикальные вспомогательные котлы фирмы «Спэннер» (рис. 9.27).

Котел типа «Спэннер»

Рис. 9.27. Котел типа «Спэннер»: 1-14 связных дымогарных труб размером 50,8x9,5 мм; 2 - 149 простых дымогарных труб типа «Свирлифло» размером 50,3x3,65 мм.

Котел цельносварной конструкции с патентованными дымогарными трубами «Свирлуфлоу» с геликоидальными поверхностями, которые имеют специальное сечение (рис. 9.27, б) по всей длине, кроме концов. Благодаря турбулизации потока газов, проходящих через такие трубы, существенно увеличивается коэффициент теплоотдачи от газов к стенке.

Рабочее давление пара в котлах «Спэннер» составляет 0,7 МПа, паропроизводительность 450-2270 кг/ч в зависимости от размеров.

Котлы «Спэннер» в основном устанавливаются на судах канадской, шведской, бельгийской и французской постройки.

Котлы «Кларксон» с наперсткообразными трубами

На морских судах довольно часто встречаются вспомогательные вертикальные котлы типа «Кларксон» с наперсткообразными трубами. Этот тип котла был разработан по результатам опытов, проведенных Кларксоном. Он установил, что можно получать пар, вызывая прерывистое бурное вскипание воды в горизонтально расположенных зауженных к концу наперсткообразных трубах, обогреваемых снаружи, без применения специальных средств для обеспечения циркуляции воды в трубах.

Конусность наперсткообразных труб способствует лучшей компоновке их по горизонтальному сечению жаровой трубы и облегчает выход пузырьков пара из труб. Закрепления наперсткообразных труб одним концом в трубные решетки устраняет термические напряжения в трубах и течь их вальцованных соединений при резких переменах нагрузки в котле.

Схемы конструкции котлов «Кларксон» с наперсткообразными трубами разных модификаций показаны на рис. 9.28, а, б и рис. 9.29.

Котлы «Кларксон» с наперсткообразными трубами

Рис. 9.28. Котлы «Кларксон» с наперсткообразными трубами: 1 - трубы второго хода газов через периферические наперсткообразные трубы; 2, 8 - соответственно водяное и паровое пространства котла; 3 - фланец для установки форсунки; 4 - обмуровка топки; 5 - трубы первого хода газов через центральные наперсткообразные трубы; 6 - центральный газонаправляющий цилиндр; 7 - съемный кожух.

Внутри бочки котла установлена цилиндрическая труба, к стенкам которой крепят наперсткообразные водогрейные трубы. Центральная труба в верхней части сужается являясь дымоходом и крепится к верхнему днищу котла, в нижней части труба крепится к бочке котла. В дымоходе между трубами установлен пустотелый съемный цилиндр, назначение которого направлять поток газов к водогрейным трубам. Такие котлы могут долго работать без очистки внутреннего пространства.

Котел «Кларксон» с наперсткообразными трубами

Рис. 9.29. Котел «Кларксон» с наперсткообразными трубами: 1 - дымовая труба; 2 - водяное пространство; 3 - цилиндрическая трубная доска; 4 - опускная труба большого диаметра; 5 - топочное устройство; 6 - под топки выложен огнеупорным материалом; 7 - топка; 8, 9 - наперсткообразные водогрейные трубки; 10 - лаз для осмотра пароводяного пространства.

Котлы этого типа надежны в эксплуатации и занимают малую площадь в машинном отделении.

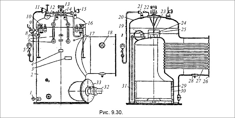
Вертикальные огнетрубные котлы типа «Убигау»

На рис. 9.30 и 9.31 показаны схемы конструкции вертикальных огнетрубных котлов типа «Убигау», первый изготовленный отечественной промышленностью, второй в ФРГ. В конструкциях этих котлов сочетаются преимущества большой поверхности нагрева, характерной для горизонтальных котлов шотландского типа, и компактность вертикальных котлов типа «Кохран».

В цилиндрическом вертикальном корпусе котла с верхним выпуклым днищем располагается топочная камера, имеющая сложную конфигурацию. К корпусу котла, в его средней части, присоединен горизонтальный цилиндрический патрубок, в котором размещены горизонтальные дымогарные трубки. Топочные газы из топки проходят по дымогарным трубкам в дымник и далее - в дымовую трубу. Для очистки дымогарных трубок от сажи у дымника предусмотрена прогарная дверца. Данный котел имеет регулятор уровня воды. В дымовой трубе установлен водяной экономайзер трубчатого типа. Паропроизводительность котлов «Убигау» составляет 750-1000 кг/ч, рабочее давление пара 0,5 МПа.

Вспомогательный огнетрубный паровой котел типа «Убигау»

Рис. 9.30. Вспомогательный огнетрубный паровой котел типа «Убигау»: 1 - клапан нижнего продувания; 2 - корпус котла; 3 - таблица-паспорт; 4 - фирменная табличка; 5 - манометр: 6 - клапан водоуказателя; 7 - водоуказательный прибор: 8 и 9 - пробные краны; 10 и 16 - комбинированный клапан питания; 11 - пароотборный клапан; 12 - питательный трубопровод; 13 - регулятор уровня воды; 14 - регулирующий клапан; 15 - предохранительный клапан; 17 - огневой шуруп; 18 и 28- лючки; 19- приемная воронка к крану верхнего продувания; 20 - верхнее днище котла; 21 - клапан для манометра; 22 - воздушный клапан; 23 - потолок камеры; 24 - буек; 25 - цилиндр-успокоитель; 26 - трубная решетка; 27 - дымогарная трубка; 29 - топка; 30 - футеровка топки; 31 - трубка циркуляции воды; 32 - воздухопровод от вентилятора; 33 - фронтон топки.

Такие котлы применяют и устанавливают в качестве вспомогательных на больших траулерах, где требуется получение максимальной паропроизводительности при минимальной площади в машинном отделении, занимаемой котлом.

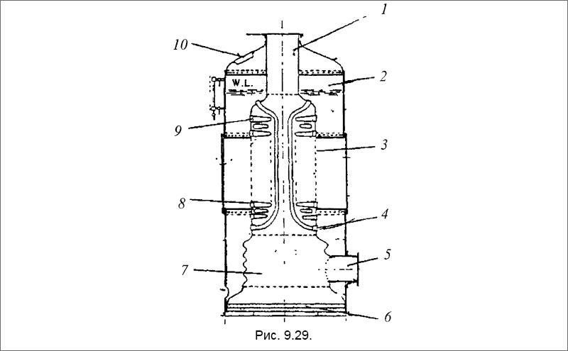
Большинство других типов вертикальных цилиндрический котлов, применяемых в настоящее время на морских судах, аналогично рассмотренным. Небольшие отличия в таких элементах котла, как форма топки и дымохода, естественны, поскольку изготовители котлов стремятся получить наиболее экономичную конструкцию.

Вертикальный огнетрубный котел для применения на траулерах

Рис. 9.31. Вертикальный огнетрубный котел для применения на траулерах: 1 - пароводяное пространство; 2 - верхнее днище котла; 3 - огневая камера; 4 - короткие связи; 5 - топка; 6 - отверстие для форсунки; 7 - трубная решетка; 8 - дымогарные трубки.

MirMarine
MirMarine – образовательный морской сайт для моряков.
На нашем сайте вы найдете статьи по судостроению, судоремонту и истории мирового морского флота. Характеристики судовых двигателей, особенности устройства вспомогательных механизмов и систем.