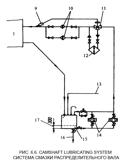
| 6.6. Camshaft lubricating system | 6.6. Система смазки распределительного вала |
| 1.Main engine | 1.Главный двигатель |
| 2.Sensor of temperature controller | 2.Датчик терморегулирующего вентиля |
| 3.Oil filter | 3.Масляный фильтр |
| 4.Temperature controller- actuated valve | 4.Терморегулирующий вентиль |
| 5.Oil cooler | 5.Масляный холодильник |
| 6.System filling line | 6.Трубопровод заполнения системы |
| 7.Pumps | 7.Насосы |
| 8.Lube oil tank | 8.Цистерна смазочного масла |
| 9.To oil drain tank | 9.К танку использованного масла |
| 10.Lowest level kept when pumps are in operation | 10.Наименьший уровень масла, поддерживаемый когда работают насосы |