Регуляторы частоты вращения - однорежимный, всережимный

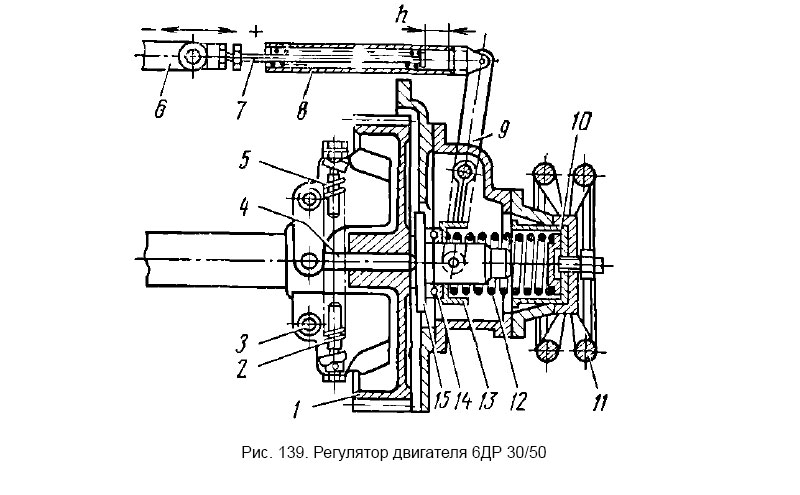
Однорежимный регулятор двигателя 6 ДР 30/50 (рис. 139)—прямого действия — состоит из двух грузов 2, шарнирно закрепленных с помощью шарниров 3 на шестерне 1 распределительного вала и стянутых пружиной 5. Внутренние плечи грузов через штыри 4 воздействуют на муфту 15 и через упорный шарикоподшипник 14—на обойму 13. С другой стороны, обойма испытывает усилие сжатой пружины 12. Через рычаг 9 перемещение обоймы передается на пружинную связь 8. Тяга 6 топливных насосов связана через ролик с сектором рукоятки поста управления (на рис. 139 не показано).

Рис. 139. Регулятор двигателя 6ДР 30/50

При вращении за счет центробежной силы грузы расходятся и, преодолевая силу упругости пружины 12, перемещают обойму 13 вправо. Если частота вращения двигателя ниже предельной, то благодаря зазору h между внутренним торцом пружинной связи 8 и упором тяги 7 регулятор не оказывает влияния на положение тяги 6 топливных насосов. Когда частота вращения достигнет предельной, зазор h будет выбран и регулятор начнет воздействовать на топливную тягу, перемещая ее влево в направлении уменьшения подачи топлива.

Предельную частоту вращения, ограничиваемую регулятором, можно изменять величиной затяга пружины 12, что достигается поворотом маховика 11, перемещающего шпиндель 10.

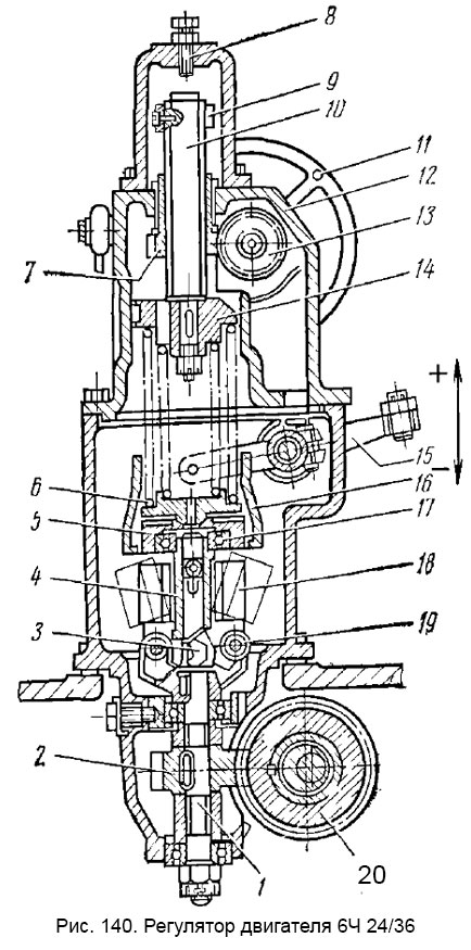
Рис. 140. Регулятор двигателя 6Ч 24/36

Всережимный регулятор двигателя 6Ч24/36 (рис. 140) — прямого действия. В корпусе 12 в подшипниках вращается вертикальный вал 1, приводимый в движение через передаточные шестерни 20 и 2 от распределительного вала. Два груза 18 закреплены в крестовине на осях 19 и внутренними плечами, при помощи упоров 5, нажимают на втулку 4, свободно перемещающуюся вдоль вертикального вала 1. Перемещение втулки 4 через радиально-упорный подшипник 17 передается на муфту 5. С противоположной стороны муфта воспринимает усилие пружин 6, верхние концы которых упираются в тарелку 14. Закрепленный на муфте 5 направляющий стакан 16 через вилку и валик связан с рычагом 15, конец которого воздействует на тягу топливных насосов.

При возрастании частоты вращения грузы через втулку 4 и муфту 5 действуют на пружины 6, сжимая их. Направляющий стакан 16 поднимается и через рычаг 15 перемещает топливную тягу в направлении уменьшения подачи топлива. При повышении нагрузки, и, следовательно, понижении частоты вращения сила упругости пружин преодолевает центробежную силу грузов, направляющий стакан 16 опускается и рычаг 15 воздействует на рейку топливных насосов, увеличивая подачу топлива.

Частота вращения, которую регулятор должен поддерживать, задается изменением затяга пружин 6. Это достигается поворотом маховика 11 и с ним шестерни 13, которая поворачивает шестерню 7 с удлиненной втулкой. Шестерня 7 зафиксирована в корпусе и осевого перемещения не имеет. Расположенный внутри нее на резьбе шпиндель 10 при вращении шестерни 7 получает осевое перемещение, что изменяет затяг пружин 6.

Максимальная частота вращения, на которую можно настроить регулятор, ограничивается закрепленным на шпинделе установочным кольцом 9, минимальная частота вращения—регулировочным болтом 8.

Всережимно-предельный регулятор двигателя 7ДКРН 70/120 (рис. 141) — непрямого действия — приводится в движение через шестерню 6 вала топливных насосов. Шестерня 6 соединена со ступицей 5 регулятора через эластичную муфту 4. На ступице расположены грузы 7, внутренние плечи которых соединены с чекой 1 шпинделя 2. Под действием центробежных сил грузы 7 через чеку 1, шпиндель 2 и упорный шарикоподшипник 3 могут передвигать поршень 18 вправо. Давление на поршень уравновешивается пружинами, натяжение которых регулируется маховиком 17. При своем движении поршень 18 через ушко 16 и двуплечий угловой рычаг перемещает золотник 15, имеющий две отсечные кромки 11 и 12 (на рисунке поле золотника зачернено). Золотник 15 плотно входит в центральное отверстие поршня сервомотора 13 с удлиненной ступицей, который имеет окна, перекрывающиеся кромками 11 и 12 золотника. Через маслоподводящую трубу 14, кольцевой канал а и отверстия в ступице поршня 13 масло подводится под нижнюю отсечную кромку 12 золотника 15.

Рис. 141. Регулятор двигателя 7ДКРН 70/120

При возрастании частоты вращения двигателя центробежная сила грузов преодолевает силу упругости пружины и поршень 18, перемещаясь вправо, поднимает золотник 15. Через образующуюся щель между нижней кромкой 12 золотника и нижними кромками окон поршня 13 масло поступает в полость «в» и перемещает поршень 13 вверх. Масло из пространства над поршнем сливается по трубе 8. Поршень остановится, когда нижние кромки его окон совпадут с нижней кромкой 12 золотника, и поступление масла в полость «в» прекратится. При снижении частоты вращения золотник перемещается вниз, открывая щель между своей верхней кромкой 11 и верхними кромками окон поршня. Масло из полости «в» перетекает в пространство над поршнем, и он опускается. Движение поршня вниз прекратится, когда верхние кромки его окон совпадут с верхними кромками золотника. Таким образом, перемещение поршня сервомотора равно величине перемещения золотника, или, как говорят, поршень «следит» за золотником.

При своем движении вверх (в случае возрастания частоты вращения) поршень сервомотора 13 через толкатель 9 может воздействовать на ролик 19, сидящий на пальце 10 рычага 20, и поворачивать его по часовой стрелке. Это приведет к перемещению тяги 21 вниз и через поворотный валик и систему рычагов (на рисунке не показаны) — к уменьшению подачи топлива.

При нормальных условиях эксплуатации регулятор действует как предельный и управление подачей топлива производится маховиком, с поста управления. Если частота вращения меньше предельной, то между толкателем 9 и роликом 19 имеется зазор. По мере увеличения частоты вращения двигателя этот зазор уменьшается, и при достижении предельной частоты вращения толкатель упрется в ролик. Дальнейшее увеличение частоты вращения происходить не будет, так как поршень 13, поднимаясь вверх, станет опускать через рычаг 20 тягу 21 в сторону нулевой подачи.

При плавании судна на волнении регулятор включают по схеме всережимного. Для этого сначала уменьшают маховиком с поста управления количество подаваемого топлива и устанавливают между толкателем 9 и роликом 19 специальную проставку. Затем на посту управления увеличивают подачу топлива до номинального значения (по нагрузке) и несколько ослабляют маховиком 17 затяг пружин регулятора. Этим устанавливается пониженная частота вращения двигателя, которая поддерживается регулятором при плавании судна в штормовых условиях.

Рис. 142. Регулятор Р13М-2КЕ

Всережимный регулятор с ограничением по нагрузке и по задаваемым и фактическим оборотам Р13М-2КЕ (рис. 142) — непрямого действия разработан Центральным научно-исследовательским дизельным институтом (ЦНИДИ) и применяется в судовых установках с главными дизелями типа ДР 43/61-1 и ДР 30/50-3. Этот регулятор отвечает- всем требованиям, предъявляемым к регуляторам, используемым в системах дистанционного автоматизированного управления двигателями.

Основные узлы регулятора

Привод регулятора осуществляется посредством приводного валика 1, который передает вращение через шестеренную пару 2, упругую муфту 5 и верхнюю шестеренную пару чашке измерителя 6. Упругая муфта 5 служит для гашения резких колебаний частоты вращения, благодаря чему второй зубчатой шестерне верхней пары, выполненной заодно с чашкой 6, они не передаются.

Измерительное устройство представляет собой два груза 7, шарнирно закрепленных в чашке 6. Внутренние плечи грузов через упорную тарелку и упорный шарикоподшипник воздействуют на нижнюю тарелку пружины измерителя 8. Нижняя тарелка пружины соединена со шпинделем, проходящим свободно через сухарь 18. На верхнем конце шпинделя закреплена упорная тарелка 34, с помощью которой действует механизм ограничения нагрузки. К упорному шарикоподшипнику присоединен золотник 9 с двумя рабочими полями, проходящий через отверстие в ступице чашки 6.

Задающее устройство — пружина 8. При задании нового режима изменение затяга пружины осуществляется поворотом валика управления 24 через каретку 23 и сухарь 18.

Источник вспомогательной энергии — масляный насос, состоящий из шестеренной пары 2 и двух всасывающих и двух нагнетательных шариковых клапанов 3. Наличие двух пар клапанов обеспечивает работу регулятора при реверсе двигателя. Масло засасывается из ванны и подается по каналам в полость над поршнем сервомотора 10 к верхнему полю золотника 9 и в два аккумулятора 4 (на рисунке показан один). Каждый аккумулятор представляет собой цилиндр с подпружиненным поршнем, который при повышении давления масла выше 8 бар открывает сливное отверстие «а».

Гидравлический сервомотор состоит из цилиндра с поршнем 10, перемещение которого управляется золотником 9. (вверху на кольцевую площадь поршня непрерывно воздействует давление масла. При подъеме золотника 9 масло от насоса направляется под поршень 10 и поднимает его. При опускании золотника масло из-под поршня сливается в ванну, и за счет давления масла на верхнюю кольцевую площадь поршень опускается. Перемещение поршня 10 через продольный вал 11, пару конических полушестерен и поперечный вал 12 передается тяге 13, управляющей топливными насосами.

Жесткая обратная связь состоит из рычага на продольном валу 11, шатуна 15, ролика с валиком 16 и вильчатого рычага 17, который связан с сухарем 18, воздействующим на затяг пружины 8. Положение профильной части шатуна 15, соприкасающейся с роликом, можно изменять, чем достигается необходимая степень неравномерности (статическая ошибка) — от 0 до 6%. Регулируется степень неравномерности винтом с указателем 35, который при повороте червячной шестерни разворачивает эксцентрично сидящий на ее ступице правый конец шатуна 15. В результате этого под ролик подводится другой участок профиля шатуна.

Гибкая обратная связь состоит из цилиндра с поршнем изодрома 20, иглы 21, корректора 22 и масляной полости, образуемой каналами между поршнем 20, корректором 22 и золотником 9. Поршень 20 при помощи подпоршневой пружины постоянно прижат к пальцу 19 продольного вала 11. Игольчатым клапаном 21 регулируется время изодрома. В случае значительного возрастания давления (или разрежения) в полости изодрома корректор 22 сообщает ее с масляной ванной.

Механизм, ограничения нагрузки состоит из: углового рычага с плечами 32 и 33, толкателя 31, шестерен 28, 29, 30 и находящихся с ними в зацеплении секторов с указателями 25, 26, 27, а также сектора 14.

Каждое положение сектора 14, насаженного на продольный вал 11, соответствует определенной подаче топлива. Одновременно с изменением регулятором подачи топлива через сектор 14 поворачивается шестерня с указателем нагрузки 25. Эта шестерня посредством закрепленного на ней зубчатого сектора разворачивает шестерню 30, в ступицу которой упирается кольцевой бурт толкателя 31. Положение шестерни 30 всегда соответствует количеству подаваемого насосами топлива.

При изменении скоростного режима валиком 24 поворачивается каретка 23. Закрепленный на ней зубчатый сектор через валик с шестернями поворачивает вертикальный сектор с указателем 26. Одновременно через другой зубчатый сектор поворачивается шестерня 29, положение которой соответствует подаче топлива, допускаемой для данного скоростного режима. Стрелка указателя 26 показывает величину этой подачи.

Максимальная нагрузка, выше которой при любом скоростном режиме работа дизеля не допускается, задается определенным положением шестерни 28. Величину этой нагрузки показывает указатель 27, который закреплен на секторе, находящемся в зацеплении с шестерней 28.

Шестерня 29 свободно насажена на ступицу шестерни 28. У обоих этих шестерен на торцах, обращенных к шестерне 30, имеются выступы. Подобный выступ имеется на торце шестерни 30.

Работа регулятора при увеличении частоты вращения происходит следующим образом.

Грузы 7, преодолевая силу упругости пружины 8, поднимают золотник 9. Масло от насоса поступает в полость под поршнем сервомотора 10 и перемещает его вверх, за счет чего тяга 13 передвигается в направлении уменьшения подачи топлива. Одновременно поднимается поршень изодрома 20. В полости под этим поршнем, а значит и под золотником 9, создается разрежение, препятствующее перемещению золотника вверх. Этому может способствовать также и жесткая обратная связь (при степени неравномерности более 0%), которая через рычаг 17 несколько увеличивает затяг пружины 8. По истечении не которого времени (время изодрома) за счет перетекания масла через игольчатый клапан 21 давление в полости изодрома сравняется с атмосферным, и гибкая связь перестанет воздействовать на золотник 9.

К концу переходного режима золотник 9 займет исходное положение и перемещение поршня 10 прекратится. При нулевой степени неравномерности частота вращения восстановится до первоначального значения, при степени неравномерности более 0% — соответственно повысится .

В случае понижения частоты вращения регулятор будет действовать в обратном направлении, увеличивая подачу топлива. Если при этом нагрузка возрастет до значения, заданного механизмом ограничения, то шестерня 30, упираясь своим выступом в выступ соответствующей шестерни (28 или 29), начнет перемещаться вдоль своей оси влево и передвигать толкатель 31. Толкатель 31 через рычаг 32 и вильчатый рычаг 33 поднимет упорную тарелку 34. Это позволит грузам 7 поднять золотник 9 и направить масло под поршень сервомотора 10, который, перемещаясь вверх, будет передвигать тягу 13 в направлении уменьшения подачи топлива.

MirMarine
MirMarine – образовательный морской сайт для моряков.
На нашем сайте вы найдете статьи по судостроению, судоремонту и истории мирового морского флота. Характеристики судовых двигателей, особенности устройства вспомогательных механизмов и систем.