Судовые системы сигнализации и защиты

В зависимости от назначения системы сигнализации подразделяются на исполнительную, аварийную и предупредительную.

Рис. 153. Схема аварийно-предупредительной сигнализации

Исполнительная сигнализация извещает обслуживающий персонал о включении или выключении определенных механизмов, а также о достижении крайних положений («Открыто», «Закрыто») различными регулирующими органами. Сигнализация осуществляется преимущественно световым сигналом белого или зеленого цвета.

Аварийная сигнализация срабатывает при достижении контролируемым параметром предельно допустимого значения, при котором дальнейшая работа двигателя может привести к аварии. Аварийный звуковой сигнал подается ревуном, световой сигнал — лампой красного цвета. При срабатывании аварийной сигнализации обслуживающий персонал обязан немедленно остановить двигатель или, если это допустимо, снизить его нагрузку за счет уменьшения подачи топлива.

В большинстве случаев аварийная сигнализация объединяется с системой защиты. Тогда при достижении контролируемым параметром предельно допустимого значения наряду с подачей звукового и светового сигналов происходит автоматическая остановка или снижение нагрузки двигателя.

Предупредительная сигнализация оповещает обслуживающий персонал о достижении контролируемым параметром определенного заданного значения. После срабатывания предупредительной сигнализации у персонала еще имеется время для выявления причин и устранения неполадок.

На рис. 153 приведена схема аварийно-предупредительной сигнализации, которая в зависимости от настройки может быть аварийной или предупредительной.

Сигнализация контролирует давление и температуру масла, поступающего на смазку двигателя, температуру охлаждающей воды на выходе из двигателя и уровень топлива в расходной цистерне. Питание электрической части схемы осуществляется постоянным или переменным током через выключатель 1, который может быть сблокирован с постом управления. Зеленые лампы 5, красные лампы 6 и ревун 9 расположены на щите сигнализации в машинном отделении. Красная лампа 7 и зуммер 8 находятся в рулевой рубке или в каюте старшего механика. Выключатель 10 служит для отключения звуковой сигнализации при настройке и ремонте системы.

При нормальном значении контролируемых параметров контакты 4 замкнуты и горят зеленые лампы 5. В случае достижения каким-либо параметром предельного значения, например при падении давлений масла, контакты 13 микровыключателя 14 замыкаюгся и электромагнит 2 перебрасывает подвижные контакты 3 и 4 вниз. Цепь зеленой лампы 5 размыкается, и на щите загорается красная лампа 6. При замыкании контактов 3 получает питание электромагнит 12, который замыкает контакты 11. В результате этого подаются звуковые сигналы ревуном 9 и зуммером 8 и загорается красная лампа 7.

В качестве устройств, измеряющих значения контролируемых параметров и при их отклонении от заданных значений воздействующих на исполнительные механизмы системы сигнализации, применяются реле давления, температуры, уровня, частоты вращения и т. п.

На рис. 154, а показано реле давления РДК-55 со снятой крышкой. Измеряемая среда подводится через штуцер 8 в корпус сильфона 7 и сжимает сильфон. Через толкатель усилие передается трехплечему рычагу 6, повороту которого против часовой стрелки препятствует растянутая пружина 1. При падении давления ниже заданного значения пружина 1 повернет трехплечий рычаг 6 по часовой стрелке и среднее плечо рычага замкнет контакты микровыключателя МВ.

Настройка реле на заданное давление осуществляется по шкале 3 при помощи винта 4. При вращении винта 4 каретка 5 с указателем 2 перемещается, изменяя натяжение пружины 1.

Реле давления РДК-55 (а) и Схема реле температуры ТРК-55 (б)

В реле температуры ТРК—55 (рис. 154, б) термобаллон 1, капилляр 2 и полость между сильфоном 3 и его корпусом заполнены низкокипящей жидкостью (хлористый метил, фреон и т. п.). При повышении температуры контролируемой среды давление в корпусе сильфона увеличивается. Сильфон сжимается и через толкатель 10 поворачивает трехплечий рычаг 9 вокруг оси 8 против часовой стрелки. Этому препятствует пружина 5, натяжение которой регулируется винтом 4. Когда температура повысится до заданного значения, среднее плечо 7 трехплечего рычага освободит микровыключатель 6, и его контакты замкнутся.

Реле уровня (рис. 155) состоит из поплавковой и контактной частей, совершенно отделенных друг от друга. Благодаря этому измеряемая среда (топливо, вода и т. п.) не может проникнуть к электрическим контактам.

Поплавковое реле уровня

При снижении уровня поплавок 1 опускается, поворачивая вокруг оси 2 магнит 3 вверх. Находящийся в контактной коробке 4 другой магнит 5, за счет взаимодействия с магнитом 3, поворачивается вокруг оси 6 по часовой стрелке. В результате этого замыкаются нижние контакты 7. Оба магнита находятся в кожухах из немагнитного металла.

Система защиты предназначена для автоматической остановки или снижения нагрузочного режима двигателя при отклонении контролируемого параметра ниже или выше заданного предельно допустимого значения.

Срабатывание системы защиты может происходить при понижении давления масла и повышении температуры масла и охлаждающей воды. В последние годы число параметров, по которым производится защита двигателя, значительно увеличилось. К этим параметрам относятся: температура рамовых, мотылевых и головных подшипников, поток охлаждающей воды (масла) поршней и форсунок и др.

Система защиты, как правило, объединяется с системой аварийной сигнализации и имеет общие с ней реле-датчики. При срабатывании реле сигнал подается на исполнительный механизм, который прекращает или снижает подачу топлива в цилиндры двигателя. В качестве исполнительных механизмов используются пневматические и гидравлические сервомоторы и электромагнитные устройства.

Кроме специальных систем защиты, на дизелях применяются раз¬личного рода блокирующие и защитные устройства. Чтобы исключить возможность ошибочных действий персонала при управлении глав¬ными реверсивными двигателями, предусматривается блокировка пускового, реверсивного и топливоподающего механизмов. К числу защитных устройств относится блокировочный механизм валоповоротного устройства, предотвращающий возможность пуска двигателя при включенном валоповоротном устройстве. На многих главных двига¬телях применяется блокировка реверсивно-пускового устройства с машинным телеграфом, что исключает возможность ошибок при управлении дизелем.

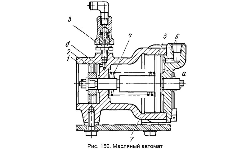
Для защиты двигателя от поломки при падении давления масла применяются масляные автоматы-выключатели (рис. 156).

Рис. 156. Масляный автомат

В корпусе 1 на общем штоке закреплены воздушный 2 и масляный 5 поршни. Выходящий из корпуса конец штока находится против торца тяги топливных насосов. Полость а через маслоподводящий канал 6 сообщена с масляной магистралью. При нормальном давлении масла оба поршня находятся в крайнем левом положении и шток не воздействует на топливную тягу.

В случае снижения давления масла под действием пружины 4 поршни перемещаются вправо, и шток поставит топливную тягу в положение нулевой подачи.

В период пуска двигателя сжатый воздух поступает в полость б и, воздействуя на поршень 2, перемещает шток влево, освобождая тягу топливных насосов. Невозвратный шариковый клапан 3 препятствует выходу воздуха из полости б сразу после пуска двигателя, так как давление масла может быть еще недостаточным.

Стравливание воздуха происходит постепенно через неплотности. За это время давление масла достигает нормальной величины. Масло, просачивающееся в полость за поршнем 5, удаляется через отверстие 7, которое одновременно является декомпрессионным.

Осуществляемая в последние годы комплексная автоматизация судовых дизельных установок с безвахтенным обслуживанием механизмов машинного отделения на стоянке и с одним вахтенным в ЦПУ на ходу судна потребовала применения дистанционного контроля за состоянием работающих механизмов и устройств, включая главный двигатель. Одновременно резко повысилась роль аварийно-предупредительной сигнализации и защиты.

Дистанционный контроль позволяет вахтенному в ЦПУ систематически получать сведения о состоянии работающего двигателя, к числу которых относятся: давление масла, температура выпускных газов по цилиндрам, температура рамовых, мотылевых, головных и упорных подшипников, температура цилиндровых втулок, охлаждающей воды по цилиндрам и охлаждающей воды (масла) поршней, поток охлаждающей воды форсунок, уровень масла в ГТН, взрывоопасная смесь в картере и т. п. Число контролируемых точек главного двигателя на находящихся в эксплуатации автоматизированных судах достигает ста и с каждым годом увеличивается.

В местах контрольных точек расположены датчики, которые преобразуют значения контролируемых параметров в электрические сигналы, которые непрерывно поступают в электронно-вычислительную машину централизованного контроля (МЦК). Здесь сигналы преобразуются в цифровые величины, которые периодически регистрируются на ленте печатающей машинки, расположенной в ЦПУ. В зависимости от типа МЦК периодичность регистрации устанавливается от 1 до 120 мин. Кроме этого, сведения могут быть выданы по вызову при нажатии кнопки вахтенным в ЦПУ.

В случае достижения контролируемым параметром заданного предельно допустимого значения МЦК немедленно регистрирует это отклонение и выдает на ленту аварийный цифровой сигнал с подачей звуковой и световой сигнализации. Одновременно через блоки логических элементов МЦК подает командный сигнал на соответствующие исполнительные механизмы, в результате чего автоматически изменяется режим работы двигателя или двигатель останавливается.

MirMarine
MirMarine – образовательный морской сайт для моряков.
На нашем сайте вы найдете статьи по судостроению, судоремонту и истории мирового морского флота. Характеристики судовых двигателей, особенности устройства вспомогательных механизмов и систем.