MAN B&W 50-98MC: Втулка цилиндра и смазка цилиндра

Цель - представить общую информацию о конструкции и обслуживании двухтактных крейцкопфных двигателей фирмы MAN B&W Diesel. Содержание статьи подготовлено на основе стандартного двигателя типа S60MC, но она не подлежит использованию для какого-либо определенного двигателя.

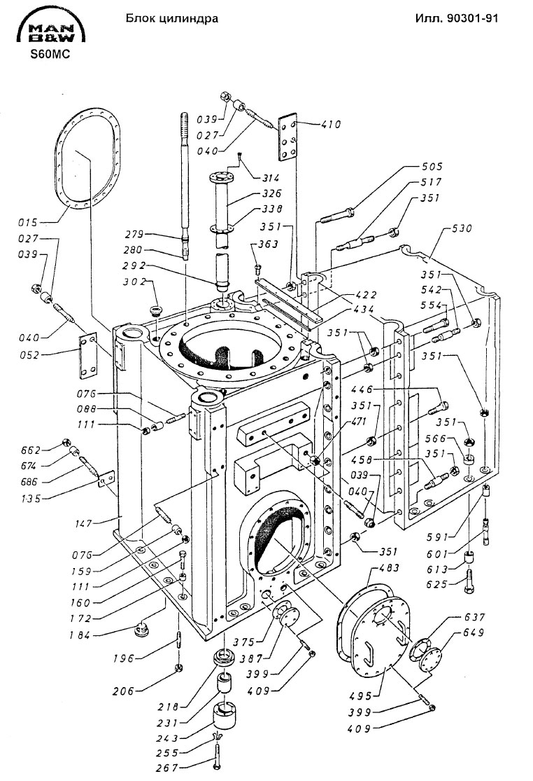
Блок цилиндра

Цилиндровая секция двигателя состоит из ряда блоков цилиндра, которые прикреплены к картеру и фундаментной раме двигателя с помощью сквозных вертикальных анкерных связей.

Блоки цилиндра стянуты вместе в вертикальных разъемах. Два центральных отверстия, в верхней части и на половине высоты внутри блока цилиндра, предусмотрены для втулки цилиндра. Верхняя часть блока цилиндра образует часть полости охлаждающей воды вокруг центральной части втулки цилиндра, а нижняя часть образует полость продувочного воздуха.

Центральное отверстие в днище блока цилиндра служит для сальника штока поршня. Днище является двойным и имеет полость, для циркуляции охлаждающей воды.

Со стороны выпуска блока цилиндра имеется круглое отверстие, через которое пространство продувочного воздуха вокруг втулки цилиндра соединяется с ресивером продувочного воздуха, расположенного вдоль двигателя.

Кроме того, там имеются входные трубки охлаждающего и смазочного масла и охлаждающей воды. Блок цилиндра оборудуется крышками для чистки и осмотра полости охлаждающей воды и продувочного воздуха.

В блоке цилиндра установлены шпильки для крепления крышки цилиндра. Шпильки имеют уплотнительные кольца, предотвращающие образование ржавчины на резьбе.

Втулка цилиндра

Выше блока цилиндра втулка оборудуется рубашкой и отверстиями для охлаждения.

Резиновые кольца, расположенные в проточенных во втулке цилиндра канавках, обеспечивают уплотнение полости охлаждающей воды.

Охлаждающая вода подводится через водяные переходники из блока цилиндра в нижнюю часть охлаждающей рубашки.

Вода далее проходит через ряд охлаждающих трубок, расположенных в отверстиях во втулке цилиндра, в верхнюю часть рубашки охлаждения и оттуда через водяные переходники в рубашку охлаждения нижней части крышки цилиндра.

Втулка цилиндра прижимается к верхней части блока цилиндра крышкой цилиндра и направляется отверстием на полпути вниз внутри блока, поэтому она может свободно расширяться вниз при нагревании во время эксплуатации двигателя. Уплотнение, препятствующее утечке охлаждающей воды и продувочного воздуха, достигается с помощью четырех колец из силиконовой резины, расположенных в проточенных канавках в направляющей втулки цилиндра -двух для охлаждающей воды и двух для продувочного воздуха. Между уплотняющими кольцами расположено отверстие, обеспечивающее проверку эффективности уплотнения.

Часть втулки цилиндра, расположенная в полости продувочного воздуха блока цилиндра, имеет ряд окон продувочного воздуха, которые открываются поршнем в его нижнем положении. Окна продувочного воздуха просверлены под косым углом к оси втулки цилиндра, чтобы придать продувочному воздуху вращательное движение в цилиндре.

В свободной части втулки цилиндра, между охлаждающей рубашкой и блоком цилиндра имеется ряд отверстий с невозвратными клапанами для подачи масла в цилиндр. На рабочей поверхности цилиндра эти отверстия соединены зигзагообразными смазочными канавками для равномерного распределения масла.

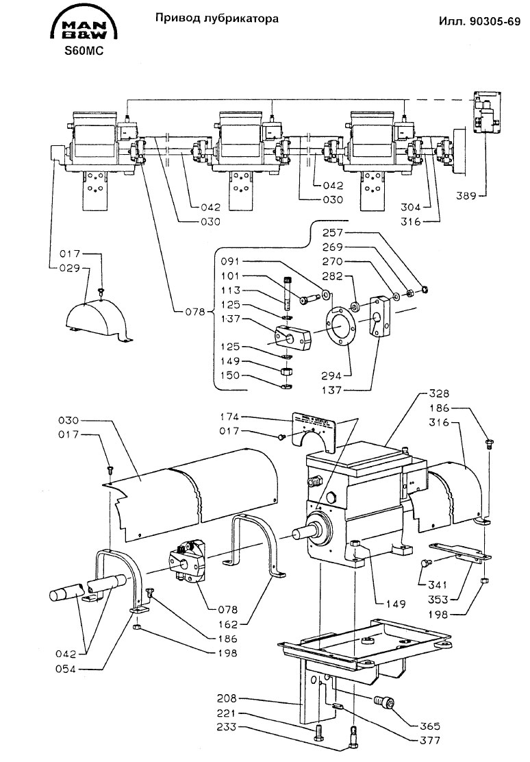
Лубрикаторы цилиндра

Каждый блок цилиндра оборудован лубрикатором цилиндра, включающим в себя ряд масляных насосов в соответствии с числом смазочных отверстий во втулке цилиндра.

Лубрикаторы взаимосвязаны посредством валов с муфтами, которые неподатливы в направлении вращения.

Лубрикаторы приводятся через цепную передачу от промежуточного колеса на распределительном валу.

Применяются лубрикаторы с подачей, зависимой от нагрузки типа ПЗН.

Для двигателей, оборудованных регулятором Вудворда, лубрикаторы ПЗН управляются электронным устройством, которое контролирует положение вала, регулирующего подачу топлива.

Для двигателей, оборудованных электронным регулятором, лубрикаторы ПЗН управляются непосредственно регулятором.

Лубрикаторы могут работать в двух режимах:

  • Режим ПЗН: Лубрикаторы подают увеличенное количество цилиндрового масла во время Пуска, Маневрирования и при внезапных изменениях нагрузки. Это снижает износ втулки.
  • Режим постоянного положения: Лубрикаторы подают постоянное количество цилиндрового масла за один оборот.

В части лубрикаторов цилиндров см. поставляемые специальные руководства. См. также статью «Состояние цилиндра - 707».

Блок цилиндра S60MC

Втулка цилиндра S60MC

Лубрикаторы цилиндра S60MC

Осмотр, обмер и восстановление втулки цилиндра (903-2)

Осмотр, обмер и восстановление втулки цилиндра S60MC

Осмотр, обмер и восстановление втулки цилиндра S60MC

  • 1.   Демонтируйте крышку цилиндра и поршень.
  • См. статьи «Крышка цилиндра и Поршень со штоком и сальником» операции 901-1.1 и 902-2.1

    Очистите втулку цилиндра и продувочные окна.

  • 2.   Установите приспособление для обмера втулки цилиндра. Обмер втулки цилиндра производится в точках, указанных на приспособлении для обмера. Произведите измерения в продольном и поперечном направлениях судна (см. Данные).
  • 3.   Проверьте состояние втулки цилиндра и оцените ее согласно описанию в статье «Состояние цилиндра (707)».
  • Тщательно зачистите все царапины или риски (или гребень износа в нижней части) на рабочей поверхности втулки цилиндра с помощью шлифовального камня.

    Проверьте точки смазки цилиндра ручной прокачкой цилиндрового масла к каждой отдельной точке смазки. Очистите все засоренные каналы смазки. Установите поршень и крышку цилиндра. См. статьи «Крышка цилиндра и Поршень со штоком и сальником» операции 902-2.2 и 901-1.2.

Замена втулки цилиндра (903-3)

Замена втулки цилиндра  S60MC

Замена втулки цилиндра  S60MC

  • 1.  Демонтируйте крышку цилиндра.
  • См. статью «Крышка цилиндра» операцию 901-1.1.

    Выбросите кольцо из мягкой стали с верхней части втулки цилиндра. Опустите поршень достаточно вниз, чтобы сделать возможным зачистку следов износа в верхней части втулки с помощью ручного шлифовального круга. См. операцию 903-2.1.

    Демонтируйте поршень. См. статью «Поршень со штоком и сальником» операцию 902-2.1.

    Установите два подъемных болта в охлаждающей рубашке.

  • 2.  Отсоедините масляные трубы, от лубрикатора цилиндра к невозвратным клапанам. Отсоедините восемь невозвратных клапанов. Демонтируйте четыре патрубка охлаждающей воды между охлаждающей рубашкой и крышкой цилиндра и тщательно их прочистите.
  • 3.  Присоедините кран к подъемному устройству. Зацепите подъемное устройство за два подъемных болта и поднимите втулку цилиндра с охлаждающей рубашкой из блока цилиндра.
  • Опустите втулку цилиндра вертикально на, например, пару досок. Очистите блок цилиндра внутри, обращая особое внимание на контактные поверхности втулки цилиндра в верхней части блока цилиндра и в нижней части, где установлены уплотнительные кольца. Эти два места обеспечивают уплотнение охлаждающей воды.

  • Выбросьте уплотнительные О-кольца с патрубков охлаждающей воды и установите новые.
  • 4.   Освободите крюки и вывинтите два подъемных болта втулки. Ввинтите два подъемных болта в охлаждающую рубашку и прицепите две тали. Зацепите тали к двум подъемным болтам на охлаждающей рубашке и натяните их. Ослабьте четыре болта на зажимах, которые крепят охлаждающую рубашку к втулке цилиндра. Снимите зажимы со втулки.
  • 5.   Опустите охлаждающую рубашку талями и положите ее на деревянные доски. Снимите тали с поперечины.
  • 6.   Ввинтите два подъемных болта втулки.
  • 7.   Поднимите втулку цилиндра из охлаждающей рубашки.
    • Очистите охлаждающую рубашку внутри. Очистите новую втулку цилиндра, удаляя защитный слой смазки. Заполните защитную проточку контактной поверхности втулки пастой (чтобы предотвратить коррозию).
  • 8.   Установите подъемные болты на новой втулке. Приподнимите новую втулку и установите уплотнительные О-кольца охлаждающей рубашки на поверхности втулки и закрепите их, например, с помощью ленты. Затем поместите втулку в охлаждающую рубашку.
  • 9.   Снимите подъемные болты со втулки.
    • Прицепите тали к поперечине и закрепите тали за два подъемных болта охлаждающей рубашки.
    • Установите уплотнительные О-кольца охлаждающей рубашки в канавки на втулке цилиндра.
    • Поднимите охлаждающую рубашку на место - маркировочные риски на рубашке/втулке должны совпадать (со стороны распределения).
  • 10.   Поверните четыре зажима, пока они не войдут в канавку втулки, и затяните болты. Снимите тали с подъемного приспособления.
  • 11.   Покройте уплотнительные кольца на переливные патрубках небольшим количеством консистентной смазки. Соединительные поверхности блока цилиндра/втулки цилиндра, должны быть совершенно чистыми.
    • Зацепите подъемное приспособление за подъемные болты и поднимите узел рубашка/втулка.
    • Установите уплотняющие О-кольца рядом с продувочными окнами и покройте их смазочным маслом.
    • Подвесьте втулку над блоком цилиндра с маркировочной риской со стороны распределительного вала, направляя рубашку в соответствии с переливными патрубками.
    • Затяните нижние переливные патрубки на охлаждающей рубашке, как только втулка цилиндра будет установлена правильно.
  • 12.   Установите невозвратные клапаны смазки цилиндра в отверстия втулки.
    • Подсоедините трубки от лубрикатора к невозвратным клапанам, но не затягивайте. Прокачайте систему смазки цилиндра ручной прокачкой каждой отдельной трубки до тех пор, пока не пойдет масло без пузырьков воздуха из штуцерного соединения трубки/невозвратного клапана. После этого плотно затяните трубки на невозвратных клапанах и снова вручную прокачайте до тех пор, пока не убедитесь, что каждая отдельная точка смазки функционирует правильно.
    • Выверните все подъемные болты.
  • 13.   Установите новое уплотнительное кольцо в верхней части втулки цилиндра.
    • Установите поршень и крышку цилиндра. См. статьи «Крышка цилиндра и Поршень со штоком и сальником» операции 902-2.2 и 901-1.2.
    • Затяните верхние переливные патрубки на охлаждающей рубашке как только крышка цилиндра будет установлена правильно.

Замена втулки цилиндра - ограниченная высота подъема (903-3.2)

Замена втулки цилиндра - ограниченная высота подъема  S60MC

  • 1.   Снимите крышку цилиндра и поднимите поршень.
    • См. статьи «Крышка цилиндра и Поршень со штоком и сальником» операции 901-1.1 и 902-2.1.
    • Спустите охлаждающую воду из блока цилиндра.
    • Выбросите кольцо из мягкой стали с верхней части втулки цилиндра.
    • Установите четыре подъемных болта в охлаждающую рубашку.
  • 2.  Снимите масляные трубки, соединяющие лубрикатор цилиндра с невозвратными клапанами втулки цилиндра. Выверните невозвратные клапаны.
    • Демонтируйте четыре патрубка охлаждающей воды между охлаждающей рубашкой и крышкой цилиндра и тщательно их очистите.
  • 3.   Присоедините кран к подъемному приспособлению. Зацепите подъемное приспособление за четыре подъемных болта и приподнимите втулку цилиндра с охлаждающей рубашкой из блока цилиндра.
    • Снимите четыре патрубка охлаждающей воды между блоком цилиндра и втулкой цилиндра.
  • 4.   Снимите необходимое количество шпилек крышки цилиндра.
    • Поднимите втулку насколько это возможно и передвиньте краны по направлению к стороне распределительного вала. Используйте либо сдвоенный кран, либо тали для наклона втулки.
  • 5.   Опустите втулку цилиндра в горизонтальное положение на пару досок.
  • 6.   Вывинтите подъемные болты из втулок.
    • Ослабьте болты на четырех зажимах, которые крепят охлаждающую рубашку к втулке цилиндра. Снимите зажимы со втулки.
    • Снимите охлаждающую рубашку с втулки цилиндра, перемещая положение места захвата, при необходимости.
  • 7.   Установите на втулку цилиндра новые уплотнительные кольца для охлаждающей рубашки и покройте кольца тонким слоем смазочного масла.
    • Установите охлаждающую рубашку в порядке, обратном демонтажу.
    • Убедитесь, что маркировочные риски на охлаждающей рубашке/втулке цилиндра совпадают.
  • 8.   Проверните четыре зажима, пока они не войдут плотно в канавку на втулке, и затяните болты.
    • Установите новые уплотнительные кольца на втулке цилиндра в канавках около продувочных окон и покройте смазочным маслом.
  • 9.   Очистите блок цилиндра изнутри, обращая особое внимание на контактные поверхности втулки цилиндра в верхней части блока цилиндра и в нижней части, где установлены уплотнительные кольца. Эти два места обеспечивают уплотнение полостей охлаждающей воды.
  • 10.   Установите подъемные болты на втулке.
    • Зацепите кранами болты и поднимите втулку над блоком цилиндра.
    • Установите новые уплотнительные О-кольца на патрубки охлаждающей воды, покройте их тонким слоем смазочного масла и установите в блок цилиндра.
    • Опустите втулку на место в блок цилиндра, маркировочной риской к стороне распределительного вала и направляя рубашку согласно переливным патрубкам.
  • 11.   Затяните переливные патрубки.
    • Уберите подъемное приспособление.
    • Установите невозвратные клапаны для смазки цилиндра в отверстиях втулки.
    • Наверните трубки от лубрикатора на невозвратные клапаны, но не затягивайте.
    • Прокачайте систему смазки цилиндра ручной прокачкой каждой отдельной трубки до тех пор, пока не пойдет масло без пузырьков воздуха из штуцерного соединения трубки/невозвратного клапана. После этого плотно затяните трубки на невозвратных клапанах и снова вручную прокачайте до тех пор, пока не убедитесь, что каждая отдельная точка смазки функционирует правильно.
  • 12.  Установите ранее снятые шпильки крышки цилиндра. Убедитесь, что резьба шпилек крышек цилиндра уходит ниже верхней кромки блока цилиндра.
    • Тщательно очистите поверхности вокруг хвостовиков установленных шпилек и заполните надлежащим образом впадины хвостовиков перматексом 3.

Проверка и регулировка лубрикаторов цилиндров (903-4)

Проверка и регулировка лубрикаторов цилиндров S60MC

ПРОВЕРКА РЕГУЛИРОВКИ ЛУБРИКАТОРА:

  • 1.   Поверните поршень цилиндра 1 в ВМТ.
  • 2.   Приложите проверочный шаблон ко всем лубрикаторам подряд и проверьте, чтобы одна из двух меток А на шкале лубрикатора была напротив соответствующего номера цилиндра на проверочном шаблоне. Метка А показывает завершение хода нагнетания лубрикатора цилиндра.

Согласование по времени подачи масла: См. лист «Регулирование» в статье «Меры безопасности и Основные данные Двигателя».

Если соединения между лубрикаторами цилиндра, были ослаблены (например с целью регулировки), их болты должны быть затянуты вновь динамометрическим гаечным ключом до 60 Нм.

Втулка цилиндра – дополнительные приспособления

Литература

Инструкция для главных двигателей типа 50-98МС. Издание 8С

MirMarine
MirMarine – образовательный морской сайт для моряков.
На нашем сайте вы найдете статьи по судостроению, судоремонту и истории мирового морского флота. Характеристики судовых двигателей, особенности устройства вспомогательных механизмов и систем.