Содержание
- Подшипники крейцкопфа (904-2.1)
- Осмотр шейки и замена подшипников крейцкопфа (904-2.2)
- Демонтаж/монтаж крейцкопфа (904-4)
- Проверка возвратно-поступательно движущихся частей (904-5)
- Проверка, осмотр и замена мотылевого подшипника (904-6)
- Проверка зазора мотылевого подшипника (904-6.1)
- Осмотр и замена мотылевого подшипника (904-6.2)
- Демонтаж/монтаж шатуна (904-7)
Цель - представить общую информацию о конструкции и обслуживании двухтактных крейцкопфных двигателей фирмы MAN B&W Diesel. Содержание статьи подготовлено на основе стандартного двигателя типа S60MC, но она не подлежит использованию для какого-либо определенного двигателя.
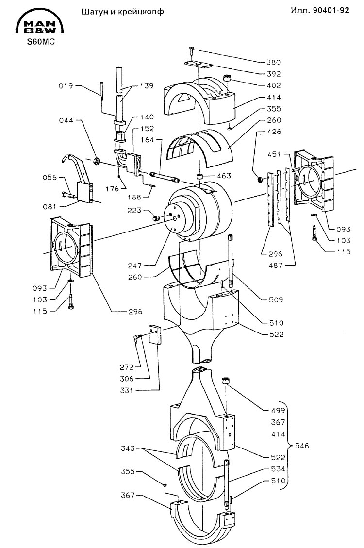
Крейцкопф спроектирован в виде центральной части (поперечины) с шейками опорных подшипников на каждом конце, на которых установлены плавающие направляющие башмаки.
Центральная часть крейцкопфа спроектирована в виде шейки подшипника крейцкопфа (головного подшипника).
В крышке подшипника крейцкопфа имеется вырез для соединения штока поршня с крейцкопфом.
Подшипник крейцкопфа (головной) имеет вкладыши, залитые слоем белого металла. Кроме того, нижний вкладыш имеет приработанный слой покрытия.
Шток поршня опирается на крейцкопф и направляется направляющим кольцом в крейцкопфе.
Чтобы обеспечить соответствие различным модификациям двигателя, между штоком поршня и крейцкопфом может быть установлена прокладка.
Шток поршня крепится к крейцкопфу четырьмя болтами.
На кронштейн крейцкопфа, установленный между направляющим башмаком и подшипником крейцкопфа, прикреплена телескопическая труба, которая подает смазочное и охлаждающее масло к крейцкопфу, мотылевой шейке и поршню.
Выпускная труба масла, охлаждающего поршень, прикреплена к противоположному концу поперечины крейцкопфа. Выпускная труба скользит внутри трубы с прорезью, установленной в картере двигателя, откуда масло, проходя через датчики контроля на каждом цилиндре для проверки его температуры и потока, сливается в цистерну смазочного масла.
Крейцкопф имеет сверленые каналы для распределения масла, подаваемого через телескопическую трубу, частично для охлаждения поршня, частично на смазку головного подшипника крейцкопфа и направляющих башмаков, а через сверление в шатуне - на смазку мотылевого подшипника.
Поверхности скольжения двух направляющих башмаков залиты белым металлом.
Стопорный болт устанавливается в нижней части центрального отверстия.
Крейцкопф движется по направляющим крейцкопфа в картере двигателя и защищен надежно от смещения направляющими планками, прикрепленными к направляющим башмакам.
Сборка подшипника крейцкопфа производится с помощью четырех шпилек с гайками. Гайки затягиваются гидравлическим приспособлением.
Мотылевой подшипник имеет вкладыши, залитые белым металлом, и собирается с помощью двух шпилек с гайками. Гайки затягиваются гидравлическим приспособлением.
Как вкладыши головного, так и вкладыши мотылевого подшипников фиксируются на месте винтами, устанавливаемыми в корпусах подшипников.
Подшипники крейцкопфа (904-2.1)
- 1. Откройте люк картера цилиндра, с которым имеете дело.
- 2. Поверните кривошип этого цилиндра в НМТ.
- 3. Замерьте зазор в подшипниках крейцкопфа с помощью щупа, который должен быть вставлен сверху верхнего вкладыша подшипника.
- При проверке зазоров расхождение между замерами, записанными в Данных паспорта (или с зазором, указанным для нового подшипника, установленного позже) не должно превышать 0,05 мм. В случае превышения подшипник крейцкопфа должен быть разобран для осмотра, см. операцию 904-2.2.
- 4. Предельный износ вкладыша подшипника крейцкопфа ограничен 50%-ным снижением длины масляного клина (L).
- 5. О дальнейшем внешнем осмотре подшипника крейцкопфа см. статью «Подшипники и Циркуляционное Масло» (708).
Осмотр шейки и замена подшипников крейцкопфа (904-2.2)
- 1. Поверните кривошип вниз так, чтобы обеспечить доступ к гайкам и болтам на штоке поршня, крышке подшипника крейцкопфа и болтам на телескопической трубе.
- 2. Установите две цепи с рым-болтами в отверстия для внутренних болтов в днище блока цилиндра для подвешивания штока поршня, в направлении поперек судна.
- Установите два рым-болта в два внешних болтовых отверстия в днище блока цилиндра в направлении поперек судна.
- Установите также два рым-болта в продольном направлении (нос-корма) судна.
- 3. Отдайте и снимите стопорную проволоку с болтов штока поршня в пятке штока поршня.
- Снимите болты.
- Установите проставочное кольцо («стакан») и гидравлические домкраты для ослабления гаек на крышке подшипника крейцкопфа.
- Ослабьте гайки.
- О работе с гидравлическими приспособлениями см. статью «Инструмент и приспособления общего назначения (913)».
- Снимите гидравлические домкраты и отверните гайки.
- 4. Установите по одному подъемному рым-болту на каждой стороне крышки подшипника и на штоке поршня.
- 5. Отдайте и снимите болты, которые крепят телескопическую трубу к колену.
- Снимите один болт с корпуса телескопического сальника и установите специальное приспособление для подвешивания телескопической трубы.
- 6. Поверните кривошип в ВМТ.
- Закрепите концы цепей за подъемные рым-болты в штоке поршня.
- Подвесьте телескопическую трубу с помощью приспособления. См. статью «Поршень со штоком и сальником» операцию 902-2.
- Проверните кривошип вниз, при этом шток поршня будет подвешен на двух цепях.
- Снимите проставочную трубу с колена телескопической трубы.
- 7. Поверните кривошип в НМТ.
- Подвесьте две тали на рым-болты в днище блока цилиндра.
- Прикрепите тали к рым-болтам в крышке подшипника крейцкопфа и приподнимите ее в положение, при котором можно осмотреть верхние вкладыши подшипника и верхнюю часть шейки.
- В случаях, когда необходимо заменить вкладыш подшипника, снимите крышку подшипника с двигателя.
- 8. Положите крышку подшипника на бок на пару деревянных досок.
- Демонтируйте стопорные винты и замените вкладыш подшипника новым. Затем поднимите крышку подшипника снова в двигатель.
- Опустите крышку подшипника на крейцкопф и снимите тали.
- 9. Установите проставочную трубу на колено телескопической трубы.
- 10. Проверните кривошип вверх, до тех пор, пока шток поршня не ляжет на крейцкопф. Обеспечьте правильную установку направляющего кольца крейцкопфа в центральном отверстии штока поршня.
- 11. Положите телескопическую трубу на колено.
- Опустите в НМТ и снимите цепи и рым-болты с верхней плиты картера, штока поршня и крышки подшипника крейцкопфа в направлении поперек судна.
- Снимите шпильки для подвешивания и установите болты в корпусе телескопического сальника.
- Установите болты и затяните телескопическую трубу, см. лист Данных.
- 12. Установите болты штока поршня, но не затягивайте их.
- Установите подъемные приспособления для крепления шатуна на головку шатуна.
- Прикрепите тали к неподвижным кронштейнам для подъема на стенке картера.
- Поднимите в ВМТ и присоедините крюки талей к упомянутой остнастке.
- 13. Установите опору направляющих башмаков на направляющие крейцкопфа.
- Осторожно проворачивайте кривошип вниз к стороне выпуска, пока башмаки крейцкопфа не лягут на опору.
- Подгоните опорные кронштейны к направляющим башмакам так, чтобы вес крейцкопфа был равномерно распределен на четыре опоры.
- Подтяните тали.
- 14. Осторожно проворачивайте кривошип к НМТ, используя тали, постоянно поддерживая таким образом шатун.
- 15. После установки крейцкопфа на опоры осмотрите нижнюю часть шейки и вкладыш подшипника.
- О ревизии шейки и вкладышей подшипников см. статью «Подшипники и Циркуляционное Масло» (708)»
- 16. В случаях, когда необходимо снять нижние вкладыши подшипников, наклоните шатун в направлении люка со стороны распределения с помощью талей.
- Снимите стопорные болты и поверните вкладыш подшипника вверх настолько, чтобы можно было установить рым-болт.
- Снимите вкладыш подшипника с двигателя.
- 17. Установите и закрепите новый вкладыш подшипника в корпусе подшипника.
- Избыточная высота X предназначена для обеспечения правильного обжатия вкладыша подшипника и не должна устраняться.
- 18. Поднимите шатун в вертикальное положение.
- Снимите стопорную проволоку с болтов и снимите носовой или кормовой упор с крейцкопфа.
- 19. Проворачивайте к ВМТ, используя тали, для соединения крейцкопфа и шатуна.
- 20. Снимите опоры с направляющих крейцкопфа и подъемные приспособления с шатуна.
- Установите упор шатуна со стороны гаек.
- Проверните кривошип вниз настолько, чтобы облегчить затяжку гаек.
- Затяните болты упора и застопорите стопорной проволокой.
- Стопорная проволока должна быть установлена так, чтобы проволока была натянута, если один из болтов ослаблен. См. статью «Инструмент и приспособления общего назначения» операцию 913-7.2.
- 21. Затяните все четыре гайки крышки подшипника крейцкопфа. См. Данные.
- Затяните болты штока поршня и застопорите стопорной проволокой.
- Стопорная проволока должна быть установлена так чтобы проволока была натянута, если один из болтов ослаблен.
- 22. Если поршень вынут из цилиндра, вкладыши подшипника крейцкопфа могут быть осмотрены в следующем порядке:
- Поверните в НМТ.
- Отдайте и снимите гайки с крышек подшипника, удалите крышку подшипника из двигателя и, при необходимости, замените верхний вкладыш.
- С помощью приспособлений и талей зафиксируйте шатун.
- 23. Установите специальное подъемное приспособление на крейцкопф и, с помощью крана машинного отделения, поднимите крейцкопф достаточно высоко, чтобы осмотреть нижний вкладыш и нижнюю часть шейки.
- При необходимости замените вкладыш, повторите операции пункта 13.
- 24. Перед опусканием крейцкопфа на шатун, снимите носовой или кормовой упор с крейцкопфа.
- Соберите детали в порядке, обратном демонтажу. См. лист Данных.
Внимание! Когда поршень демонтирован, ни в коем случае не проворачивайте двигатель, не демонтировав телескопическую трубу с крейцкопфа.
Демонтаж/монтаж крейцкопфа (904-4)
- 1. Демонтируйте поршень. См. статью «Поршень со штоком и сальником» операцию 902-2.
- 2. Проверните крейцкопф вниз настолько, чтобы обеспечить доступ к гайкам на крышке подшипника крейцкопфа.
- Установите два рым-болта в днище блока цилиндра в продольном направлении, установите два рым-болта в направлении поперек судна и подвесьте две тали.
- Установите проставочные кольца («стаканы») и гидравлические домкраты для ослабления гаек на шпильках подшипника крейцкопфа.
- О действии гидравлических приспособлений см. статью «Инструмент и приспособления общего назначения (913)».
- Ослабьте гайки, снимите гидравлические домкраты и отвинтите гайки.
- 3. Установите рым-болты в крышке подшипника крейцкопфа и закрепите тали.
- Снимите крышку подшипника и извлеките ее из двигателя.
- 4. Демонтируйте колено телескопической трубы и снимите шпильки с крейцкопфа.
- Демонтируйте сливную трубу охлаждающего масла и снимите шпильки с крейцкопфа.
- Установите специальное подъемное приспособление на крейцкопф.
- 5. Проверните кривошип в ВМТ.
- Установите два рым-болта с каждой стороны крышки мотылевого подшипника и с помощью скоб и тросов подвесьте тали и натяните.
- Установите «стаканы» и гидродомкраты для ослабления гаек на шпильках крышки мотылевого подшипника.
- О работе с гидравлическими приспособлениями см. статью «Инструмент и приспособления общего назначения (913)».
- Ослабьте гайки, снимите гидродомкраты и отвинтите гайки.
- Опустите крышку подшипника.
- Снимите крышку подшипника с двигателя. Затем снимите тали с днища блока цилиндра.
- 6. Установите опоры для направляющих башмаков на направляющих крейцкопфа.
- Осторожно поверните коленвал вниз, пока направляющие башмаки не лягут на опоры.
- Подгоните опорные кронштейны к направляющим башмакам так, чтобы масса крейцкопфа была равномерно распределена на четыре опоры.
- Снимите шатун с помощью операции 904-7.
- 7. Снимите направляющие планки и направляющие болты с направляющих башмаков. Снимите также обе упорных подушки с крейцкопфа.
- Снимите направляющие болты из нижней части направляющих башмаков.
- 8. Прикрепите кран машинного отделения к подъемному приспособления крейцкопфа с помощью специальной плоской обернутой проволоки и приподнимите крейцкопф.
- 9. Подвесьте две тали за рым-болты в днище блока цилиндра в направлении - нос-корма. Установите рым-болт в верхней части каждого из направляющих башмаков.
- 10. Проверните кривошип в НМТ. Снимите масляные трубы с двух соседних крышек рамовых подшипников.
- 11. Положите тонкую деревянную доску или что-то похожее поверх кривошипа для защиты крейцкопфа. Опустите крейцкопф так, чтобы направляющие башмаки были под отверстием верхней плиты картера.
- 12. Прикрепите тали к рым-болтам в направляющих башмаках. Оттяните направляющие башмаки в сторону, пока они не освободятся от крейцкопфа.
- Опустите направляющие башмаки сверху на рамовые подшипники.
- 13. Поверните крейцкопф на 90 °.
- Установите рым-болт в торец крейцкопфа и, с помощью троса и талей, извлеките крейцкопф из двигателя.
- Опустите и закройте крейцкопф вне двигателя.
- Извлеките направляющие башмаки из двигателя.
Внимание! Позаботьтесь, чтобы шпильки не повредили мотылевую шейку.
Примечание! Имейте в виду, что зазор между кривошипом и крейцкопфом весьма мал.
УСТАНОВКА НОВОГО КРЕЙЦКОПФА
- 14. Заведите направляющие башмаки без направляющих планок в двигатель на крышки рамовых подшипников.
- Очистите новый крейцкопф от консервирующей смазки, вставьте рым-болт в торец крейцкопфа и установите специальное подъемное устройство.
- Заведите крейцкопф в двигатель с помощью троса, талей и крана машинного отделения.
- 15. Закрепите тали за рым-болты в направляющих башмаках и установите направляющие башмаки на крейцкопф и установите направляющие болты в нижней части направляющих башмаков.
- 16. С помощью крана машинного отделения поднимите крейцкопф в рабочее положение и установите направляющие планки на стороне направляющих башмаков.
- 17. Поднимите крейцкопф и установите четыре опоры на направляющих крейцкопфа.
- Осторожно опустите крейцкопф, пока направляющие башмаки не лягут на опоры.
- Подгоните опорные кронштейны к направляющим башмакам.
- 18. Поднимите шатун в двигатель в обратном демонтажу порядке, см. операцию 904-7.
- 19. Поверните шатун вверх, направляя талями, пока крейцкопф не сядет в шатун.
- Снимите тали, еще немного поверните коленвал вверх и снимите четыре опоры (кронштейна).
- 20. Снимите подъемные приспособления с шатуна и крейкопфа.
- Установите шпильки для выходной трубы и входного колена охлаждающего масла.
- Установите входную и выходную трубы.
- 21. Установите две упорные подушки на обе стороны крейцкопфа.
- 22. Поверните в ВМТ.
- Заведите крышку мотылевого подшипника в двигатель.
- Установите и затяните крышку мотылевого подшипника и снимите рым-болты.
- 23. Поверните в НМТ.
- Снимите подъемное устройство с крейцкопфа.
- Заведите крышку подшипника крейцкопфа в двигатель.
- Установите и затяните крышку подшипника крейцкопфа. Снимите рым-болты.
- 24. Установите проставочную трубу на колено телескопической трубы.
- 25. Установите поршень. См. статью «Поршень со штоком и сальником» операцию 902-2.
- Снимите гайку с подвесного устройства телескопической трубы.
- Поверните вниз и закрепите телескопическую трубу.
- 26. Наконец установите крышку цилиндра. См. статью «Крышка цилиндра» операцию 901-1.
Проверка возвратно-поступательно движущихся частей (904-5)
- 1. Установите прозрачную пластиковую трубу вдоль фундаментной рамы.
- Загните концы у боков картера примерно на 250 мм. вверх. См. Т.
- Заполните трубу водой (возможно подкрашенной) до уровня примерно 100 мм. от нижней кромки трубы.
- Отдифферентуйте судно так, чтобы разница уровней воды S в носовом и кормовом концах трубы была менее 1,5 мм на 1000 мм.
- Измерения следует произвести линейкой.
- 2. Проверните коленчатый вал в направлении Назад в положение примерно на 45° после НМТ (положение 1). Башмаки крейцкопфа теперь должны находиться напротив направляющих Вперед.
- 3. Центровка поршня в цилиндре замеряется (из полости продувочного воздуха с помощью длинного щупа) между юбкой поршня и втулкой цилиндра в носу и в корме (PF-PA).
- Убедитесь, что поршень не касается втулки цилиндра в направлении нос-корма.
- 4. Проверьте, чтобы направляющие башмаки касались направляющих вверху G и внизу Н.
- Затем замерьте зазор между противоположными направляющими башмаками и направляющей вверху Е и внизу F.
- 5. Замерьте зазор между направляющими башмаками и крейцкопфом (X и Y).
- Замерьте зазор между направляющими планками и направляющими (J,К,L и М).
- Зазор рассчитанный как сумма J+X, К+Х, L+Y и M+Y регулируется установкой прокладок так, чтобы он был симметричен по отношению к зазору между юбкой поршня и втулкой цилиндра.
- Параллельность между направляющей планкой и направляющей должна выдерживаться в пределах допуска 0,2 мм на 1000 мм.
- 6. Проверьте зазор между крейцкопфом и шатуном (QF и QA, см. Данные).
Для получения одинаковых условий проведения замеров на борту, дифферент судна должен быть близким к 0°.
Рекомендуется записывать результаты замеров, чтобы была возможность установить последующие изменения.
Проверка, осмотр и замена мотылевого подшипника (904-6)
Проверка зазора мотылевого подшипника (904-6.1)
Нижний зазор между шейкой и новым вкладышем подшипника является результатом суммирования производственных допусков сборки подшипника.
Нижний зазор считается нормальным в пределах 0,24-0,45 мм.
О нижнем зазоре на реальном подшипнике см. замер на листе регулировки.
- 1. Откройте люк картера напротив проверяемого цилиндра.
- 2. Поверните кривошип проверяемого цилиндра в НМТ.
- 3. Замерьте зазор в мотылевом подшипнике щупом внизу вкладыша подшипника с обеих сторон.
- 4. При проверке зазоров, расхождение между замерами на листе регулировки (или записанным зазором для установленного позднее нового подшипника) не должен превышать 0,05 мм; в случае превышения - мотылевой подшипник должен быть разобран для осмотра, см. операцию 904-6.2.
- 5. Предел износа вкладышей мотылевых подшипников основан на оценке состояния подшипника во время осмотра.
- 6. О дальнейшем внешнем осмотре мотылевого подшипника см. статью «Подшипники и Циркуляционное Масло» (708).
Среднее значение износа 0,01 мм за 10000 часов считается нормальным.
Осмотр и замена мотылевого подшипника (904-6.2)
- 1. Поверните кривошип в НМТ.
- 2. Установите два рым-болта в днище блока цилиндра в два наружные отверстия в поперечном направлении судна и подвесьте две тали.
- 3. Поверните кривошип в ВМТ.
- Установите рым-болты с каждой стороны крышки мотылевого подшипника и посредством скоб и тросов закрепите тали и натяните их.
- С помощью гидродомкратов отпустите гайки шпилек мотылевого подшипника (о работе гидродомкратов см. статью «Инструмент и приспособления общего назначения»).
- Снимите гидродомкраты и гайки.
- 4. Опустите крышку подшипников, тщательно следя, чтобы шпильки не повредили шейку коленвала. Опустите крышку подшипников на пару досок в масляном поддоне.
- Осмотрите вкладыш подшипника.
- 5. Если вкладыш подшипника необходимо заменить, следует вынуть крышку подшипника из картера.
- Подвесьте таль с подъемной оснасткой на внутренней стороне распределительного вала картера над люком картера. Зацепите таль за рым-болт на одной из сторон крышки подшипника.
- С помощью тали с внутренней стенки картера вместе с талью, подвешенной на кронштейне площадки, выведите крышку подшипника из картера.
- 6. Положите крышку подшипника на бок на пару досок, снимите стопорные винты вкладыша подшипника и замените вкладыш новым.
- 7. Поверните в ВМТ.
- Установите опоры для направляющих башмаков на направляющие крейцкопфа.
- Осторожно поворачивайте кривошип вниз, пока башмаки крейцкопфа не лягут на опоры.
- Подгоните опорные кронштейны к направляющим башмакам так, чтобы масса крейцкопфа была равномерно распределена на четыре опоры.
- 8. Установите подъемное приспособление на нижнем конце шатуна, на одной его стороне.
- Зацепите таль и натяните.
- 9. Осторожно проверните коленчатый вал вниз, «сопровождая» талью и следя за тем, чтобы верхний подшипник полностью вышел из кривошипа, когда части будут отделяться.
- Продолжайте вращение коленчатого вала до тех пор, чтобы поверхность подшипника могла быть свободно осмотрена.
- Осмотрите поверхность подшипника и шейку коленвала.
- 10. При необходимости замените вкладыш подшипника следующим образом:
- Поверните коленчатый вал в НМТ.
- Отпустите тали так, чтобы шатун свободно висел.
- 11. Снимите стопорные болты с нижней стороны направляющих башмаков и взамен установите рым-болты.
- Зацепите две тали за рым-болты.
- 12. Установите подъемное приспособление для верхнего вкладыша мотылевого подшипника на щеки кривошипа и прицепите тали к подъемному приспособлению.
- Установите приспособление на вкладыш подшипника в шатуне с помощью талей и натяните.
- 13. Снимите стопорные винты с вкладыша подшипника.
- Опустите подъемное приспособление с вкладышем подшипника с помощью талей.
- 14. Замените вкладыш подшипника новым, покройте поверхность подшипника и шейку чистым смазочным маслом.
- Вкладыши подшипников заниженного размера до 3 мм годны как запасные части.
- Смонтируйте детали в порядке, обратном демонтажу.
- Избыточная высота X обеспечивает правильную затяжку вкладыша подшипника и не должна устраняться.
- 15. Снимите подъемное приспособление, тали и рым-болты с направляющих башмаков.
- Установите стопорные болты в направляющие башмаки.
- 16. Зацепите таль за установленную под люком проушину к подъемному приспособлению на шатуне и натяните трос.
- Осторожно поверните коленчатый вал вверх, сопровождая талью, убеждаясь, что верхняя часть подшипника входит в проем между щеками коленчатого вала, когда детали поворачиваются вместе.
- Снимите таль и подъемное приспособление с шатуна.
- 17. Поверните крейцкопф в ВМТ.
- Снимите опоры для направляющих башмаков с направляющих крейцкопфа.
- 18. Подвесьте тали к рым-болтам в верхней части картера.
- Заведите крышку подшипника в картер и положите ее на пару досок в масляном поддоне.
- 19. Зацепите тали к тросам и поднимите крышку подшипника в положение напротив шатуна.
- Установите гайки и, с помощью «стаканов» и гидродомкратов, затяните крышку мотылевого подшипника. См. Данные.
- Снимите тали и рым-болты с днища блока цилиндров.
Внимание! Во время монтажа внимательно следите, чтобы шпильки не повредили шейку коленвала кривошипа и проверяйте, чтобы установочные штифты, расположенные на крышке подшипника, заняли правильное положение к соответствующим пазам. Это необходимо для того, чтобы предотвратить перекашивание вкладышей подшипников в процессе затяжки.
Демонтаж/монтаж шатуна (904-7)
- 1. Поверните кривошип в НМТ.
- Снимите гайки со шпилек крейцкопфа. См. операцию 904-2.2
- 2. Установите два рым-болта в верхней плите картера в двух крайних нарезанных отверстиях в поперечном направлении и подвесьте две тали.
- 3. Поверните кривошип в ВМТ.
- Снимите крышку рамового подшипника и выведите крышку подшипника из двигателя. См. операцию 904-6.
- 4. Установите опоры под направляющие башмаки на направляющих крейцкопфа.
- Осторожно поворачивайте кривошип вниз к вырезу люка на стороне распределительного вала, пока башмаки крейцкопфа не лягут на опоры.
- Подгоните кронштейны опор к направляющим башмакам так, чтобы масса крейцкопфа был равномерно распределена на четыре опоры.
- 5. Установите подъемные приспособления и закрепите их к верхней головке шатуна.
- Закрепите крюки тали к проушинам А и В на стенке картера и присоедините крюки талей к указанным проушинам.
- Натяните тали.
- Установите также подъемное приспособление на нижней головке шатуна со стороны шейки коленвала, на стороне выпуска.
- 6. Поворачивайте колено в направлении НМТ, «сопровождая» талями и постоянно поддерживая.
- Крейцкопф теперь лежит на опорах.
- 7. Поверните колено в положение 45° до НМТ.
- Отсоедините таль В с подъемного приспособления на одной стороне шатуна и присоедините к другому подъемному приспособлению.
- 8. С помощью тали, подсоединенной к проушине А наклоняйте шатун в сторону распределительного вала, пока он не выйдет из проема люка.
- Закрепите таль в проушине С на стенке картера и зацепите крюк тали за подъемное приспособление на нижней головке шатуна.
- Осторожно поверните кривошип вверх, «сопровождая» талями и выводя головку шатуна через проем люка.
- При необходимости переместите тали с одного подъемного приспособления на другое.
- 9. Снимите часть пайол с площадки соответствующего цилиндра.
- Обвяжите шатун тросом, зацепите кран машинного отделения и тяните.
- 10. Продолжайте поворачивание кривошипа вверх до положения около 30° после ВМТ, «сопровождая» талями и краном машинного отделения.
- Затем выведите шатун из двигателя с помощью крана машинного отделения и талей.
- 11. Установите на шатуне те же подъемные устройства, что и при демонтаже.
- Поверните кривошип в положение около 25° после ВМТ со стороны распределительного вала.
- Покройте чистым смазочным маслом вкладыш и шейку мотылевого подшипника.
- 12. Установите шатун и соберите детали в обратном порядке.
МОНТАЖ
Внимание! Во время монтажа внимательно следите, чтобы шпильки не повредили шейки крейцкопфа и коленвала.
Проверьте, чтобы установочные штифты, установленные в крышках подшипников, правильно вошли в соответствующие канавки/отверстия. Это необходимо, чтобы предотвратить скручивание вкладышей подшипников в процессе затяжки.
Литература
Инструкция для главных двигателей типа 50-98МС. Издание 8С