MAN B&W 50-98MC: Коленчатый вал, упорный подшипник и валоповоротный механизм

Цель - представить общую информацию о конструкции и обслуживании двухтактных крейцкопфных двигателей фирмы MAN B&W Diesel. Содержание статьи подготовлено на основе стандартного двигателя типа S60MC, но она не подлежит использованию для какого-либо определенного двигателя.

КОЛЕНЧАТЫЙ ВАЛ

Коленчатый вал

Коленчатый вал полусоставной, т.е. части соединены либо насадкой в горячем состоянии, либо сваркой.

  • Для 4-8 цилиндровых двигателей коленчатый вал - цельный.
  • Для 9-12 цилиндровых двигателей коленчатый вал изготовлен из двух частей.

Рамовые подшипники смазываются из главного маслопровода, через ответвления к отдельным подшипникам, тогда как масло для смазки мотылевых подшипников подается из крейцкопфов по отверстиям в шатунах.

В кормовой части коленчатого вала установлен маховик и упорный диск упорного подшипника.

  • Для 4-8 цилиндровых двигателей в кормовом конце установлена также звездочка цепного привода распределительного вала.
  • Для 9-12 цилиндровых двигателей звездочка установлена в центральной части двигателя между двумя цилиндрами.

В носовом конце коленчатого вала могут быть установлен дополнительный маховик, демпфер крутильных колебаний и звездочка цепного привода компенсатора моментов второго порядка.

ДЕМПФЕР ПРОДОЛЬНЫХ КОЛЕБАНИЙ

Для компенсации значительных продольных колебаний и результирующих неблагоприятных сил и колебаний двигатель оборудуется демпфером продольных колебаний на носовом конце коленчатого вала, см. Илл. 91211.

Демпфер состоит из «поршня» и корпуса разъемного щелевого типа, расположенного впереди носового рамового подшипника. «Поршень» выполнен в виде цельного диска на шейке носового рамового подшипника, а корпус установлен на опоре рамового подшипника.

Продольное перемещение демпфируется за счет дросселирования масла в отверстиях, которые соединяют заполненные маслом камеры на обеих сторонах поршня.

Смазочное масло подается к обеим сторонам «поршня» из главной масляной магистрали.

УПОРНЫЙ ПОДШИПНИК

Упорный подшипник

Упорный подшипник служит для передачи осевого упора винта через гребной вал и промежуточные валы на корпус судна.

Упорный подшипник встроен в кормовую часть фундаментной рамы двигателя.

На коленчатом валу имеется упорный диск, который передает упор на ряд сегментов, установленных в упорных колодках на каждой стороне упорного гребня.

Упорные колодки опираются на поверхности в корпусе упорного подшипника и удерживаются на месте двумя поперечинами (скобами). Сегменты залиты белым металлом, поверхности трения, которые соприкасаются с упорным гребнем.

См. также статью «Подшипники и Циркуляционное Масло (708)»

Упорный подшипник смазывается из системы циркуляционного масла двигателя. Масло подается между сегментами через распыливающие трубки и сопла.

Упорный подшипник снабжен датчиками сигнализации, системой защиты снижением частоты вращения (slow-down) и автоматической остановкой (shut-down) по низкому давлению смазочного масла и высокой температуре сегментов. См. также статью «Меры безопасности и Основные данные Двигателя (701)».

ВАЛОПОВОРОТНЫЙ МЕХАНИЗМ

Валоповоротный механизм

Валоповоротный механизм прикреплен к фундаментной раме двигателя и приводится электродвигателем, имеющим дисковый тормоз.

Через ременной привод и планетарную передачу электродвигатель приводит горизонтальный вал, имеющий шестерню, которую можно перемещать в осевом направлении с помощью ручного маховичка с тем, чтобы вводить в зацепление с маховиком двигателя.

Валоповоротный механизм оборудован устройством блокировки, в виде рычага, который должен быть поднят перед вводом шестерни валоповоротного механизма в зацепление с маховиком.

Сразу после подъема этого рычага из положения Выведен из зацепления, приводится в действие блокировочный клапан, установленный в системе пускового воздуха двигателя. Блокировка предотвращает подачу пускового воздуха в двигатель, пока валоповоротный механизм находится в Зацеплении.

Когда рычаг блокировки находится в нижнем положении, предотвращается зацепление шестерни валоповоротного механизма и маховика.

Внимание!

Демонтаж: Во время любого демонтажа движущихся деталей двигателя валоповоротный механизм должен быть в зацеплении, чтобы предотвратить вращение двигателя внешними силами, которое может вызвать травмы персонала и поломки механизмов.

Испытание: Валоповоротный механизм должен быть выведен из зацепления во время испытаний пусковых клапанов под давлением, так как пропуск в клапане может вызвать вращение двигателя и повреждение валоповоротного механизма.

Проверка раскепов коленчатого вала (905-1)

Проверка раскепов коленчатого вала

Проверка раскепов коленчатого вала

При проверке прогиба коленчатого вала судно должно быть наплаву (т.е. не в сухом доке).

Так как на центровку влияет температура двигателя, а также условия загрузки, замеры прогиба должны, для сравнения, производиться при почти тех же температурах и загрузке судна.

  • 1.   Установите индикатор на кривошип параллельно шейке коленвала, как показано на рисунке. Правильное место установки отмечено керном на щеках кривошипа.
    • См. также статью «Подшипники и Циркуляционное Масло» 708.
  • 2.   «Закрытие» колена (сжатие индикатора) рассматривается как отрицательное.
  • 3.   Установите стрелку индикатора на нуль на стороне В1 или В2 около НМТ. Проворачивая, снимите показания, например, когда колено проходит следующие положения:
  • В2 (почти в самом низу)
  • Е (сторона выпуска)
  • Т (верх)
  • С (сторона распределительного вала)
  • В1 (почти внизу).
  • 1/2 (В2+В1) = В.
  • 4.   Когда снимаются раскепы коленвала для трех кормовых цилиндров, валоповоротный механизм следует, при каждой остановке, провернуть немного назад, чтобы снять тангенциальное давление на зубья маховика. В противном случае это давление может искажать показания.

Если расколы коленчатого вала приближаются к предельно допустимым, должен быть установлен новый нижний вкладыш в соответствии с линией коленчатого вала по индикатору.

См. операцию 905-3 об осмотре и переборке.

Проверка и регулировка зазора в рамовых подшипниках (905-2)

Проверка и регулировка зазора в рамовых подшипниках

Проверка и регулировка зазора в рамовых подшипниках

  • 1.   Когда слишком велика разница в замерах прогиба (раскепа) 905-1, проверьте отдельные подшипники.
  • 2.   Проверьте зазор ленточным щупом «Kjaer» между верхним вкладышем и шейкой. Не вставляйте щуп слишком далеко, чтобы уменьшить риск появления рисок.
    • Если зазор заметно увеличен, это может быть показателем ослабления анкерных связей или износа нижнего вкладыша.
    • После замера снимите подшипник - см. операцию 905-3 - для дальнейшего осмотра.
  • 3.   После снятия крышки подшипника и верхнего вкладыша, осмотрите подшипник и шейку (обратитесь к статье «Подшипники и Циркуляционное Масло» (708)),

Осмотр рамовых подшипников (905-3)

Осмотр рамовых подшипников

Осмотр рамовых подшипников

  • Осмотр рамовых подшипников подразделяется на три части:
    • рамовые подшипники (отмеченные буквой А),
    • концевой подшипник упорного вала (отмечен буквой В),
    • концевой демпфер продольных колебаний (отмечен буквой С).

ОСМОТР РАМОВЫХ ПОДШИПНИКОВ (ОТМЕЧЕННЫХ БУКВОЙ А).

Осмотр рамовых подшипников (отмеченных буквой А)

Осмотр рамовых подшипников (отмеченных буквой А)

  • 1.   Отсоедините трубу смазочного масла от магистрали.
  • 2.   Поверните колено так, чтобы его точки располагались в сторону выпуска из двигателя.
    • Проверьте зазор перед демонтажем и запишите для последующего использования.
    • Установите гидродомкраты, отпустите и снимите гайки.
    • См. статью «Инструмент и приспособления общего назначения (913)» операцию 913-1.
  • 3.   Подвесьте тали, одну внутри двигателя, другую снаружи.
  • 4.   Установите направляющий шкив с подъемным тросом и приспособлением на стенке картера.
    • Установите подъемное приспособление на крышке подшипника.
    • Снимите крышку подшипника и верхний вкладыш, поочередно используя тали.
  • 5.   Если коленчатый вал проворачивается при снятой крышке подшипника, используйте два стопора, которые предотвратят выкатывание нижнего вкладыша. (Замерьте зазор в соседнем подшипнике).
    • Двигатель можно также проворачивать без установленного нижнего вкладыша.
  • 6.   Снимите винты с поперечины (они завинчиваются только для их безопасного сохранения) и ввинтите их в резьбовые отверстия гидродомкратов (для затяжки шпилек рамовых подшипников).
    • Замените штуцеры гидродомкратов на угловые штуцерные соединения.
  • 7.   Установите поперечину в фундаментную раму концами на поперечные балки и установите гидродомкраты под щеки кривошипа, как показано.
  • 8.   Подсоедините гидравлические домкраты к насосу высокого давления и поднимайте давление до тех пор, пока коленчатый вал не поднимется в соответствии с зазором в соседнем подшипнике. Запишите давления для последующего использования.
    • Если требуется поднять выше (Разм.: макс. 0,5 мм), ослабьте крышки соседних рамовых подшипников.
  • 9.   Проверьте после подъема, чтобы зазор между шейкой и подшипником, а также между подшипником и постелью рамового подшипника был одинаков на обеих сторонах, чтобы быть уверенным, что коленчатый вал поднят строго вертикально. Если это не так, отрегулируйте положение домкрата, чтобы коленчатый вал поднимался правильно.
    • Если перемещение домкратов недостаточно для обеспечения вертикального подъема, разместите 5-тонный домкрат между боковой стенкой и коленом и подкорректируйте таким способом подъем. Чтобы избежать подсасывания воздуха, убедитесь, что цилиндр насоса обращен вниз.
  • 10.   Прикрепите два каната к верхней части вкладыша, один для выема, другой для отвода, если вкладыш застревает в постели рамового подшипника. Канат разместите как показано.
  • 11.   Выкатывайте нижний вкладыш вверх, пока он не ляжет поверх шейки рамового подшипника.
    • Выведите нижний вкладыш из двигателя тем же способом, что и верхний, т.е. с применением подъемного приспособления.
  • 12.   Перед установкой на место:
    • Проверьте кромки на наличие повреждений и заусенцев, особенно на вкладыше и постели подшипника. При необходимости зачистите с помощью прямолинейного шабера и/или специального полировального инструмента.
    • Убедитесь, что все детали чистые, используйте неворсистую ткань для очистки между шейкой и постелью рамового подшипника.
    • Установите два специальных каната.
    • Смажьте шейку подшипника, постель рамового подшипника и внешнюю поверхность вкладыша.
    • Убедитесь, что маркировка обращена вперед.
    • Проверьте, чтобы вкладыш не застрял в канатах.
  • 13.   Перед выкатыванием нижнего вкладыша подшипника проверьте, чтобы он мог свободно двигаться между шейками и фундаментной рамой в обе стороны.
    • Для предотвращения проворачивания вкладыша при демонтаже подъемного устройства используйте специальные канаты, чтобы удержать вкладыш.
  • 14.   Натяните канаты и используйте их, чтобы поддерживать и закатить вкладыш на место.
  • 15.   Проверьте, что вкладыш подшипника поставлен с одинаковыми расстояниями с обеих сторон.
    • Чтобы обеспечить одинаковые расстояния с обеих сторон, используйте для регулировки стопоры вкладышей рамовых подшипников.
  • 16.   После переборки или пригонки нового подшипника выньте или вставьте требуемое количество прокладок для получения зазора, указанного на листе Данных.
    • После сборки подшипника проверьте этот зазор щупом «Kjaer».
  • 17.   Установите крышку подшипника и затяните гайки с помощью гидродомкратов.
  • Это делается в три стадии:

    • Первая: затяните гайки двух носовых шпилек до 400 бар.
    • Вторая: затяните две кормовые гайки до 900 бар.
    • Третья: перезатяните гайки двух носовых шпилек до 900 бар.

    Установите трубу подвода масла.

ОСМОТР КОНЦЕВОГО РАМОВОГО ПОДШИПНИКА С ДЕМПФЕРОМ ПРОДОЛЬНЫХ КОЛЕБАНИЙ (C)

Осмотр рамовых подшипников (отмеченных буквой А)

  • 1С   Отсоедините трубу смазочного масла от магистрали.
    • Поверните колено вала так, чтобы его точки были обращены в сторону выпуска двигателя.
  • 2С   Установите «стаканы» и гидравлические домкраты на шпильки. С помощью гидравлических домкратов ослабьте гайки шпилек рамовых подшипников.
    • О работе гидравлических домкратов см. статью «Инструмент и приспособления общего назначения (913).
  • ЗС   Установите направляющий шкив с подъемным канатом и приспособлениями на стенку картера.
    • Установите подъемное приспособление на крышку носового подшипника. Установите таль. Установите защитные колпачки на шпильки соседнего подшипника.
  • 4С   Поднимите крышку подшипника без шпилек и опустите ее на соседние шпильки.
    • Снимите крышку, поочередно используя тали.

    Внимание! Ни в коем случае не снимайте приспособления для подъема коленчатого вала до установки нижнего вкладыша рамового подшипника на место (только подшипник А).

    Поднимите коленчатый вал и выньте вкладыши подшипников, как показано на 905-3.1.

    Примечание: Зазор между демпфером продольных колебаний и шейкой может быть определяющим фактором для уточнения высоты подъема коленчатого вала.

ОСМОТР РАМОВОГО ПОДШИПНИКА (В) В КОНЦЕ УПОРНОГО ВАЛА.

Осмотр рамового подшипника (В) в конце упорного вала

  • 1В   Снимите большую крышку с кормового конца картера. Отсоедините трубу смазочного масла от магистрали.
    • Установите «стаканы» и гидравлические домкраты на шпильки. С помощью гидравлических домкратов отпустите гайки шпилек рамовых подшипников, (о работе гидравлических домкратов см. статью «Инструмент и приспособления общего назначения (913)»). Поверните колено вала так, чтобы его щеки были обращены в сторону выпуска двигателя.
  • 2В   Установите поперечину в отсек цепного привода и защитные колпачки на шпильки кормового подшипника.
  • ЗВ   Подвесьте таль в конце картера над гребнем и снимите крышку с гребня.
    • Установите подъемные приспособления с двумя канатами на крышку подшипника и, поочередно пользуясь талями, снимите крышку с двигателя.
    • Повторите эту операцию для крышки кормового подшипника.
  • 4В   Проверните двигатель так, чтобы установить резьбовое отверстие звездочки цепи в ВМТ.
    • Установите поперечину для подъема конца упорного вала так, чтобы опоры легли на стопоры упорного подшипника.
    • Вверните шпильку для выема в звездочку.
  • 5В   Наверните гидродомкрат (для болтов крейцкопфа) на шпильку для выема и проверьте, чтобы гидродомкрат упирался в поперечину по всей поверхности, иначе положение поперечины/шпильки выема следует откорректировать.
  • 6В   Установите микрометрический индикатор так, чтобы можно было измерить подъем упорного вала.
    • Поднимите упорный вал на 0,5 мм или на величину зазора, замеренного в соседнем подшипнике.
    • Извлеките вкладыш подшипника, как показано на 905-3.1.
    • Смонтируйте в обратном порядке, обращая внимание на совет об очистке, как указано в операции 905-3.1.

Осмотр рамовых подшипников

  • Осмотр рамовых подшипников подразделяется на три части:
    • рамовые подшипники (отмеченные буквой А),
    • концевой опорный подшипник упорного вала (отмечен буквой В),
    • концевой у демпфера продольных колебаний (отмечен буквой С).

Осмотр рамовых подшипников

Осмотр рамовых подшипников

ОСМОТР РАМОВЫХ ПОДШИПНИКОВ (ОТМЕЧЕННЫХ БУКВОЙ А).

  • 1.  Отсоедините трубу смазочного масла от магистрали.
  • 2.  Поверните колено так, чтобы его щеки были обращены на сторону выпуска двигателя.
    • Проверьте зазор перед демонтажем и запишите для последующего использования.
    • Установите гидравлические домкраты, отпустите и снимите гайки.
    • См. статью «Инструмент и приспособления общего назначения (913)» операцию 913-1.
  • 3.  Установите подкрановую балку на листы картера. Либо в самое нижнее, либо в самое верхнее отверстие балки в зависимости от отверстий в листе картера. Используйте цилиндрические штифты и закрепите их стопорными штифтами.
  • 4.   Установите передвижную тележку на подкрановой балке.
    • Подвесьте таль на тележке и положите цепь вокруг звездочки цепи.
    • Прикрепите подъемное приспособление к крышке подшипника и натяните таль. Используйте балку для подъема обеих крышек подшипников.
  • 5.  Подвесьте таль в противоположном конце подкрановой балки и подвесьте таль на тележке.
    • Установите скобу на приспособлении для подъема.
  • 6.  Поднимите крышку подшипников, не затрагивая шпилек и щек кривошипа.
    • С помощью тали подтяните тележку и крышку подшипника к середине подкрановой балки.
  • 7.  Установите таль вне двигателя, другую-внутри картера.
    • Зацепите таль снаружи двигателя и, поднимая крышку подшипника, выведите ее из двигателя.
  • 8.  Поменяйте таль на тележке на нормальную таль.
    • Установите специальное подъемное приспособление для верхнего вкладыша рамового подшипника.
    • Закрепите крюк тали и, подняв верхний вкладыш подшипника, выведите его из двигателя.
  • 9.   Если коленчатый вал проворачивается при снятой крышке подшипника, используйте два стопора, которые предотвратят выкатывание нижнего вкладыша. (Замерьте зазор в соседнем подшипнике). Двигатель можно также проворачивать без установленного нижнего вкладыша.
  • 10.   Удалите винты из поперечины (они завинчиваются только для их безопасного сохранения) и ввинтите их в резьбовые отверстия гидродомкратов (для затяжки шпилек рамовых подшипников).
    • Замените замковые соединения гидродомкратов на угловые замковые соединения.
  • 11.   Установите поперечину в фундаментную раму концами на поперечные балки и установите гидродомкраты под щеки кривошипа, как показано.
  • 12.  Подсоедините гидравлические домкраты к насосу высокого давления и поднимайте давление до тех пор, пока коленчатый вал не поднимется в соответствии с зазором в соседнем подшипнике.
    • Запишите давления для последующего использования.
    • Если требуется поднять выше (Разм.: макс. 0,5 мм), ослабьте крышки соседних рамовых подшипников.
  • 13.  Проверьте после подъема, что зазор между шейкой и подшипником, а также между подшипником и постелью рамового подшипника одинаков на обеих сторонах, чтобы быть уверенным, что коленчатый вал поднят строго вертикально. Если это не так, отрегулируйте положение домкрата, чтобы коленчатый вал поднимался правильно.
    • Если перемещение домкратов недостаточно для обеспечения вертикального подъема, разместите 5-тонный домкрат между боковой стенкой и кривошипом и подкорректируйте таким образом подъем.
    • Чтобы избежать засасывания воздуха, убедитесь, что цилиндр насоса обращен вниз.
  • 14.  Прикрепите два каната к верхней части вкладыша, один-для выема, другой-для установки, если вкладыш застревает в постели рамового подшипника. Канат разместите как показано.
  • 15.  Выкатывайте нижний вкладыш вверх, пока он не ляжет поверх шейки рамового подшипника.
    • Выводите нижний вкладыш из двигателя тем же способом, что и верхний, т.е. с применением подъемного приспособления.
  • 16.   Перед установкой:
    • Проверьте кромки на наличие повреждений и заусенцев, особенно вкладыша и постели подшипника. При необходимости очистите с помощью прямолинейного шабера и/или специального полировального приспособления.
    • Убедитесь, что все детали чистые, используйте непушистую ткань для чистки между шейкой и постелью рамового подшипника.
    • Установите два специальных каната.
    • Смажьте шейку подшипника, постель рамового подшипника и внешнюю поверхность вкладыша.
    • Убедитесь, что маркировка обращена вперед.
    • Проверьте, чтобы вкладыш не застрял в канатах.
  • 17.  Перед выкатыванием нижнего подшипника проверьте, чтобы он мог свободно двигаться между шейками и фундаментной рамой в обе стороны.
    • Для предотвращения проворачивания вкладыша при демонтаже подъемного устройства используйте специальные канаты, чтобы удержать вкладыш.
  • 18.   Натяните канаты и используйте их, чтобы поддерживать и установить вкладыш на место.
  • 19.  Проверьте, что вкладыш подшипника установлен с одинаковыми расстояниями с обеих сторон.
    • Чтобы обеспечить одинаковые расстояния с обеих сторон, используйте для регулировки стопоры вкладышей рамовых подшипников.
  • 20.   После переборки или пригонки нового подшипника выньте или установите требуемое количество прокладок для получения зазора, указанного на листе Данных.
    • После сборки подшипника проверьте этот зазор щупом «Kjaer».
  • 21.   Установите крышку подшипника и затяните гайки с помощью гидравлических домкратов.
    • Это делается в три стадии:

    • Первая: затяните гайки двух носовых шпилек до 400 бар.
    • Вторая: затяните две кормовые гайки до 900 бар.
    • Третья: перезатяните гайки двух носовых шпилек до 900 бар.
    • Установите трубу подвода масла.

ОСМОТР КОНЦЕВОГО РАМОВОГО ПОДШИПНИКА (С) У ДЕМПФЕРА ПРОДОЛЬНЫХ КОЛЕБАНИЙ.

Осмотр концевого рамового подшипника (С) у демпфера продольных колебаний.

  • 1С Отсоедините трубу смазочного масла от магистрали.
    • Поверните колено вала так, чтобы его точки были обращены в сторону выпуска двигателя.
  • 2С   Установите «стаканы» и гидравлические домкраты на шпильки. С помощью гидравлических домкратов ослабьте гайки шпилек рамовых подшипников.
    • О работе гидравлических домкратов см. статью «Инструмент и приспособления общего назначения (913)».
  • ЗС   Установите направляющий шкив с подъемным канатом и приспособлениями на стенку картера.
    • Установите подъемное приспособление на крышку носового подшипника. Установите таль. Установите защитные колпачки на шпильки соседнего подшипника.
  • 4С   Поднимите крышку подшипника без шпилек и опустите ее на соседние шпильки.
    • Снимите крышку, поочередно используя тали.

    Внимание! Ни в коем случае не снимайте приспособление для подъема коленчатого вала до установки нижнего вкладыша рамового подшипника на место (только подшипник С). Поднимите коленчатый вал и выкатите вкладыши подшипников, как показано в 905-3.1

    Примечание: Зазор между демпфером продольных колебаний и шейкой может быть решающим фактором для определения высоты подъема коленчатого вала.

ОСМОТР РАМОВОГО ПОДШИПНИКА В КОНЦЕ УПОРНОГО ВАЛА (В).

Осмотр рамового подшипника в конце упорного вала (В)

  • 1В   Снимите большую крышку с кормового конца картера. Отсоедините трубу смазочного масла от магистрали.
    • Установите «стаканы» и гидравлические домкраты на шпильки. С помощью гидравлических домкратов отпустите гайки шпилек рамовых подшипников (о работе гидравлических домкратов см. статью «Инструмент и приспособления общего назначения (913)»). Поверните колено вала так, чтобы его щеки были обращены в сторону выпуска двигателя.
  • 2В   Установите поперечину в отсек цепного привода и защитные колпачки на шпильки кормового подшипника.
  • ЗВ   Установите подъемные приспособления с двумя канатами на крышку подшипника и, поочередно пользуясь талями, снимите крышку с двигателя.
    • Повторите эту операцию для крышки кормового подшипника.
  • 4В  Проверните двигатель так, чтобы установить резьбовое отверстие цепной звездочки в ВМТ.
    • Установите поперечину для подъема конца упорного вала так, чтобы опоры легли на стопоры упорного подшипника.
    • Вверните шпильку для выема в звездочку.
  • 5В   Наверните гидравлический домкрат (для болтов крейцкопфа) на шпильку для выема и проверьте, чтобы гидравлический домкрат упирался в поперечину по всей поверхности, иначе положение поперечины/шпильки выема следует откорректировать.
  • 6В   Установите микрометрический индикатор так, чтобы можно было измерить подъем упорного вала.
    • Поднимите упорный вал на 0,5 мм или на величину зазора, замеренного в соседнем подшипнике.
    • Выкатите вкладыш подшипника, как показано в 905-3.1.
    • Смонтируйте в обратном порядке, обращая внимание на совет об очистке, как указано в операции 905-3.1.

Проверка зазора в упорном подшипнике (905-4)

Проверка зазора в упорном подшипнике

Проверка зазора в упорном подшипнике

Зазор в упорном подшипнике измеряется во время стендовых испытаний двигателя и записывается в «лист регулировки».

Для нового двигателя зазор составляет 0,5-1,0 мм, для двигателя в эксплуатации он не должен превышать 2,0 мм.

Износ упорного подшипника контролируется следующим образом:

  • 1.   Снимите трубу смазочного масла над стопором переднего сегмента.
  • 2.   Снимите защитный кожух с носовой стороны упорного гребня.
  • 3.   Установите гидравлические домкраты и отпустите гайки стопора. Снимите гидравлические домкраты и гайки.
  • 4.   Снимите стопор (зажимную скобу) с передних упорных сегментов.
  • 5.   В самом верхнем упорном сегменте имеется канавка износа глубиной 1 мм.
    • Щуп должен вставляться в эту канавку на носовой стороне упорного гребня.
    • Если щуп 0,5 мм не может проходит в канавку, упорный подшипник должен быть разобран.

Осмотр рамовых подшипников (905-5)

Осмотр рамовых подшипников S60MC

Осмотр рамовых подшипников S60MC

  • 1.   Снимите трубы смазочного масла с боковой стороны натяжного устройства и трубу смазочного масла для упорных сегментов.
  • 2.   Отпустите и снимите гайки с сегментных стопоров с помощью гидравлического приспособления. Выверните шпильки.
  • 3.   Установите специальное подъемное приспособление в отсек цепного привода и подвесьте таль над стопором, который должен быть снят.
    • Удалите стопоры в отсеке цепного привода над упорными сегментами («вперед и назад»), которые должны быть вынуты.
  • 4.   Снимите защитные кожухи упорных сегментов от звездочки.
  • 5.   Для выкатывания упорных сегментов установите приспособления на звездочке.
  • 6.   Выкатывайте сегменты проворачиванием двигателя и удалите их из отсека цепного привода.
  • 7.   Монтаж производится в обратном порядке.

Демпфер продольных колебаний (905-7)

Демпфер продольных колебаний

Механическая проверка демпфера продольных колебаний (905-7.1)

Механическая проверка демпфера продольных колебаний S60MC

  • 1.  Во время проверки эффективности демпфера продольных колебаний в эксплуатации (которая рекомендуется каждые 8000 часов) следует установить специальное измерительное приспособление на щите с носового торца двигателя, чтобы измерить перемещение переднего конца коленчатого вала.
    • Полученный размер должен быть сравнен с первоначальными размерами, полученными во время ходовых испытаний и с пределами, данными на следующей странице.
  • 2.   Следует выполнить следующие операции:
    • Остановите двигатель.
    • Выверните две пробки с крышки на носовом торце двигателя.
  • 3.  Вверните проставочный вал в носовой торец коленчатого вала через отверстие в крышке.
    • Вверните измерительный рычаг в малую крышку так, чтобы он был перпендикулярен проставочному валу.
  • 4.   Прикрепите карандаш к рычагу.
    • Заметьте, что расстояние до конца карандаша не должно превышать длину рычага более, чем на 5 - 10 мм, чтобы не увеличивать полученные замеры.
  • 5.   Измерение должно быть выполнено при той же частоте вращения, что и при ходовых испытаниях (предпочтительно 90% и 100% максимальной длительной мощности).
    • Запустите двигатель и держите рычаг в контакте с проставочным валом.
    • Рулон бумаги с твердой подставкой удерживается рукой и легко движется вниз относительно карандаша.
    • Чтобы обеспечить некоторую силу инерции подставка должна иметь массу ок. 1-2 кг.
    • Записанные на бумаге продольные перемещения должны быть измерены штангенциркулем, как показано на рисунке. Если расстояние «а» между пиками в мм меньше указанных ниже величин, переборка демпфера не требуется.

    Пределы расстояния «а» между пиками (мм):

    Пределы расстояния «а» между пиками (мм)

Электронный контроль демпфера продольных колебаний (905-7.2)

Электронный контроль демпфера продольных колебаний

  • 1.  Для проверки эффективности работы демпфера продольных колебаний в эксплуатации в нижней части корпуса демпфера встроен датчик проксиметра с кронштейном. Кабель от датчика соединен с контрольным прибором-анализатором, который установлен на стороне выпуска картера и носового торца двигателя.
  • 2.  Величину между пиками на дисплее анализатора в мм. следует сравнить с первоначальными величинами, полученными во время ходовых испытаний и с пределами, приведенными ниже.
    • Если величина между пиками меньше допустимых значений, показанных ниже, переборка демпфера не требуется.

Пределы допустимых расстояний между пиками:

Пределы допустимых расстояний между пиками

Переборка демпфера продольных колебаний (905-7.3)

Переборка демпфера продольных колебаний

ПЕРЕБОРКА

  • 1.  Переборка демпфера продольных колебаний производится от цилиндра №1 или от носового торца двигателя.
  • 2.  Отсоедините и снимите масляные трубы с носовой крышки подшипника и корпуса демпфера продольных колебаний.
    • Отпустите и снимите болты и гайки с верхней части корпуса демпфера.
    • Снимать следует только верхнюю часть корпуса, а нижняя часть остается в фундаментной раме.
    • Установите подъемное приспособление на верхнюю часть.
  • 3.  С помощью тали и троса отделите и поднимите верхнюю часть корпуса демпфера в положение, в котором можно заменить масляные уплотнения и пружины.
    • Закрепите верхнюю часть ввинчиванием двух болтов в корпус демпфера.
  • 4.   Демонтируйте и снимите пружины с тефлоновых колец. Снимите и выбросите тефлоновые кольца.
    • При установке новых тефлоновых колец сначала вставьте нижнюю часть колец в нижний корпус. Затем запрессуйте растягивающие пружины в канавку между половиной кольца и корпусом.

    NB: Нижняя часть тефлоновых колец будет выступать над центральной линией.

    • Установите все верхние части тефлоновых колец так, чтобы был зазор у обоих соединений малого и большого колец соответственно, см. D-6.
    • Растягивающие пружины теперь могут быть сцеплены на месте, обеспечивая их центральное расположение в канавках тефлоновых колец.
  • 5.   Отвинтите/ освободите верхнюю часть от корпуса демпфера. Имейте ввиду два направляющих штифта в нижней части корпуса демпфера, которые обеспечивают размещение верхней части.
  • 6.   Установите горизонтальные болты. Затяните и застопорите болты стопорной проволокой. См. Данные.
    • Установите и затяните гайки на вертикальных шпильках. См. Данные.
  • 7.  Подсоедините снова масляные трубы к рамовому подшипнику и корпусу демпфера. Снимите таль и поперечину.

Коленчатый вал, упорный вал, рамовый подшипник и т.д., панель

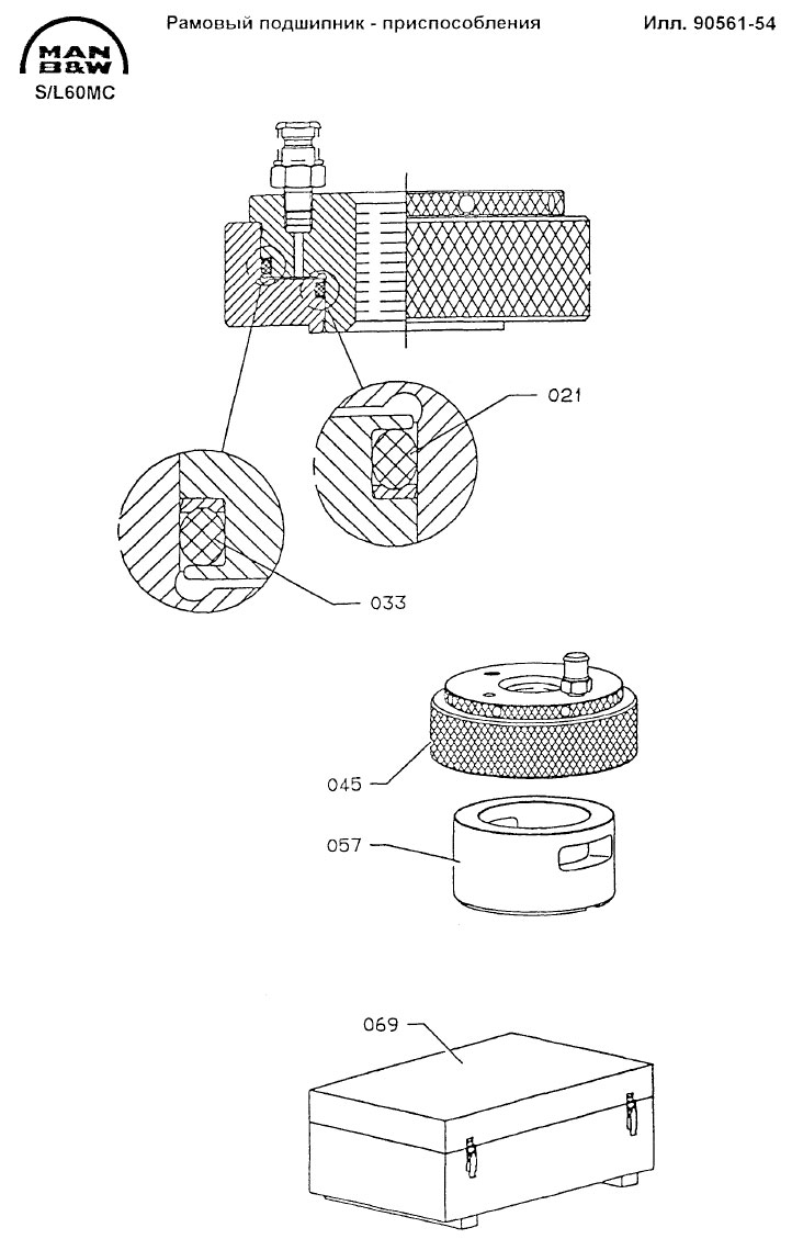
Рамовый подшипник - приспособления

Коленчатый вал - приспособления

Коленчатый вал - приспособления

Литература

Инструкция для главных двигателей типа 50-98МС. Издание 8С

MirMarine
MirMarine – образовательный морской сайт для моряков.
На нашем сайте вы найдете статьи по судостроению, судоремонту и истории мирового морского флота. Характеристики судовых двигателей, особенности устройства вспомогательных механизмов и систем.