Топливовпрыскивающая аппаратура

Топливовпрыскивающая аппаратура дизеля (ТА) является одним из основных элементов двигателя, она обеспечивает его топливом. Тепловая энергия, получаемая в цилиндрах в результате его сгорания, преобразуется в механическую работу, отдаваемую потребителю энергии. От количества поступившего в цилиндр топлива, качества его распыливания и фаз подачи (начала и конца) зависят величина производимой работы и эффективность преобразования энергии топлива в работу -к.п.д. двигателя и его экономичность.

В каждом цикле в цилиндр двигателя необходимо подать порцию топлива, которая зависит от частоты вращения коленчатого вала и мощности двигателя.

Поскольку судовой дизель работает в широком диапазоне нагрузок и оборотов, то в задачи ТА входят:

  • Отмеривание (дозирование) порции подаваемого в цилиндр топлива в полном соответствии с заданным режимом работы двигателя.
  • Обеспечение требуемого момента начала подачи топлива (угла опережения) и продолжительности и характеристики впрыска (закона подачи).
  • Сжатие топлива до давлений впрыска, при которых будет обеспечена необходимая тонкость его распыливания в цилиндрах двигателя.
  • Обеспечение впрыска отмеренной цикловой подачи при одновременном ее распыливании и распределении по объему камеры сгорания.

ТА судовых дизелей по принципу действия подразделяется на два типа:

  • 1. ТА с непосредственным впрыском топлива топливным насосом высокого давления (ТНВД) и механическим или гидравлическим приводом плунжера.
  • 2. Аккумуляторная ТА.

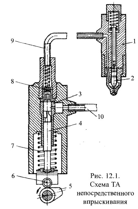
Схема ТА первого типа приведена на рисунке 12.1.

Основным элементом ТНВД является плунжерная пара, состоящая из плунжера 4 и прецизионно подогнанной к нему втулки 3 с зазором 4—5 мкм. Осуществляемое в современных двигателях увеличение давлений впрыскивания до 1600— 2000 бар потребовало уменьшения зазора в плунжерных парах до 2,5 мкм.

Насос приводится в действие механически от кулачковой шайбы 5 (шайба жестко закреплена на распределительном вале) и роликового толкателя 6. Обратное перемещение плунжера после нагнетательного хода осуществляется возвратной пружиной 7. Наполнение ТНВД осуществляется из трубопровода 10 низкого давления (5-10 бар).

Схема ТА непосредственного впрыскивания

Подача топлива к форсунке 1 осуществляется трубопроводом высокого давления 9 через автоматический нагнетательный клапан 8. В форсунке установлен второй автоматический запирающий клапан 2, который называют иглой форсунки. Форсунка осуществляет распыливание топлива высокого давления, поступающего от ТНВД. Обязательным элементом ТНВД является топливорегулирующий орган (ТРО), обеспечивающий требуемое изменение (на рисунке 12.1 не показан).

В судовых дизелях, как правило, ТА выполняется в виде отдельных секций на каждый цилиндр. Рассмотренный тип ТА является преобладающим на судовых дизелях, находящихся в эксплуатации.

В новых моделях дизелей (например, малооборотные дизели B&W-MAN серии ME) применяются ТНВД с гидравлическим приводом плунжера и электронным регулированием.

Схема аккумуляторной ТА приведена на рисунке 12.2.

Аккумуляторная ТА с электронным управлением

На рисунке приведена принципиальная схема ТА новых малооборотных дизелей фирмы «Зульцер» серии RT-flex. В данном случае подача топлива к форсункам осуществляется из аккумулятора топлива (англ. - common rail), в котором при работе дизеля поддерживается высокое давление (1000 бар). Подкачку топлива осуществляет ТНВД, приводимый от коленчатого вала. В данной схеме ТНВД не участвует в регулировании эту функцию выполняют клапаны управления впрыском топлива, которые получают сигнал на открытие и закрытие подачи топлива из аккумулятора к форсункам от блока электронного управления. Система управления подачей топлива показана на рис. 12.2 для одного цилиндра, остальные цилиндры оборудованы такими же устройствами.

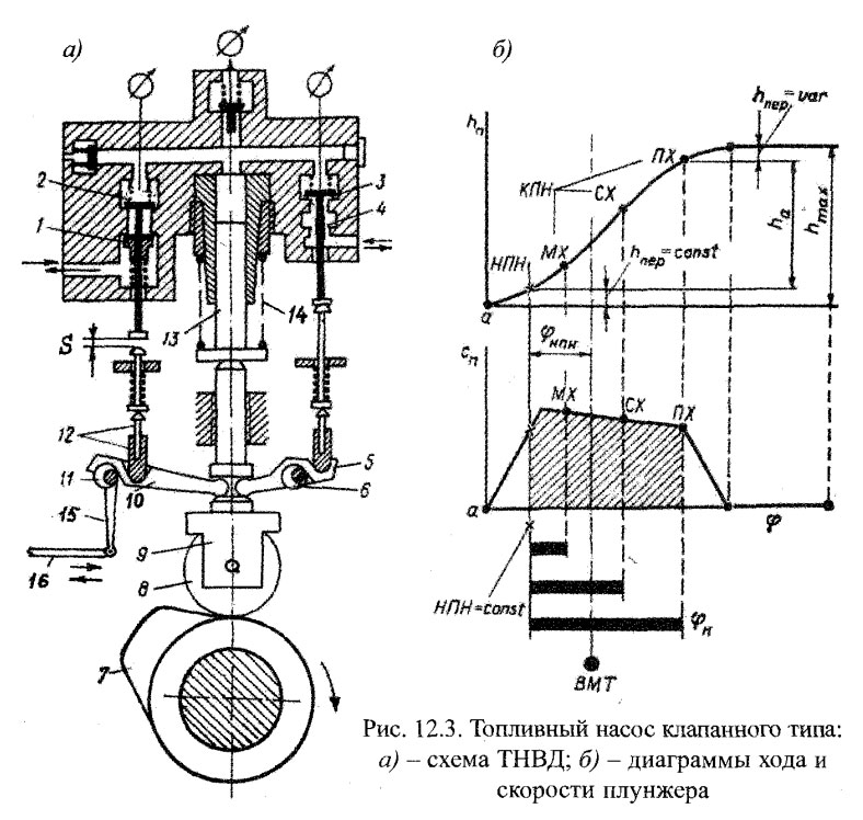
Клапанные ТНВД

Принцип работы насосов этого типа рассмотрим на примере двухклапанного ТНВД малооборотных дизелей фирмы «Зульцер» серий от RND до RTA. Схема насоса приведена на рисунке 12.3.

На рис. 12.3а ролик 8 толкателя плунжера 9 находится под действием возвратной пружины 14 в контакте с цилиндрической частью кулачковой шайбы 7. Плунжер 13 находится в крайнем нижнем положении, надплунжерное пространство и вышерасположенные каналы в корпусе насоса заполнены топливом низкого давления, нагнетательный клапан закрыт. Всасывающий клапан 3 под воздействием рычага 5, опирающегося на эксцентрик 6, приоткрыт, и магистраль топлива низкого давления сообщена с правым каналом в корпусе насоса. Отсечной 2 и обратный 1 клапаны закрыты под воздействием пружин.

Топливный насос клапанного типа

Между толкателем 12 и хвостовиком клапана 2 имеется зазор S, что и обеспечивает закрытие клапана. Толкатель 12 опирается на рычаг 10, который опирается на эксцентрик 11. Эксцентрики ТНВД всех цилиндров жестко соединены с общим валиком, на котором установлен кронштейн 15. Кронштейн шарнирно соединен с топливной тягой 16, которая связана с выходным валом регулятора частоты вращения коленчатого двигателя. При воздействии регулятора на тягу 16 кронштейн 15 перемещается, поворачивая эксцентрики 11 всех ТНВД по или против часовой стрелки. При этом рычаг 10 будет подниматься или опускаться, изменяя зазор S. Перечисленные элементы составляют топливорегулирующий орган клапанного ТНВД.

На установившемся режиме работы двигателя ТРО не перемещается. Нагнетательный ход осуществляется следующим образом. При вращении распределительного вала по часовой стрелке ролик 8 набегает на кулак 7 и перемещает толкатель и плунжер вверх. Так как всасывающий клапан 3 открыт, топливо из надплунжерного пространства перепускается в полость под клапаном и далее в магистраль наполнения. При движении плунжера вверх правый конец рычага 5 опускается вниз и клапан 3 начинает закрываться. Рычаг 10 поднимает толкатель 12, и зазор S по мере движения плунжера уменьшается. Ход перепуска в начале подачи завершится в момент закрытия клапана 3. Так как к этому моменту клапан 2 еще остается закрытым, начинается активный ход плунжера, который завершится с открытием этого клапана толкателем 12. При дальнейшем перемещении плунжера и до конца его хода (в момент выхода ролика на вершину кулака) происходит перепуск топлива в магистраль наполнения через невозвратный клапан 1. Невозвратный клапан обеспечивает дросселирование потока топлива при перепуске и разобщение надплунжерного пространства от магистрали наполнения при подходе к насосу возвратной волны давления при его колебаниях в трубопроводе низкого давления. Это предохраняет клапан 2 от гидравлических ударов и кавитационной эрозии.

Топливный насос дизелей серии RTA фирмы «Зульцер»

При движении плунжера вниз в надплунжерном пространстве давление становится меньше давления на наполнении, клапан 3 открывается, преодолевая сопротивление пружины, и начинается наполнение ТНВД, которое завершается при достижении плунжером нижнего положения. Далее процесс повторяется.

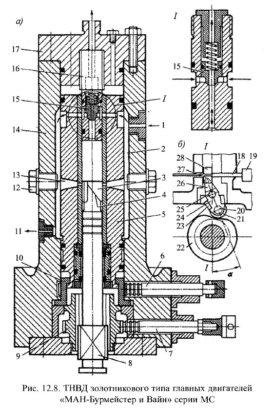
Золотниковые ТНВД

Этот тип топливных насосов наиболее распространен в судовых дизелях. На рисунке 12.5. приведен поперечный разрез ТНВД золотникового типа.

Основным элементом ТНВД, как и в клапанных насосах, является плунжерная пара - втулка 3 и плунжер 4. Плунжер выполняет две функции: нагнетание топлива и регулирование активного хода. Для изменения активного хода в верхней части плунжера выполнена фигурная фрезеровка, образующая винтовую отсечную кромку, вертикальный и кольцевые пазы. Втулка имеет отверстия (далее - окна), сообщающиеся с полостью наполнения насоса. При перемещении плунжер перекрывает или открывает окна.

Цикловая подача регулируется с помощью поворотного механизма, состоящего из зубчатой топливной рейки 10 и поворотной втулки 5. Поворотная втулка имеет в верхней части зубчатый венец, который входит в зацепление с зубцами топливной рейки. Рейка перемещается в направляющих корпуса ТНВД и перемещает поворотную втулку, в пазы которой входит крестовина.

Остальные элементы ТНВД:

  • 1 - нагнетательный клапан;
  • 2 - корпус нагнетательного клапана;
  • 6 - регулировочный винт толкателя плунжера;
  • 7 - роликовый толкатель плунжера;
  • 8 - направляющая втулка;
  • 9 - зажимное устройство.

Рисунок 12.6 более наглядно иллюстрирует рассмотренный выше принцип регулирования активного хода.

Топливный насос золотникового типа среднеоборотного дизеля СЕМТ «Пилстик»

Рисунок 12.7. иллюстрирует принцип регулирования активного хода плунжера.

Позиция 1 на рис. 12.7а соответствует нижнему положению плунжера (ролик толкателя находится на цилиндрической части кулачной шайбы). Верхняя прямая кромка плунжера полностью открывает отсечные окна, надплунжерное пространство сообщено с магистралью наполнения ТНВД. При перемещении плунжера происходит перепуск топлива в магистраль наполнения, активный ход плунжера начнется только в момент перекрытия верхней кромкой окон (позиция 2 на рисунке). Завершится активный ход в момент открытия окон нижней винтовой кромкой плунжера (позиция 3). Далее до конца хода плунжера вверх будет происходить перепуск топлива.

Механизм поворота плунжера золотникового ТНВД

Величина активного хода зависит от положения винтовой кромки плунжера относительно окон. На рис. 12.76 плунжер повернут против часовой стрелки (если смотреть сверху). Активный ход будет меньше, так как расстояние между верхней и винтовой кромками плунжера в районе окон втулки будет меньше. При дальнейшем повороте плунжера в указанном направлении вертикальные пазы в плунжере расположатся напротив окон. При такой позиции плунжера в течение всего хода топливо будет перепускаться из надплунжерного пространства в магистраль наполнения через вертикальный паз, цикловая подача будет равна нулю.

Схема работы ТНВД золотникового типа с регулированием концом подачи

Очевидно, что ход перепуска в начале подачи (а значит и угол начала подачи) будет оставаться постоянным при различных положениях топливной рейки; активный ход плунжера регулируется за счет изменения хода перепуска в конце подачи. Таким образом, в рассмотренном варианте реализован принцип регулирования концом подачи.

В золотниковых ТНВД легко могут быть реализованы и другие принципы регулирования. Для этого достаточно изменить геометрию кромок плунжера: при регулировании началом подачи верхняя кромка выполняется винтовой, нижняя - прямой; при комбинированном регулировании обе кромки являются регулировочными и выполняются фигурными.

Общее регулирование цикловых подач во всех цилиндрах осуществляется одновременным изменением положения реек топливных насосов с помощью тяги, перемещаемой выходным валом регулятора частоты вращения в зависимости от нагрузки на двигатель. Топливные рейки соединены с тягой посредством гибкого элемента (пружины), что обеспечивает возможность управления подачей топлива при заклинивании плунжерной пары одного из ТНВД. Вторым обязательным элементом в соединении является устройство, обеспечивающее возможность перемещения реек отдельных ТНВД относительно тяги регулятора, - талреп. Путем изменения длины талрепа осуществляется индивидуальная регулировка по цилиндрам для выравнивания мощности. Для контроля положения относительно корпуса ТНВД топливные рейки имеют насечку в виде делений (обычно 0-100). Положение рейки в делениях называют индексом ТНВД.

Индивидуальное регулирование угла начала подачи топлива для выравнивания максималных давлений цикла по цилиндрам в золотниковых ТНВД может осуществляться тремя способами: изменением заклинки кулачной шайбы относительно распределителительного вала; перемещением втулки плунжера вверх или вниз относительно корпуса ТНВД; изменением длины толкателя плунжера. Последний вариант показан на рисунке 12.5. Для этой цели конструкцией предусмотрен регулировочный винт толкателя плунжера 6, при вращении которого плунжер перемещается вверх или вниз. Самопроизвольное проворачивание регулировочного винта во время работы двигателя предотвращает зажимное устройство 9.

В любом из рассмотренных вариантов изменяется ход перепуска в начале подачи топлива, поэтому соответственно изменяется и угол начала подачи топлива насосом.

Наибольшее распространение на крупнотоннажных морских судах получили главные малооборотные дизели фирмы «МАН-Бурмейстер и Вайн» серии МС, которые имеют золотниковый ТНВД, чертеж которого приведен на рисунке 12.8а.

ТНВД золотникового типа главных двигателей «МАН-Бурмейстер и Вайн» серии МС

На рис. 12.86 показан механизм привода и реверсирования ТНВД.

Плунжер насоса 3 имеет регулирующие винтовые кромки 4, выполненные по принципу регулирования концом подачи. Втулка плунжера 5 составная, может перемещаться вдоль оси относительно корпуса насоса 14. Нагнетательного клапана в этом насосе нет, вместо него установлен впускной клапан 15. Впускной клапан имеет уплотняемый корпус 16, ввернутый в крышку 17 насоса (см. укрупненный фрагмент 1).

Механизм регулирования состоит из зубчатой рейки 7, поворотной втулки 9, крестовины 8 плунжера. Вторая зубчатая рейка 6 служит для изменения угла начала подачи топлива в диапазоне изменения мощности двигателя 70-100% (программа VIT, реализуется путем связи реек 6 и 7 через пневмомеханический позиционер). Рейка 6 сцеплена с зубчатым венцом поворотной втулки 10 и втулки плунжера 5. Величина (φНПН изменяется осевым сдвигом втулки плунжера 5 вверх или вниз, при этом изменяется момент перекрытия плунжером рабочих окон 13 во втулке плунжера. Осевое смещение втулки происходит по принципу болт-гайка. «Гайкой» служит поворотная втулка 10, на внутренней стенке которой проточена винтовая канавка. В канавку входит виток резьбы с крупным шагом, нарезанной на нижнем конце втулки плунжера 5. При изменении нагрузки двигателя в указанном выше диапазоне регулятор перемещает топливную рейку 7. Пневмомеханический позиционер в соответствии с заданной программой VIT перемещает рейку 6. При этом втулка 10, зафиксированная своим нижним фланцем в корпусе 14 насоса, поворачивается на определенный угол и через резьбовое соединение вызывает сдвиг втулки 5 относительно плунжера. Таким образом, в рассматриваемом ТНВД реализован комбинированный способ регулирования цикловой подачи.

ТНВД работает следующим образом. Полость наполнения насоса 2 образуется между корпусом 14 и втулкой плунжера 5. Топливо подается от топливоподкачивающего насоса через дроссельную вставку 1 под давлением 10 бар. Излишки топлива перепускаются в отводящую магистраль через дроссельную вставку 11. При движении плунжера вверх топливо перепускается через окна 13 в магистраль наполнения. В момент перекрытия окон давление топлива над плунжером и за тарелкой впускного клапана 15 начинает повышаться. Клапан плотно садится на гнездо, и топливо по осевому сверлению в нем поступает в трубопровод высокого давления. В момент открытия окон 13 регулирующими кромками 14 давление топлива над плунжером быстро падает до 10 бар.

Вследствие большого перепада давлений в момент окончания активного хода (часто применяется термин отсечка топлива) в окнах 13 втулки плунжера развивается высокая скорость потока топлива, что вызывает кавитационную эрозию металла напротив окон. Для защиты корпуса насоса от эрозии напротив окон ввернуты периодически сменяемые отражательные болты 12.

Впускной клапан остается закрытым под воздействием пружины до выхода плунжера в верхнее положение. В начальной фазе наполнения насоса впускной клапан еще остается закрытым, топливо поступает в надплунжерное пространство через окна 13 и вертикальную канавку в вехней части плунжера. В момент перекрытия окон 13 винтовыми кромками 4 плунжера давление над плунжером становится меньше, чем в полости наполнения 2. За счет перепада давлений клапан 15 поднимается, и топливо поступает через верхние окна втулки в надплунжерное пространство. В конце хода наполнения при открытии окон 13 верхней кромкой плунжера клапан 15 вновь закрывается, и топливо опять поступает через окна 13.

Общее и индивидуальное регулирование цикловой подачи топлива осуществляется так же, как описано выше для ТНВД среднеоборотного дизеля. Регулирование φнпн осуществляется путем изменения программы пневмомеханического позиционера.

Форсунки

Форсунки служат для непосредственного впрыскивания топлива в цилиндр двигателя, распыливания его на капли с размером 5-30 мкм и распределения их внутри камеры сгорания. Форсунки устанавливаются в крышке цилиндра. В четырехтактных дизелях, как правило, устанавливается одна центрально расположенная форсунка. В малооборотных двухтактных дизелях с прямоточно-клапанным газообменом устанавливаются 2-3 форсунки на периферии цилиндровой крышки, так как в центральной ее части установлен выпускной клапан.

Рассмотрим принцип действия форсунки малооборотного судового дизеля «Зульцер» серии RTA (см. рис. 12.9).

Основные элементы конструкции форсунки:

  • 1 - цилиндровая крышка;
  • 2 - корпус форсунки;
  • 3 - направляющая иглы форсунки;
  • 4 -игла;
  • 5 - сопло;
  • 6 - пружина;
  • 7 - штуцер для присоединения трубопровода высокого давления;
  • 8 - регулировочный винт;
  • 9 - контргайка;
  • 10 - шпилька крепления форсунки.

Топливо от ТНВД подводится к штуцеру 7 и далее по каналам в корпусе форсунки 2 и направляющей иглы 3 поступает в кольцевую камеру под иглой форсунки 4. При закрытом положении игла своим конусом сидит на посадочном гнезде в направляющей 3 (см. рис. 12.9а) и препятствует проникновению топлива в нижерасположенную камеру сопла 5. Игла через толкатель нагружена пружиной 6, затяг которой может регулироваться винтом 8.

Форсунка малооборотного дизеля RTA 84 С

Положение иглы определяется действием двух сил (см. рис. 12.9б): силы затяга пружины Fп прижимающей иглу к седлу, и силы Fи, обусловленную действием давления топлива Рф на кольцевое сечение иглы При достижении давления топлива величины Роф (давление открытия иглы форсунки) сила Fи превысит Fп, и игла поднимется до упора, открывая доступ топлива к отверстиям распылителя. При этом сила давления топлива будет действовать уже на всю площадь поперечного сечения иглы удерживая ее в этом положении до падения давления до Рзф (давление закрытия иглы). Давление топлива, при котором игла садится на седло, меньше давления открытия на величину, определяемую соотношением:

Это явление получило название дифференциальный эффект иглы форсунки.

Высота подъема иглы форсунки ограничивается упором и в зависимости от размеров форсунки и количества пропускаемого ею топлива находится в пределах 0,5-1,5 мм. С увеличением хода иглы растут динамические силы ее удара о седло и упор, что приводит к появлению наклепа и потере плотности посадки иглы. Посадочный конус иглы обычно принимается равным 60°. Посадочный конус седла в целях достижения узкой притирочной поверхности посадки, при которой достигается наиболее высокая плотность, принимается на 2° меньше. Игла и ее направляющее отверстие в распылителе являются прецизионными и изготовлены с высокой точностью. Путем селективного подбора выбирают пару «игла-направляющая» такой, чтобы зазор между ними укладывался в заданный технологический допуск, величина которого зависит от размеров, теплового режима работы, вязкости используемого топлива и находится в пределах 5-12 микрон. Скомплектованная таким образом пара является «неразлучной», и при эксплуатации их замена должна производиться только парами, без перекомплектации.

По типу запорных органов и распыливающих отверстий применяются следующие виды распылителей:

  • клапанные многодырчатые (рис. 12.9б) - получили наибольшее распространение в основном в двигателях с непосредственным впрыском, количество отверстий - от 1 до 9, диаметр 0,20-1,5 мм;
  • клапанные однодырчатые (рис. 12.10а); применяются в предкамерных двигателях, для которых наилучшей формой распыливания является сосредоточенный факел с малым углом конуса и с большой пробивной способностью;
  • штифтовые распылители, имеющие одно сопловое отверстие; применяют в сравнительно маломощных дизелях с разделенными камерами сгорания. Штифтовый распылитель с цилиндрическим штифтом (рис. 12.106) имеет постоянное сечение истечения и образует сосредоточенный факел с малым углом конуса.

При температурах свыше 160-180°С на теле иглы образуются лаковые отложения, способствующие ее заклиниванию, а сопловые отверстия забиваются коксом.

Виды распылителей

В целях снижения температур распылителей в малооборотных и среднеоборотных форсированных двигателях ввели охлаждение форсунок, используя для этого воду, масло или топливо. Наиболее эффективным явилось использование воды, что и было реализовано в распылителях двигателей Зульцер RD, RND и RND-M.

Интенсификация охлаждения крышек цилиндров в зоне форсунок, обеспечение хорошей теплопередачи благодаря плотной посадке корпуса форсунки в крышке и уменьшение торцевой тепловоспринимающей поверхности распылителя (выступающей в камеру сгорания) дали возможность фирмам «МАН-Бурмейстер и Вайн» и «Зульцер» отказаться от специального охлаждения форсунок.

В то же время работа на тяжелом горячем топливе, особенно на режимах маневрирования, требует для предотвращения зависания иглы при кратковременных остановках двигателя сохранения постоянства температур в зоне распылителя. С этой целью в новых конструкциях (МС-МЕ) предусмотрено постоянное прокачивание топлива через форсунки (см. рис. 12.11).

Топливо подводится по центральному каналу 14. Распылитель состоит из сопла 10, направляющей 5, иглы 7 и запорного клапана 17 внутри иглы. Направление односторонних сопловых отверстий обеспечивается фиксацией сопла штифтом 5. Игла 7, имеющая вверху форму стакана, воспринимает усилие затяга пружины 2 через ползун 13, в вырезы которого входит головка проставки 15 с центральным каналом 14. Внутри стакана иглы размещены пружина 16 запорного клапана 17 и узел сопряжения топливного канала в проставке 15 и в клапане 17. Нижний заплечик проставки 15 ограничивает подъем клапана (hk = 3,5 мм), а верхний - подъем иглы (hи = 1,75 мм).

Форсунка обеспечивает циркуляцию нагретого топлива при неработающем двигателе (во время подготовки к пуску и при вынужденных остановках в море), а также в период между смежными впрысками, когда ролик толкателя плунжера обкатывает цилиндрическую часть шайбы.

При стоянке двигателя, когда ТНВД находится в положении нулевой подачи (полости наполнения и нагнетания соединены), топливоподкачивающий насос при давлении 0,6 МПа подает топливо в нагнетательный топливопровод и канал 14 форсунки. Так как пружина 16 запорного клапана 17 имеет затяг 1 МПа, то клапан не поднимается, и топливо проходит через небольшое отверстие 18 в стакан иглы и далее вверх на слив. Таким образом, при стоянке любой продолжительности через форсунки циркулирует топливо с постоянной температурой и вязкостью.

При работе двигателя в период активного хода плунжера давление нагнетания практически мгновенно поднимает запорный клапан 17, и перепускное отверстие 18 перекрывается. Топливо проходит к дифференциальной площадке иглы 7 и поднимает иглу.

В конце активного хода плунжера вся система нагнетания быстро разгружается через рабочую полость насоса, так как нагнетательного клапана в нем нет. Когда давление топлива падает ниже давления Рзф, пружина 2 сажает иглу 7, а при давлении ниже 1 МПа пружина 16 опускает на место запорный клапан 17. Ролик толкателя плунжера на длительное время выходит на верх шайбы, и система нагнетания вновь прокачивается топливом до следующего активного хода плунжера.

Исследования, проведенные фирмой МАИ на двигателях МС, показали, что объем внутренней полости соплового наконечника играет существенную роль в образовании в цилиндрах сажистых частиц и углеводородов (СН), а также коксовании сопловых отверстий (см. рис. 12.12 Standart).

Уменьшение этой полости, достигнутое путем введения в канал сопла золотника, изготовленного за одно целое с иглой (см. рис. 12.12 Mini Sac), позволило существенно улучшить чистоту выхлопа. В двигателях серии ME использована новая конструкция распылителя (см. рис. 12.12 Slide), в которой объем топлива во внутренней полости соплового наконечника сведен практически к нулю путем установки удлиненного золотника. Такое конструктивное решение обеспечило снижение дымности ОГ и выброса оксидов азота.

Типы распылителей малооборотных дизелей «МАН-Бурмейстер и Вайн» серий МС-МЕ

К уменьшению объема камеры сопла сегодня прибегают и при производстве форсунок среднеоборотных двигателей.

В большинстве случаев отверстия в распылителях сверлятся. На выходе сверла образуются заусенцы, провоцирующие образование вихрей, приводящих к кавитационно-эрозионным разрушению и быстрому износу отверстий. Поэтому, во избежание отмеченных явлений, ряд фирм, обладающих технологическими возможностями, применяют скругление кромок отверстий, чем существенно продлевают их ресурс.

В двигателях небольшой размерности сопловой наконечник изготавливают за одно целое с направляющей иглы форсунки. В мало- и среднеоборотных двигателях в целях удешевления изготовления и замены сопловых наконечников при их износе сопла изготавливают отдельно от основного корпуса распылителя.

Литература

Судовые двигатели внутреннего сгорания - Возницкий И.В. Пунда А.С. [2010]

MirMarine
MirMarine – образовательный морской сайт для моряков.
На нашем сайте вы найдете статьи по судостроению, судоремонту и истории мирового морского флота. Характеристики судовых двигателей, особенности устройства вспомогательных механизмов и систем.