Содержание
Системы пуска
Задача пусковой системы состоит в раскручивании двигателя до оборотов, при которых создаваемые в цилиндрах давление и температуры сжимаемого воздуха будут достаточны для самовоспламенения впрыскиваемого топлива. Раскручивание судовых дизелей осуществляется сжатым воздухом, и лишь пуск быстроходных двигателей небольшой мощности производится с помощью электростартера или пусковой турбинки, работающей на сжатом воздухе.
Процесс пуска включает следующие три этапа:
- интенсивный разгон двигателя в начальный период под действием давления пускового воздуха, поступившего в цилиндр, поршень которого находился в пусковом положении;
- последующий разгон двигателя под давлением воздуха, поступающего в остальные цилиндры в соответствии с порядком их работы;
- переход двигателя на работу на топливе.
Подача пускового воздуха осуществляется в тот цилиндр, поршень которого находится в положении, соответствующем такту расширения. Обычно это соответствует положению соответствующего колена вала на участке 1-6° за ВМТ и до 100-110° п.к.в. В этот момент в цилиндр через специальный пусковой клапан поступает сжатый воздух. Под его давлением поршень движется вниз, вращая коленчатый вал. В дальнейшем в период пуска воздух поступает последовательно во все цилиндры в порядке их работы. Особенно тяжелые условия пуска создаются в главных судовых дизелях с прямой передачей на гребной винт, так как энергия пускового воздуха должна преодолеть не только энергию на раскручивание самого двигателя, но и сопротивление вращению гребного винта с присоединенными к нему массами воды.
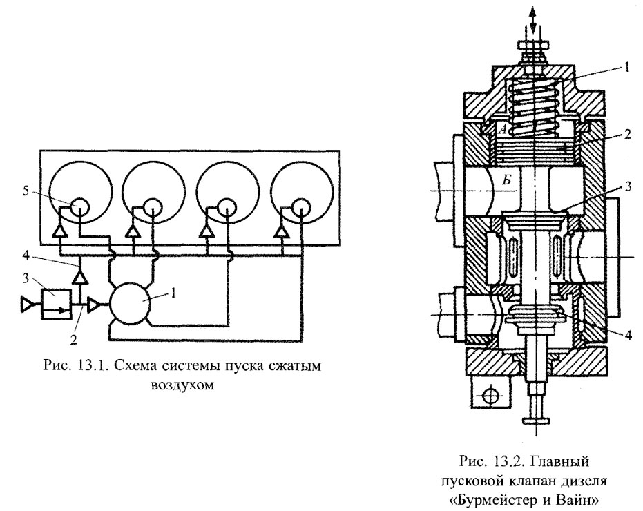
В системе с пневматически управляемыми пусковыми клапанами (рис. 13.1) сжатый воздух подводится от главного пускового (маневрового) клапана 3 по трубе 4 одновременно ко всем пусковым клапанам 5 цилиндров. Однако клапаны пока остаются закрытыми. Когда поршень какого-либо цилиндра находится в пусковом положении к его пусковому клапану от воздухораспределителя 1, соединенного с главным пусковым клапаном трубопроводом 2, будет подан воздух. Он откроет клапан, и рабочий воздух поступит в цилиндр и, надавив на поршень, приведет вал во вращение.
Пуск сжатым воздухом может производиться как с одновременной подачей топлива в цилиндры (смешанный пуск), так и без нее (раздельный пуск).
Минимальное число цилиндров, при котором обеспечивается пуск из любого положения коленчатого вала, составляет у дизелей: четырехтактных iмин = 6, двухтактных iмин =4.
Устройство пусковой системы.
Главный пусковой клапан служит для осуществления многократных пусков при открытых разобщительных клапанах на баллонах пускового воздуха и разгрузки пусковой магистрали после завершения пуска.
Главный пусковой клапан дизеля (рис. 13.2) состоит из тарелки 3, вспомогательного разгрузочного клапана 4 и поршня 2 управляющего цилиндра, нагруженного пружиной 1. Воздух из пусковых баллонов поступает в полость Б главного пускового клапана и одновременно через клапан управления пуском на посту управления в полость А управляющего цилиндра. При этом главный пусковой клапан закрыт, а пусковой трубопровод через вспомогательный клапан 4 сообщен с атмосферой. При установке рукоятки на посту управления в положение «Пуск» клапан управления пуском сообщает полость А управляющего цилиндра с атмосферой. Главный пусковой клапан открывается, и воздух поступает к пусковым клапанам рабочих цилиндров; клапан 4 разобщает пусковую магистраль с атмосферой.
В аварийных случаях клапан может быть открыт или закрыт с помощью штока с маховиком. Воздухораспределитель служит для управления моментами открытия и закрытия пусковых клапанов на цилиндрах в порядке их работы. По конструкции воздухораспределители подразделяются на дисковые, золотниковые и клапанные.
Принцип работы золотникового воздухораспределителя (рис. 13.3). При открытии главного пускового клапана воздух заполняет полость А. За счет разности площадей поясков 2 и 3 золотник прижимается к шайбе 4, имеющей отрицательный профиль. При вращении шайбы и попадании хвостовика золотника во впадину шайбы полость А соединяется с каналом В, ведущим к управляющему цилиндру пускового клапана одного из цилиндров. После закрытия главного пускового клапана золотник с помощью пружины 1 отжимается от шайбы 4. Канал В сообщается с полостью Б, соединенной с атмосферой, и магистраль управляющего воздуха разгружается. При реверсе распределительный валик воздухораспределителя сдвигается в осевом направлении, и под хвостовики золотников подводится второй комплект кулачных шайб.
Поступающий к воздухораспределителю пусковой воздух давит на все управляющие клапаны 5, сидящие на кулаке 2. В зависимости от положения управляющих клапанов 5 пусковой клапан под давлением воздуха, поступающего от соответствующего управляющего клапана, открывается в том цилиндре, поршень которого находится в пусковом положении (за ВМТ). Под действием давления воздуха поршень приходит в движение и вращает коленчатый вал.
Кулак 2 также вращается, и следующий по порядку работы цилиндров управляющий клапан 5 активируется и подает воздух в следующий цилиндр. При достижении заданных оборотов система ДАУ включает подачу топлива, и пусковой режим прекращается. Подача сжатого воздуха в пусковую систему прекращается, и она сообщается с атмосферой, управляющие клапаны 5 пружинами поднимаются над кулаками, и процесс пуска прекращается.
В двигателях «МАН Бурмейстер и Вайи» при реверсе распределительный валик воздухораспределителя смещается, в осевом направлении и под хвостовики золотников подводится второй комплект кулачных шайб, соответствующих заднему ходу.
Пусковые клапаны служат для подачи сжатого воздуха в цилиндры при пуске дизеля. Клапаны открываются воздухом, поступающим к их управляющим поршням от воздухораспределителя.
Пусковой клапан дизеля «Бурмейстер и Вайн» (рис.13.5а) состоит из штока 6 с тарелкой 8 и направляющими ребрами 7, уравновешивающего поршня 5, пружины 4 и управляющего поршня 3. Масленка 2 и тавотница 1 служат для подачи смазки. Воздух от главного пускового клапана подводится в полость между уравновешивающими поршнем и тарелкой клапана, а от воздухораспределителя - в полость над управляющим поршнем.
Пусковой клапан дизеля «Зульцер» (рис.13.56) состоит из корпуса, штока 6, клапана с тарелкой 7 и уравновешивающим поршнем 5, управляющих поршней 4 и 3 и пружины 1. Управляющий поршень 3 выполнен дифференциальным. Управляющий воздух для открытия клапана подается от воздухораспределителя в полость А; одновременно полость под поршнем 4 воздухораспределитель сообщает с атмосферой. Давление управляющего воздуха действует вначале только на меньшую площадь дифференциального поршня 3. Клапан начнет открываться, если давление управляющего воздуха равно или больше давления в цилиндре. Этим предотвращается забрасывание пламени из цилиндра в пусковой трубопровод при применении смешанного пуска, когда в цилиндр подаются одновременно сжатый воздух и топливо.
После небольшого перемещения поршня 3 вниз уплотнительное кольцо малого поршня открывает прорези 2, через которые воздух поступает в полость Б, и клапан начинает быстро открываться за счет давления на полную площадь дифференциального поршня.
Для закрытия клапана управляющий воздух из воздухораспределителя подается в полость В; одновременно полости А и Б сообщаются с атмосферой. Клапан начинает закрываться за счет воздействия воздуха на поршень 3. Перед посадкой клапана на седло управляющий поршень 4 отсекает поступление воздуха в полость В, и закрытие осуществляется путем воздействия воздуха на поршень 4; одновременно малый поршень 3 разобщает полость Б с атмосферой. Оставшийся в полости Б воздух по каналам К перетекает в полость В, что обеспечивает торможение и мягкую посадку клапана на седло.
Надежность пуска зависит от следующих факторов:
- степень износа цилиндро-поршневой группы и в первую очередь поршневых колец;
- тепловое состояние двигателя перед пуском;
- давление пускового воздуха;
- состояние топливовпрыскивающей аппаратуры, давление распыливания и величина цикловой подачи при пуске.
При пуске холодного двигателя от сжимаемого в цилиндрах воздуха отбирается большое количество тепла, в итоге температура и давление в цилиндре могут оказаться низкими и недостаточными для самовоспламенения впрыскиваемого топлива. Приходится долго раскручивать двигатель на воздухе, подаваемое топливо, не воспламеняясь, скапливается в цилиндре и при воспламенении очередной порции топлива в реакцию сгорания вовлекается ранее не сгоревшее топливо. Это приводит к чрезмерному росту давлений в цилиндре, подрываются предохранительные клапаны, увеличиваются механические нагрузки на подшипники, донышки поршней и крышек цилиндров. Известны случаи появления в них трещин. К подобным явлениям приводит также пуск двигателя при низких давлениях пускового воздуха. Скорость вращения его на воздухе мала, увеличиваются потери сжимаемого воздуха через неплотности поршневых колец, давления и температуры в конце сжатия оказываются недостаточными для надежного самовоспламенения. Этому также способствует низкое давление распыливания, создаваемое ТНВД при низких оборотах. К взрывам в цилиндрах может приводить также чрезмерно большая цикловая подача топлива, поступающего в цилиндр при совмещенном пуске.
Практические рекомендации.
1. Избегать пуска двигателя при низких давлениях пускового воздуха, особенно если двигатель не был предварительно прогрет.
2. Обязательно прогревать двигатели перед пуском. Для этого осуществлять прокачивание через блок двигателя горячей воды, выходящей из работающих дизелей.
3. Подбирать величину цикловой подачи топлива такой, чтобы она не была чрезмерно большой и не вызывала взрывного сгорания и в то же время была достаточной для должного распыливания и самовоспламенения. При пуске со взрывами - при наличии ДАУ внести изменения в ее программу.
Системы реверсирования
Система реверса служит для изменения направления вращения коленчатого вала мало- и среднеоборотных судовых дизелей. Независимо от принципа работы и способа исполнения устройство для реверсирования дизеля должно обеспечивать правильное чередование и изменение фаз распределения органов пуска, газораспределения, топливоподачи, а также реверсирование навешенных на дизель вспомогательных механизмов. Необходимость изменения фаз распределения при реверсировании дизеля вытекает из следующего. Предположим, что кривошипы коленчатого вала шестицилиндрового дизеля занимают положение, показанное на рис. 13.6а. В рассматриваемом варианте для пуска дизеля в направлении «Вперед» необходимо подать воздух в пятый цилиндр, который в рассматриваемом случае находится в пусковом положении, и диск дискового воздухораспределителя (или пусковая шайба воздухораспределителя со звездообразным расположением золотников) соответственно должен находиться в положении, при котором воздух после открытия главного пускового клапана должен поступить к пусковому клапану пятого цилиндра (рис. 13.66). При этом пусковая шайба будет вращаться против часовой стрелки.
Для пуска дизеля «Назад» из того же положения пусковой воздух необходимо подать в четвертый цилиндр.
Для этого диск (или шайбу) необходимо повернуть в положение, показанное на рис. 13в; диск будет вращаться по часовой стрелке.
Очевидно, что воздухораспределитель с рядным расположением золотников должен иметь по две кулачные шайбы (переднего и заднего хода) для каждого золотника, и его распределительный валик при реверсировании должен смещаться в осевом направлении.
Предположим также, что при работе четырехтактного дизеля «Вперед» в одном из цилиндров закончился процесс расширения и поршень находится в НМТ. Так как выпускной клапан начинает открываться до НМТ, то при рассматриваемом положении поршня выступ кулачной шайбы 3 уже набежит на ролик 1 толкателя выпускного клапана (рис. 13.7а), и он будет открыт на величину h. Если с этого момента вал дизеля должен изменить направление вращения на обратное, то процесс выпуска независимо от направления вращения должен продолжаться, а следовательно, должен открываться и выпускной клапан. Однако при обратном вращении распределительного вала кулачная шайба 3 уже не может открыть клапан и требуется установка второй шайбы 2, зеркально расположенной по отношению к первой. Таким образом, для возможности работы дизеля «Вперед» и «Назад» необходимо иметь по две кулачные шайбы для каждого клапана.
Подача топлива в цилиндр обычно начинается до ВМТ и заканчивается после нее по прошествии 20-25° п.к.в. Следовательно, при положении поршня в ВМТ плунжер ТНВД еще продолжает свой нагнетательный ход, и кулачная шайба топливного насоса должна быть заклинена по отношению к кривошипу с отставанием на угол φ (рис.13.76). Точки НП и КП на профиле шайбы соответствуют началу и концу подачи топлива; их расположение зависит от способа регулирования ТНВД и цикловой подачи топлива. При реверсировании дизеля рабочий участок шайбы НП-КП находится на другой стороне ее профиля. Поэтому распределительный вал необходимо развернуть на угол 2 φ (если шайбы имеют симметричный профиль) или сместить его в осевом направлении и подвести под ролики толкателей ТНВД другой комплект кулачных шайб.
В двигателях МАН-МС (см. рис. 13.8) топливный кулак имеет симметричный профиль и реверсирование фаз топливоподачи не требует разворота распределительного вала, а осуществляется перекидыванием ролика 3 с помощью сервомотора 4 с профиля кулака 1 на 2 или наоборот.
Процесс реверсирования главных судовых дизелей является весьма напряженным, так как при реверсировании во время хода судна приходится быстро тормозить не только вращающийся вал двигателя, но и гасить инерцию движения судна. После подачи сигнала «Стоп» (выключения подачи топлива) крутящий момент двигателя падает до нуля, но его вал продолжает вращаться под действием инерции движущихся масс двигателя, а также в силу того, что гребной винт за счет продолжающегося движения судна переходит в режим гидротурбины. Процесс торможения составляет 2-10 минут в зависимости от скорости хода судна, его водоизмещения и характеристик гребного винта. Реверсирование двигателя может быть осуществлено лишь после остановки двигателя. Если же на ходу судна поступает команда «Полный назад», то обстоятельства заставляют прибегнуть к быстрой остановке двигателя за счет подачи контрвоздуха в цилиндры, в которых в этот период происходит такт сжатия.
Реверсирование двигателя на ходу судна включает следующие операции:
- выключение подачи топлива;
- реверсирование газораспределительных органов и топливоподачи из положения «Вперед» в положение «Назад» еще при вращающемся вале;
- торможение двигателя контр-воздухом;
- пуск двигателя в требуемом направлении и перевод на работу на топливе.
Торможение контрвоздухом осуществляется после реверсирования воздухораспределителя, тогда пусковой воздух к пусковым клапанам начнет поступать за 65-110° п.к.в. до прихода поршней в ВМТ и тем самым тормозить их движение.
Нужно иметь в виду, что режим реверсирования с контрвоздухом является весьма напряженным и к нему следует прибегать лишь в экстренных ситуациях.
Литература
Судовые двигатели внутреннего сгорания - Возницкий И.В. Пунда А.С. [2010]