Электроприводы судовых промысловых устройств

Общая характеристика электроприводов судовых промысловых устройств

Электроприводы судовых промысловых устройств предназначены в первую очередь для промышленного лова гидробионтов (рыбы).

В зависимости от способа лова рыбы (совокупность механизмов, устройств и пр.) можно объединить в три основные группы:

  • 1 – тралового лова;
  • 2 – кошелькового лова;
  • 3 – дрифтерного лова.

На судах нашли применение для бортового и кормового тралового лова. В большинстве случаев используется кормовое траление, имеющее следующие основные преимущества перед бортовым: спуск и подъем трала осуществляются на ходу судна и не требуют сложных маневров; движение судна при кормовом тралении более экономично, так как симметричное расположение канатов (ваеров) относительно ДП судна позволяет судну более равномерно двигаться по заданной траектории; благодаря разносу ваеров от ДП и кильватерной струи трал менее подвержен закручиваниям.

При кошельковом лове возможны варианты использования судовых промысловых устройств для носового, бортового и кормового кошелькования и выборки невода. Традиционным является бортовой лов, при котором замет осуществляется с кормы, а кошелькование и выборка невода – с борта, чем обеспечиваются широкий фронт работ, условия для подсушки и выливки улова. К недостаткам кошелькового лова относится возможность затягивания судна в невод при кошельковании и выборке.

Дрифтерный лов включает в себя операции поиска рыбы, выметки порядка, дрейфа судна с порядком, выборки порядка с вытряхиванием рыбы из сетей, подготовки к очередной выметке, обработки пойманной рыбы, укладки рыбы в трюм. Дрифтерный лов является достаточно трудоемким и СПУ должны в первую очередь механизировать выборку порядка и сопутствующие ей операции. Применение дрифтерного лова эффективно при малой концентрации рыбы.

В настоящее время наиболее широко используется траловый промысел.

На рис. 8.1 и 8.2 представлены основные составляющие электроприводов траловой рыболовной системы (ТРС) с редукторным передаточным устройством, где 1 – трал; 2 – оснастка верхней подборы; 3 – оснастка нижней подборы; 4 – грузы- углубители; 5 – кабели; 6 – траловые доски; 7 – канаты (ваеры); 8 – ваерные блоки; 9 – редукторное передаточное устройство; 10 – ваерные барабаны; 11 – исполнительные электродвигатели; 12 – часть корпуса судна.

К составным частям ТРС относятся в первую очередь тралы и ваеры – рис. 8.1 и 8.2.

Основные составляющие редукторного электропривода траловой рыболовной системы (вид сверху)

Тралы (от англ. trawl – конусообразный сетчатый мешок с отверстием, предназначенный для лова рыбы) являются отцеживающими орудиями промышленного рыболовства, включающими сетную оболочку с системами остропки и оснастки, которые обеспечивают прочность, горизонтальное и вертикальное раскрытие трала.

Сетная оболочка трала (рис. 8.3) состоит из передней части 2, включающей мотню 3 с канатной и делевой частью (мелкоячейная часть 7) и крылья 4, и задней части (мешка) 1, содержащей цилиндрическую часть 5 и коническую часть 6.

Сетная оболочка трала

Крылья обеспечивают равномерную передачу нагрузки от мотни к кабелям, а также выполняют залавливающие функции.

Мотня служит для буксировки мешка, отпугивания рыб и направления их в мешок.

При помощи мешка осуществляется отбор, удержание и накопление рыб промысловых размеров.

Система остропки включает в себя канаты подбор, топенантов и др., которые обеспечивают прочность сетной оболочки. Остропка передает усилия от сетной оболочки кабелям.

Система оснастки состоит, как правило, из оснастки верхней подборы, оснастки нижней подборы и траловых досок.

Оснастки верхней и нижней подбор (рис. 8.4) обеспечивают вертикальное раскрытие трала.

Оснастка подбор трала

На рис 8.4.1 представлена оснастка верхней подборы гидродинамическими щитками (1 – верхняя подбора, 2 – дубль подборы, 3 – гидродинамический щит (пластина), 4 – перемычка, 5 – оттяжка, 6 – фальш- подбора), а на рис. 8.4.2 – нижней подборы якорными цепями (1 – нижняя подбора, 2 – якорная цепь).

Верхняя подбора оснащается шаровыми поплавками (кухтылями) или гидродинамическими щитками (пластинами) из жестких (пластмассы, дюралюминия и т.д.) или гибких (брезента, прорезиненной ткани и пр.) материалов.

Нижняя подбора донных тралов в большинстве случаев оснащается грунтропом, а разноглубинных тралов – якорными цепями.

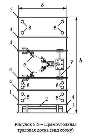
Траловые доски относятся к гидродинамическим распорным устройствам горизонтального раскрытия устья трала. Основными формами судовых траловых досок являются прямоугольная, овальная и круглая.

Прямоугольная
траловая доска (вид сбоку)

На рис. 8.5 представлена прямоугольная траловая доска, где 1 – щиток; 2 – киль; 3 – нижний стрингер; 4 – внутренние стрингеры; 5 – верхний стрингер; 6 – цепь; 7 – дуга; 8 – точки крепления лапок; h – высота доски; b – ширина доски.

Ваеры (от англ. wire – проволока) представляют собой стальные проволочные тросы (канаты) и обеспечивают гибкую механическую связь трала с судном. Наиболее широкое применение нашли стальные шестипрядные канаты двойной свивки, которые получают путем свивки проволок в спиральные канаты (пряди) с последующей свивкой прядей вокруг органического или металлического сердечника.

Промысловым устройством ТРС, обеспечивающим выполнение всех основных операций, являются траловые лебедки.

Параметры траловых лебедок определяются исходя из функционального назначения орудий лова (тралов): донные, придонные, пелагические (для ловли в поверхностных слоях).

Мощность электропривода траловой лебедки судна должна обеспечивать подъем оптимально нагруженного трала с оснасткой и уловом с допустимой нормированной глубины лова и технико-экономически целесообразными скоростями подъема.

Электроприводы судовых промысловых устройств тралового лова предназначены для спуска сетной части трала, травления и выборки ваеров, подъема сетной части трала, приема и отдачи траловых досок и выливки улова.

Классификация электроприводов судовых промысловых устройств

Общая классификация

  • 1.1. По степени значимости на судах:
    • – вспомогательные.
  • 1.2. По уровню автоматизации:
    • – автоматизированные (большинство ЭП СПУ).
  • 1.3. По степени управляемости:
    • – следящие.
  • 1.4. По числу рабочих скоростей:
    • – многоскоростные (в большинстве).
  • 2.1. По типу преобразователя:
    • – дискретные ( с гидравлическими передачами);
    • – аналоговые;
    • – инверторные.
  • 2.2. По технической реализации преобразователей:
    • – статические (гидравлические);
    • – электромеханические.
  • 3.1. По принципам преобразования электрической энергии в механическую энергию:
    • – электромашинные.
  • 3.2. По роду тока:
    • – постоянного тока;
    • – переменного тока.
  • 4.1. По способу распределения (передачи) механической энергии:
    • – индивидуальные;
    • – групповые;
    • – взаимосвязанные.
  • 4.2. По типу передаточного устройства:
    • – редукторные (рис. 8.6);
    • – безредукторные (гидравлические) (рис. 8.7).
  • 4.3. По регулированию координат движения:
    • – нерегулируемые;
    • – регулируемые.

    Многие электроприводы основных судовых промысловых устройств являются регулируемыми (траловых лебедок и др.), благодаря чему повышается производительность промысловых операций.

  • 4.4. По виду движения:
    • – поступательного (непрерывного).
  • 4.5. По направлению движения:
    • – реверсивного.
  • 4.6. По наличию тормозных устройств (управляемых муфт):
    • – с тормозными устройствами (муфтами), как правило.

Электропривод отечественной многооперационной траловой лебедки ЛЭТр-7 с редукторным передаточным устройством

Электропривод отечественной многооперационной траловой лебедки ЛГТр-5 с гидравлическим передаточным устройством

  • 5. По виду механических характеристик механизма (устройства):
    • – вращающий момент механизма не зависит от угловой скорости;
    • мощность электропривода прямо пропорциональна угловой скорости;
    • – иные (ЭП траловых лебедок и др.).

Специальная классификация

  • 1. По расположению:
    • – палубные.
  • 2. По функциональному назначению:
    • – траловые;
    • – ваерные;
    • – вытяжные;
    • – кабельные.

    Электроприводы судовых промысловых устройств выполняют производственные операции промышленного лова гидробионтов (рыбы).

    Траловые лебедки, предназначенные для других видов лова (многооперационные), кроме обслуживания операций по спуску и подъему трала, обеспечивают работу и других орудий лова, например траловосейнерные – рис. 8.8.

Электроприводы отечественной тралово-сейнерной лебедки ЛЭТрС-3-1

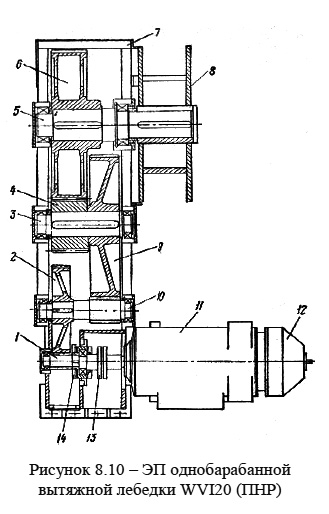
На судах, имеющих промысловые устройства с раздельными механизмами для работы с ваерами, применяются ваерные однооперационные лебедки (рис. 8.9), а для спуска и подъема трала – вытяжные лебедки (рис. 8.10).

Электропривод отечественной ваерной однооперационной лебедки ЛЭТр-8

На рис. 8.9: 1, 3 – исполнительные ЭД; 2 – промежуточный редуктор; 4 – редуктор; 5 – ваерный барабан; 6 – двухходовой винт; 7 – направляющие; 8 – каретка; 9 – механический привод; 10 – штурвал ручного привода; 11 – станина.

Электропривод  однобарабанной вытяжной лебедки WVI20 (ПНР)

На рис. 8.10: 1 – вал-шестерня; 2 – зубчатое колесо; 3 – второй промежуточный вал; 4 – шестерня третьей передачи; 5 – грузовой вал; 6 – колесо; 7 – сварной корпус; 8 – вытяжной барабан; 9 – колесо второй передачи; 10 – первый промежуточный вал; 11 – исполнительный ЭД; 12 – электромагнитный тормоз; 13 – втулочно-пальцевая муфта; 14 – крылатка.

Основными отличительными особенностями конструкций кабельных лебедок (рис. 8.11), по сравнению с конструкциями вытяжных лебедок, являются наличие канатоукладчика и другое количество ступеней передач в редукторе.

Электропривод однобарабанной кабельной лебедки WVI10 (ПНР)

На рис. 8.11: 1, 3 – вал-шестерни; 2 – колесо; 4 – корпус; 5 – грузовой вал; 6 – колесо; 7 – литосварной барабан; 8 – зубчатая полумуфта; 9 – стойка; 10 – звездочка для цепи привода канатоукладчика; 11 – маховик; 12 – рычаг; 13 – цапфа барабана; 14 – электромагнитный тормоз; 15 – исполнительный ЭД; 16 – эластичная муфта; 17 – крылатка.

  • 3. По степени ответственности:
    • – прочие.
  • 4. По режимам работы:
    • – кратковременного;
    • – иного.

    Режимы работы Электроприводы судовых промысловых устройств различны и зависят от их функционального назначения. Например, время выбирания ваеров при траловом лове часто составляет около 30 мин. Число включений при этом определяется конкретными условиями тралового лова. За номинальный режим работы принимается кратковременный режим продолжительностью 30 или 60 мин.

  • 5. По расположению рабочей оси:
    • – горизонтальные.
  • 6. По количеству валов:
    • – одновальные;
    • – многовальные.

Основные требования и рекомендации, предъявляемые к электроприводам судовых промысловых устройств

Высокая надежность. Обусловлена функциональным назначением судового промыслового устройства. Траловые лебедки, например, не дублированы. Характерной особенностью являются значительные колебания нагрузок в процессе эксплуатации лебедок.

Необходимый диапазон рабочих скоростей. Электроприводы траловых лебедок должны обеспечивать плавное регулирование рабочей скорости в широком диапазоне. По данным, приведенным в литературе, номинальная скорость выбирания ваеров для средних рыболовных траулеров морозильных должна быть не менее 1,50 м/с, для посольно-свежьевых траулеров и рыболовных траулеров морозильных – 1,67 м/с, для больших морозильных рыболовных траулеров – (1,67…1,83) м/с, а для больших автономных траулеров – (2,00…2,33) м/с. Скорости травления ваеров должны быть в (1,5…2,0) раза больше скоростей их выбирания.

Достаточная перегрузочная способность. Составные части электрического привода траловых лебедок должны выдерживать нагрузки, достигающие разрывных усилий ваеров.

Наличие тормозов. электроприводы судовых промысловых устройств должны иметь автоматические тормозные устройства нормально заторможенного типа, срабатывающие при исчезновении приводной энергии или выходе приводов из строя.

Защита. Должна быть предусмотрена защита электродвигателя от перегрузок.

Типы двигателей, применяемых в электроприводах траловых лебедок

При траловом лове электроприводы траловых лебедок работают при травлении и выбирании ваеров. В случае работы при травлении ваеров исполнительные двигатели работают в режимах электрических торможений, а при выбирании ваеров – в двигательных режимах.

Исходя из того, что электроприводы траловых лебедок в большинстве случаев являются наиболее мощными судовыми потребителями электрическая энергия с переменным моментом сопротивления на валу электродвигателя, для них целесообразны механические характеристики, близкие к гиперболе постоянства мощности.

В электроприводах траловых лебедок возможно применение двигателя постоянного тока смешанного или последовательного возбуждения, многоскоростных асинхронных двигателей с короткозамкнутым или фазным роторами.

Из электродвигателя постоянного тока более широкое применение нашли двигатели постоянного тока смешанного возбуждения.

Многоскоростные асинхронные двигатели используются преимущественно с постоянством мощности на различных скоростях.

Литература

Основы теории и эксплуатации судовых электроприводов. А. Ф. Бурков (2021)

MirMarine
MirMarine – образовательный морской сайт для моряков.
На нашем сайте вы найдете статьи по судостроению, судоремонту и истории мирового морского флота. Характеристики судовых двигателей, особенности устройства вспомогательных механизмов и систем.