Системы управления судовых электроприводов

Содержание

  1. Общая характеристика систем управления
  2. Структурные схемы рулевых электроприводов и режимы управления ими
  3. Краткий обзор систем управления рулевых электроприводов
  4. Системы управления судовых многоскоростных регулируемых электроприводов
  5. Судовой многоскоростной электропривод системы «управляемый выпрямитель – двигатель постоянного тока»
  6. Типовая электрическая схема судового многоскоростного электропривода с релейно-контакторной системой управления
  7. Пример технической реализации комбинированных систем управления судовых многоскоростных электроприводов

СПИСОК СОКРАЩЕНИЙ

  • АД – асинхронный двигатель
  • ЭП – электрический привод
  • АР – авторулевой
  • СУ – система управления
  • РЭГ– рулевой электрогидравлический (привод)
  • РЭМ – рулевой электромеханический (привод)
  • ИД – исполнительный двигатель
  • ПД – приводной двигатель
  • ДПТ – двигатель постоянного тока
  • МПс – магнитный пускатель
  • Р-К – релейно-контакторная (схема)
  • ТП–Д – «тиристорный преобразователь – двигатель постоянного тока» (система)
  • ОС – обратная связь

Общая характеристика систем управления

Необходимо отметить, что любая СУ, независимо от степени ее сложности и назначения ЭП, включает в себя необходимое и достаточное для функционирования в области допустимых значений количество различных элементов и их компонентов, предназначенных для выполнения операций ЭП в соответствии с их функциональным назначением. Элементы СУ соединены между собой таким образом, чтобы выполнять по заданным алгоритмам все операции, определяемые назначением СУ и ЭП в целом. Связи элементов или групп элементов отражаются принципиальными (полными), структурными и функциональными схемами.

Несмотря на большое разнообразие судовых ЭП, их СУ можно условно объединить в три основные группы.

Первая группа включает в себя в большинстве случаев нереверсивные и реверсивные СУ на основе МПс. Такие СУ в первую очередь входят в состав нерегулируемых ЭП СН (вентиляторов, насосов и др.).

На рис. 9.1 представлена принципиальная электрическая схема нереверсивного нерегулируемого ЭП, включающая МПс, где М – трехфазный АД с короткозамкнутым ротором; КМ – трехполюсный контактный коммутационный аппарат (ККА) (контактор); КК1, КК2 – тепловые реле; SB1, SB2 – кнопки «пуск» и «стоп» соответственно.

Электрическая
схема нереверсивного нерегулируемого ЭП c МПс

Согласно схеме, представленной на рис. 9.1, для функционирования нереверсивного нерегулируемого ЭП необходимым и достаточным количеством является пять элементов СУ (КМ, КК1, КК2, SB1 и SB2). Контактор, как элемент СУ, включает три компонента: три механически соединенных главных контакта, катушку (обмотку) управления и вспомогательный контакт. Каждое из тепловых реле КК1 и КК2 состоит из двух компонентов: реагирующего на величину тока элемента (например, биметаллической пластины) и контакта.

Таким образом, представленная широко распространенная принципиальная электрическая схема СУ обеспечивает нереверсивное включение и выключение ЭП, а также защиту АД от токовой перегрузки.

Вторая группа объединяет СУ рулевых ЭП.

Третья группа включает в себя нереверсивные и реверсивные СУ судовых многоскоростных регулируемых ЭП.

Структурные схемы рулевых электроприводов и режимы управления ими

Структурные схемы рулевых ЭП определяются типом передаточного устройства

На рис. 9.2 представлена структурная схема редукторного РЭМ привода.

На рис. 9.2: 1 – канал сигнала задающего устройства; СУ – система управления; ЭД – исполнительный двигатель; МП – механический преобразователь (механическая передача); ИО – исполнительный орган механизма (руль); С – судно; φ – угол отклонения судна от заданного курса; А – аксиометр; 2, 2', 3' – ОС; 4 – канал режима автоматического управления; СРК – счетно-решающий комплекс.

Структурная схема редукторного РЭМ привода

Структурная схема РЭГ привода представлена на рис. 9.3, где, в отличие от рис. 9.2: ЭД – приводной двигатель; СМ – сервомеханизм; НС – насос; ПР – прессы.

Счетно-решающие комплексы (СРК) входят, как правило, в состав рулевых ЭП – рис. 9.2 и 9.3. В случае решения задачи автоматического удержания судна на заданном курсе СРК представляется как АР.

Структурные схемы (рис. 9.2 и 9.3) обеспечивают возможность трех режимов управления рулевыми ЭП: простого и следящего, которые относятся к автоматизированному управлению, и автоматического.

В режиме простого управления (по времени) направление и угол перекладки пера руля α определяются временем воздействия на рукоятку (штурвал) СУ. При прекращении воздействия руль останавливается. В этом случае положение пера руля определяется аксиометром, нормированная точность измерения угла которым должна быть не менее 2,5°. ОС 2, 2' и 3' (рис. 9.2 и 9.3) при этом разомкнуты.

Структурная схема РЭГ привода

При следящем управлении (по пути) направление и угол перекладки пера руля α задаются положением рукоятки (штурвала) СУ. При этом каждому положению рукоятки (штурвала) соответствует, с учетом времени отработки, определенное положение руля. В этом случае, если отсутствует СРК, замкнута ОС 2 (рис. 9.2 и 9.3). При наличии СРК (АР) в составе рулевого ЭП замкнута ОС 2'.

В режиме автоматического управления направление и угол перекладки пера руля α задаются программой по каналу режима автоматического управления 4 или сигналами ОС 2' и 3' (рис. 9.2 и 9.3), реализуемыми с помощью СРК (АР).

Необходимо отметить, что в режимах простого и следящего управления рулевого ЭП объектом управления является руль, а в автоматическом режиме – судно.

Краткий обзор систем управления рулевых электроприводов

В РЭМ приводах для управления ИД широкое распространение получили СУ, включающие систему Г–Д.

Режим простого управления использован, например, на судах типа «Андижан», имеющих секторные РЭМ приводы. Схема управления включает систему Г–Д с противокомпаундной обмоткой (ПКО) генератора, электромашинный возбудитель, Р-К схему с кнопочным постом управления. СУ обеспечивает работу ИД в двигательном режиме и режиме динамического торможения.

Режим следящего управления нашел применение, например, на некоторых судах типа «Повенец», имеющих секторные РЭМ приводы. СУ этих ЭП включают систему Г–Д с ПКО генератора, электромашинный возбудитель с двумя дифференциально включенными обмотками, два магнитных усилителя.

В РЭГ приводах широкое применение для управления ПД нашли Р-К схемы, вариант которых представлен на рис. 9.1. В соответствии с требованием у рулевых ЭП должна быть защита только ЭД от коротких замыканий. При перегрузках должна срабатывать сигнализация. В этих случаях контакты тепловых реле КК1 и КК2, включенные последовательно между собой и катушке контактора КМ, исключаются из схемы (рис. 9.1) и вводятся в схему сигнализации.

Сервомеханизмы, обеспечивающие перекладку рулей, различны и классифицируются по ряду признаков.

Режим простого управления использован, например, на ряде танкеров типа «Певек», имеющих РЭГ приводы с насосами постоянной производительности. Их сервомеханизмы включают ЭД постоянного тока и Р-К схемы. СУ обеспечивают работу ЭД постоянного тока (ИД) в двигательном режиме и режиме динамического торможения.

Режим простого управления использован, например, на ряде танкеров типа «Певек», имеющих РЭГ приводы с насосами постоянной производительности. Их сервомеханизмы включают ЭД постоянного тока и Р-К схемы. СУ обеспечивают работу ЭД постоянного тока (ИД) в двигательном режиме и режиме динамического торможения.

Режим следящего управления нашел применение, например, на судах типа «Джанкой», имеющих РЭГ приводы с насосами переменной производительности. Их сервомеханизмы включают систему Г–Д, генератор которой имеет две независимые, дифференциально включенные обмотки.

Для использования режима автоматического управления рулевыми ЭП необходимо наличие СРК (АР)

Системы управления судовых многоскоростных регулируемых электроприводов

Типовая электрическая схема судового многоскоростного электропривода, включающего систему «генератор – двигатель»

Большинство СУ многоскоростных судовых ЭП постоянного тока содержат контроллерные или релейно-контакторные СУ, системы Г–Д, ТП–Д и др.

В настоящее время обоснована бесперспективность широкого использования систем Г–Д

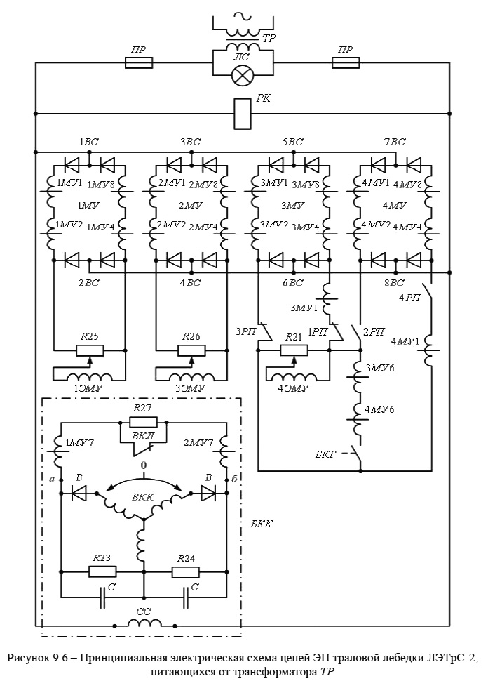
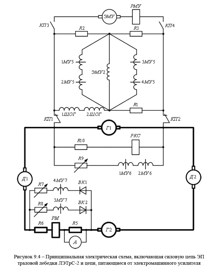
К исключениям относятся, например, ЭП траловых рыболовных систем, включающие системы Г–Д, которые в настоящее время широко используются на судах рыбопромыслового флота. На рис. 9.4…9.6 приведена упрощенная принципиальная электрическая схема ЭП широко используемой тралово-сейнерной лебедки ЛЭТрС-2, предназначенной для спуска и подъема трала, выбирания стяжного троса при кошельковом лове, операций тяги канатов при других видах лова. На рис. 9.4…9.6 не показаны некоторые элементы и схемы, отсутствие которых не меняет принципа действия ЭП лебедки.

Лебедка выполнена в виде единого многобарабанного механизма и установлена, например, на сейнер-траулере рефрижераторном «Альпинист». На валу лебедки расположены два ваерных барабана, два кабельных барабана и два барабана для вытяжных талей. Барабаны соединяются с рабочим валом муфтами с гидравлическим управлением. Любой барабан может соединиться и разъединиться с рабочим валом при помощи дистанционного управления. Также дистанционно могут осуществляться регулирование угловой скорости и направления вращения рабочего вала.

Принципиальная электрическая схема, включающая силовую цепь ЭП
траловой лебедки

Примечания.

1. На рис. 9.4…9.6 не показаны: схема переключателя постов управления; цепи, связанные с наличием двух КК; схема дополнительного поста управления.

2. Буквенно-цифровые обозначения на схемах ЭП траловой лебедки ЛЭТрС-2 (рис. 9.4…9.6) соответствуют обозначениям, представленным в технической литературе.

Принципиальная электрическая схема цепей ЭП траловой лебедки ЛЭТрС-2,
питающихся от возбудителя

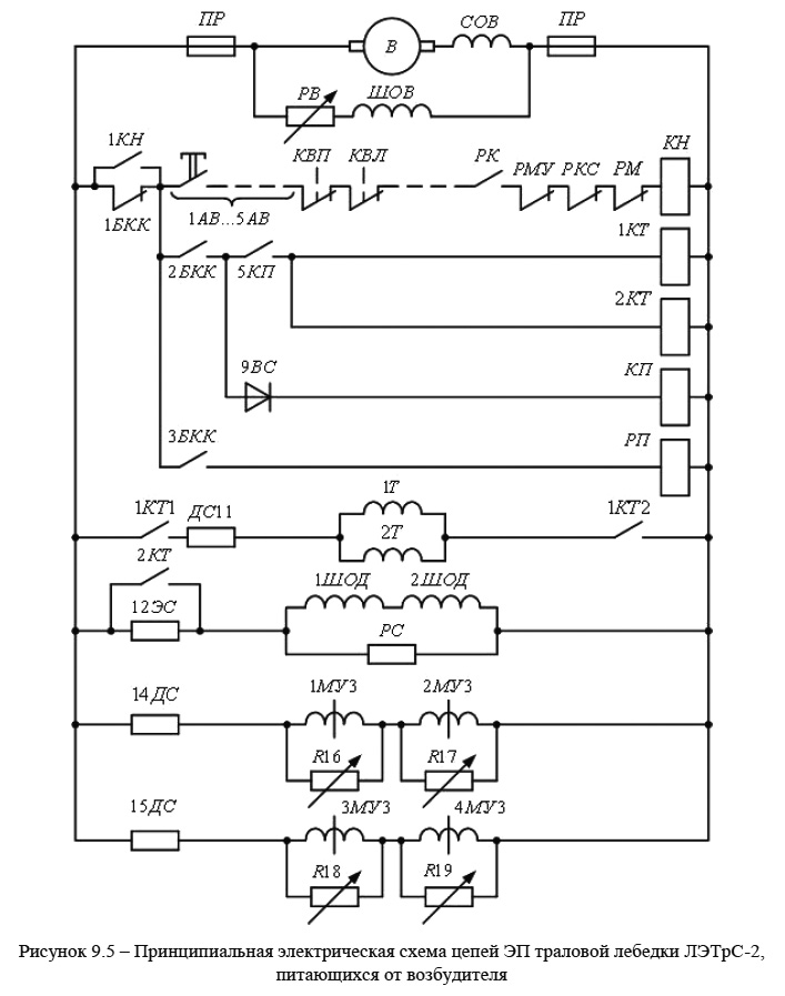
В схемах, представленных на рис. 9.4...9.6: Г1, Г2 – генераторы постоянного тока; 1ШОГ, 2ШОГ – шунтовые (параллельные) ОВ генераторов Г1 и Г2 соответственно; Д1, Д2 – двигатели постоянного тока; 1ШОД, 2ШОД – шунтовые ОВ двигателей Д1 и Д2; 1Т, 2Т – обмотки электромагнитных тормозов двигателей Д1 и Д2; В – возбудитель; ШОВ – шунтовая (параллельная) ОВ возбудителя В; СОВ – сериесная (последовательная) обмотка возбудителя В;

Принципиальная электрическая схема цепей ЭП траловой лебедки ЛЭТрС-2,
питающихся от трансформатора ТР

ЭМУ – электромашинный усилитель; 1ЭМУ…4ЭМУ – ОВ электромашинного усилителя ЭМУ; 1МУ…4МУ – магнитные усилители; 1МУi…4МУi – обмотки возбуждения магнитных усилителей 1МУ…4МУ (i = 1…8 – порядковый номер обмотки магнитного усилителя); РК – реле контроля; РКС – реле контроля спуска; РМ – реле максимального тока; РМУ – токовое реле; РП – промежуточное реле; А – амперметр; 1КТ, 2КТ – контакторы электромагнитных тормозов 1Т и 2Т соответственно; КН – контактор нулевой защиты; КП – контактор «поля»; ТР – трансформатор; БКК – блок командоконтролера, включающий сельсин; СС – обмотка возбуждения сельсина; ВК1, ВК2, В, 1ВС…9ВС – диоды; R1…R3 – сопротивления диагонали моста; R5, R6 – сопротивления-шунты; РВ, R7…R9, R16…R19, R21, R25, R26 – установочные сопротивления; R10, 11ДС…15ДС – дополнительные сопротивления; 12ЭС – экономическое сопротивление; РС – разрядное сопротивление; КВП, КВЛ – конечные выключатели направлений; ЛС – сигнальная лампа; БКГ – блок-контакт ОС.

Оба ИД (Д1 и Д2) жестко связаны между собой посредством зубчатой механической передачи и работают как один общий ЭД.

Генераторы Г1 и Г2 также имеют общий вал.

Якоря всех главных машин (Г1, Г2, Д1 и Д2) соединены между собой последовательно – рис. 9.4.

Управление ЭП осуществляется регулированием магнитных потоков, создаваемых обмотками 1ШОГ и 2ШОГ возбуждения генераторов Г1 и Г2, которые включены последовательно и получают питание от электромашинного усилителя ЭМУ – рис. 9.4. Таким образом, рабочие скорости ЭП регулируются изменением напряжения, подводимого к якорным цепям двигателей Д1 и Д2.

Обмотки 1ШОД и 2ШОД двигателей Д1 и Д2, включенные последовательно, и электромагнитных тормозов 1Т и 2Т, включенные параллельно, получают питание от возбудителя В – рис. 9.5.

Кроме того, к возбудителю В подключены обмотки смещения магнитных усилителей 1МУ5…4МУ5.

Регулирование токов возбуждения в обмотках 1ШОГ и 2ШОГ генераторов Г1 и Г2 осуществляется изменением токов в обмотках 1ЭМУ5…4ЭМУ5 – рис. 9.4.

Магнитные усилители 3МУ и 4МУ выполняют одинаковые функции (один – в режиме «выбирать», другой – «травить»). Обмотки 3МУ1 и 4МУ1 (рис. 9.6) формируют положительные ОС, а 3МУ6 и 4МУ6 – отрицательные.

Реле контроля спуска РКС (рис. 9.4) предназначено для защиты редуктора от перегрузки при передаче энергии в режимах рекуперативных торможений, отключая в этих случаях обмотку КН – рис. 9.5.

0 (нулевое) положение КК. После включения всех электромашинных преобразователей ЭП в цепи контактора КН замкнутся блок-контакты реле контроля РК. Контактор КН получает питание, подготавливая схемы управления ЭП к работе.

Шунтовые обмотки возбуждения 1ШОГ и 2ШОГ генераторов Г1 и Г2 подключены к якорю генератора Г1 для подавления «стояночного» тока главного контура – рис. 9.4.

В управляющих обмотках1ЭМУ и 3ЭМУ электромашинного усилителя, подключенных к выходам магнитных усилителей 1МУ и 2МУ (рис. 9.6), протекают одинаковые токи. Создаваемые ими магнитные потоки направлены встречно, и при нахождении рукоятки КК в нулевом положении результирующий магнитный поток равен нулю. В этом случае ЭДС электромашинного усилителя также равна нулю.

Режимы работы. Поворачивается ротор сельсин-трансформатора БКК. Размыкается контакт 1БКК, вводя в действие посредством контакта 1КН нулевую защиту – рис. 9.5. Контакт 2БКК замыкается. Срабатывает через выпрямитель 9ВС контактор «поля» КП, отсоединяя контактами КП1 и КП2 шунтовые ОВ генераторов 1ШОГ и 2ШОГ от якоря генератора Г1 и подсоединяя контактами КП3 и КП4 эти обмотки к якорю ЭМУ – рис. 9.4. Контактор «поля» КП своим замыкающимся контактом 5КП (рис. 9.5) подает питание на контакторы электромагнитных тормозов 1КТ и 2КТ. Обмотки тормозов 1Т и 2Т получают питание и ИД Д1 и Д2 растормаживаются. По обмоткам магнитных усилителей 1МУ7 и 2МУ7 (рис. 9.6) протекает ток определенной полярности. Под влиянием тока управления магнитный усилитель 1МУ увеличивает ток в обмотке 1ЭМУ. Одновременно в обмотке 3ЭМУ магнитным усилителем 2МУ ток уменьшается – рис. 9.6. Обмотки 1ШОГ и 2ШОГ получают напряжение. Генераторы Г 1и Г2 возбуждаются, вырабатывая напряжение определенной полярности и величины, и по главному контуру (рис. 9.4) протекает ток. Кроме того, контактор 2КТ своим контактом шунтирует экономическое сопротивление 12ЭС в цепи ОВ 1ШОД, 2ШОД двигателей Д1 и Д2, доводя магнитные потоки ИД до установившихся (номинальных) значений. Двигатели Д1 и Д2 (рис. 9.4) получают питание и ЭП работает в режиме «травить» или «выбирать». Схема имеет «жесткую» отрицательную ОС по напряжению генераторов посредством подключения к якорю генератора Г1 обмоток 1МУ6 и 2МУ6 магнитных усилителей – рис. 9.4. Величиной сопротивления R9 регулируются ЭДС генераторов Г1 и Г2 на холостом ходу. Для формирования необходимых «мягких» характеристик ИД в схеме предусмотрена «жесткая» отрицательная ОС, осуществляемая обмоткой 4ЭМУ – рис. 9.6. Обмотка 4ЭМУ получает питание от магнитных усилителей 3МУ (в режиме «выбирать») и 4МУ (в режиме «травить»). Неуправляемый выпрямитель ВК1 (рис. 9.4) обеспечивает протекание тока через обмотку 4МУ7 в режиме «травить», а ВК2 – через обмотку 3МУ7 в режиме «выбирать». При помощи сопротивлений R7 и R8 устанавливаются управляющие токи, изменяющие раздельно формы механических характеристик ИД для режимов «травить» и «выбирать». С целью улучшения динамических характеристик обмотки ЭМУ2, 1МУ5…4МУ5 (рис. 9.4) включены в диагональ моста, образованного резисторами R1…R3 и обмотками 1ШОГ и 2ШОГ.

При режимах рекуперативного торможения, возможных в случаях травления, направление тока в главном контуре изменяется на противоположное. Выпрямитель ВК1 отключает обмотку 4МУ7 (рис. 9.4) и схема работает без отрицательной ОС по току главного контура. В этих случаях механические характеристики ИД формируются более жесткими.

Судовой многоскоростной электропривод системы «управляемый выпрямитель – двигатель постоянного тока»

Обоснованную конкуренцию по ряду технических характеристик ЭП систем Г–Д составляют приводы, выполненные по системам ТП–Д

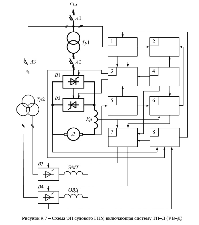
На рис. 9.7 представлен реверсивный вариант ЭП системы ТП–Д, включающий систему УВ–Д, разработанный ЦНИИМФ и установленный в ЭП ГПУ на теплоходе «Северолес».

Схема ЭП судового ГПУ, включающая систему ТП–Д (УВ–Д)

Примечание: буквенно-цифровые обозначения на схеме ЭП ГПУ (рис. 9.7) соответствуют обозначениям, представленным в технической литературе.

Силовая часть схемы, представленной на рис. 9.7: А1, А2 – автоматические воздушные выключатели (АВВ); Тр1 – трехфазный разделительно-согласующий трансформатор; В1, В2 – трехфазные управляемые выпрямители; Кр – катодный реактор; Д – якорь двигателя постоянного тока.

Схема управления: А3 – АВВ; Тр2 – однофазный разделительно-согласующий трансформатор, включающий две раздельные вторичные обмотки; В3, В4 – однофазные управляемые выпрямители; ЭМТ – обмотка электромагнитного тормоза; ОВД – обмотка возбуждения ЭД постоянного тока; 1 – блок питания и генератор импульсов; 2 – блок синхронизированной линии задержки; 3 – блок распределения импульсов; 4 – пост управления; 5 – дискриминатор режимов; 6 – блок управляющего усилителя; 7 – блок управления ОВД двигателя и обмотки электромагнитного тормоза; 8 – блок защиты.

Работа схемы. Разделительно-согласующий трансформатор Тр1 предназначен для согласования напряжения судовой сети с напряжением двигателя Д, а также для ограничений выпрямленных токов короткого замыкания и снижений искажений форм синусоидальных напряжений при работе ЭП.

Катодный реактор Кр сглаживает пульсации выпрямленного напряжения. Кроме того, индуктивность реактора увеличивает зону непрерывного тока, расширяя диапазон регулирования угловой скорости вала двигателя Д.

Реверс ЭД постоянного тока осуществляется по якорной цепи посредством двух трехфазных мостовых схем управляемых выпрямителей В1 и В2, включенных встречно-параллельно.

Такая схема взаимного соединения якоря двигателя Д и управляемых выпрямителей В1 и В2 обеспечивает относительно высокие динамические показатели, необходимые для ЭП механизмов подъема ГПУ с большой частотой включений, и позволяет осуществлять рекуперативное торможение с отдачей электрической энергии в судовую сеть при реверсе или остановке ЭД.

Представленная на рис. 9.7 схема ЭП системы УВ–Д обеспечивает двухзонное зависимое регулирование угловой скорости вала двигателя Д: изменением подводимого к якорю двигателя Д выпрямленного посредством выпрямителей В1 или В2 напряжения Ud от нуля до номинального значения при номинальном токе возбуждения – первая зона; изменением магнитного потока Ф обмотки ОВД двигателя нереверсивным управляемым выпрямителем В4 при неизменном напряжении на якоре двигателя Д – вторая зона.

Уменьшение тока возбуждения допускается только в диапазоне изменения тока якоря двигателя Д от значений холостого хода до номинального.

Обмотки электромагнитного тормоза ЭМТ и возбуждения ЭД ОВД получают питание от трансформатора Тр2, имеющего две независимые вторичные обмотки.

Для более быстрого растормаживания электромагнитного тормоза схема нереверсивного однофазного управляемого мостового выпрямителя В3 обеспечивает подачу на ЭМТ повышенного форсирующего напряжения на время до 0,7 с, после чего напряжение снижается до напряжения удержания тормоза в расторможенном состоянии.

Защита ЭП от токов короткого замыкания и перегрузок обеспечивается выключателями А1…А3 (рис. 9.7), имеющими тепловые и электромагнитные расцепители.

Кроме того, в схеме ЭП предусмотрены следующие виды защит: нулевая, предотвращающая самозапуск двигателя Д; от перегрузки, посредством ограничения тока якоря ЭД; от превышения угловой скорости двигателя Д; от обрыва цепи возбуждения ЭД. Указанные защиты осуществляются блоком защиты 8 – рис. 9.7.

По сравнению с ЭП системы Г–Д представленная схема позволяет: сократить расход потребляемой ЭЭ за счет более высокого КПД, возможности отдачи энергии в сеть в режимах рекуперативных торможений; снизить трудозатраты на техническое обслуживание ЭП; повысить производительность грузовых работ.

Несмотря на указанные достоинства, внедрение ЭП систем ТП–Д в судовую электротехнику в будущем будет весьма ограничено, так как не исключает полностью наличие машин постоянного тока

Типовая электрическая схема судового многоскоростного электропривода с релейно-контакторной системой управления

В настоящее время наибольшее распространение получили редукторные ЭП с трехфазными АД, имеющими отдельные или полюсопереключаемые обмотки статоров и короткозамкнутые роторы. Регулирование рабочих скоростей в таких ЭП осуществляется изменением числа пар полюсов обмоток статора АД.

Для управления статическими и динамическими режимами работ ЭП используются контроллерные и Р-К схемы управления. В таких ЭП при регулировании рабочих скоростей ЭД работают на естественных механических характеристиках.

Контроллеры предназначены для коммутаций силовых цепей (питания обмоток статоров ЭД и электромагнитных тормозов).

Релейно-контакторные СУ включают КК и магнитные станции (магнитные контроллеры). КК предназначены для коммутаций цепей управления электромагнитных аппаратов (контакторов и реле) магнитных станций. Магнитные станции предназначены для коммутаций силовых цепей (питания обмоток статора ЭД и электромагнитного тормоза).

Большинство ЭД многоскоростных ЭП имеют тормоза нормально заторможенного типа, т.е. в обесточенном состоянии тормоза привод механически заторможен. Нашли широкое применение электромагнитные тормоза постоянного тока и переменного тока. Применяются и тормоза с гидротолкателями.

К основным достоинствам электромагнитных тормозов постоянного тока следует отнести то, что величины токов в обмотках не зависят от величин воздушных зазоров, т.е. в случаях механических заеданий подвижных частей тормозов при их растормаживаниях не будет увеличения токов в обмотках и они не сгорят.

К недостаткам электромагнитных тормозов постоянного тока относится относительная сложность схем управления тормозами, включающих, как правило, наряду с контактными коммутационными аппаратами понижающие трансформаторы, выпрямители и схемы, обеспечивающие форсировки при растормаживании ЭД.

Основным достоинством электромагнитных тормозов переменного тока является простота технической реализации схем управления тормозами, включающих в большинстве случаев только контакторы.

Недостатком использования электромагнитных тормозов переменного тока является то, что величины токов в обмотках зависят от величин воздушных зазоров, т.е. с увеличением воздушных зазоров ток в обмотках тормозов будет возрастать. Таким образом, в случаях механических заеданий при растормаживании тормоз может сгореть.

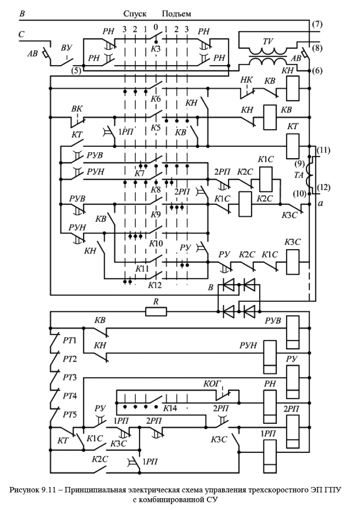
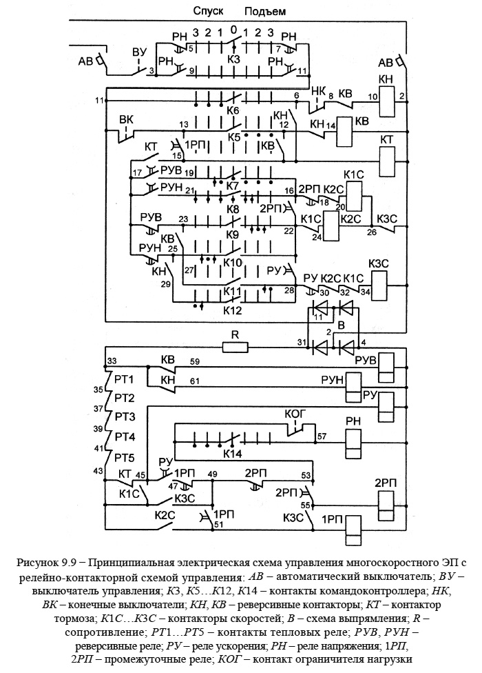
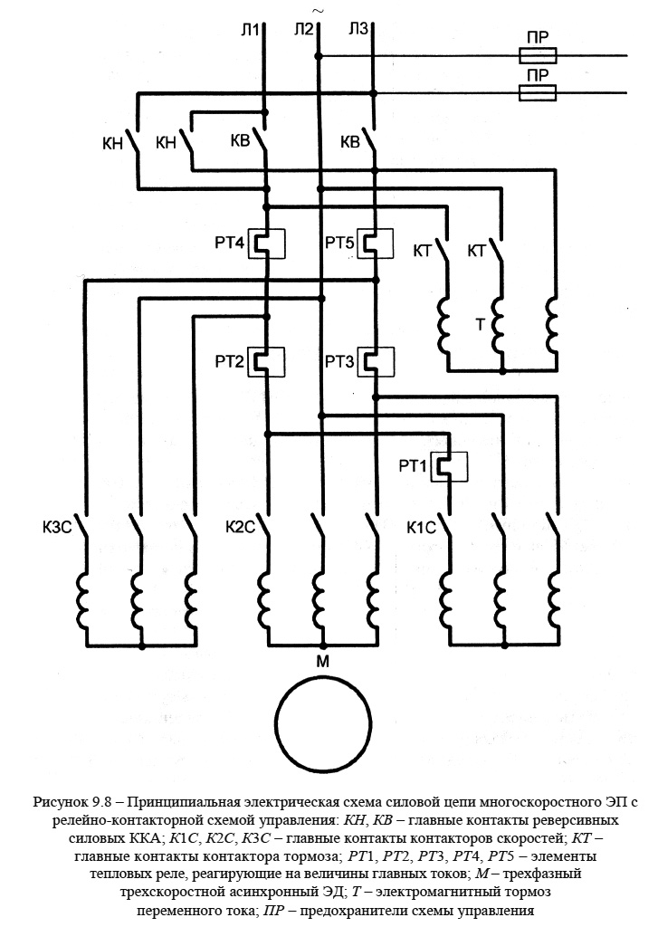
На рис. 9.8 и 9.9 приведена принципиальная электрическая схема реверсивного судового многоскоростного ЭП механизма подъема ГПУ, которая наиболее полно отражает особенности СУ многоскоростных ЭП. Такая схема осуществляет управление трехфазным трехскоростным АД с тремя отдельными обмотками статора и короткозамкнутым ротором. Она обеспечивает автоматизированный пуск и разгон, работу на установившихся скоростях, торможение, остановку и реверс ЭП.

Пуск и разгон ЭП до наибольшей скорости всегда осуществляется в три ступени независимо от скорости перевода рукоятки КК.

Торможение ЭП с наибольшей скорости до полной остановки обеспечивается электрически и механически. Торможение с наибольшей скорости до наименьшей осуществляется электрически за счет работы ЭД бóльшую часть времени в режиме рекуперативного торможения всегда в две ступени независимо от скорости перевода рукоятки КК. После отключения ЭД для полной и быстрой остановки ЭП накладывается механический тормоз нормально заторможенного типа.

Принципиальная электрическая схема силовой цепи многоскоростного ЭП с релейно-контакторной схемой управления

Принципиальная электрическая схема управления многоскоростного ЭП с
релейно-контакторной схемой управления

Примечание: буквенно-цифровые обозначения на схеме ЭП ГПУ (рис. 9.8 и 9.9) соответствуют обозначениям, представленным в технической литературе.

Реверс ЭП с наибольшей скорости одного направления до наибольшей скорости другого направления осуществляется в пять ступеней независимо от скорости перевода рукоятки КК. Реверс включает в себя торможение ЭП с наибольшей скорости одного направления до полной остановки в две ступени и пуск с разгоном ЭП до наибольшей скорости другого направления в три ступени.

СУ обеспечивает защиты ЭД: от перегрузок по току – тепловыми реле РТ1…РТ5; нулевую – при помощи реле напряжения РН; от коротких замыканий – автоматическим выключателем АВ; от превышения нагрузки – контактом ограничителя нагрузки КОГ; от недопустимой слабины шкентеля – конечным выключателем НК; от подъема стрелы шкентелем – конечным выключателем ВК.

В табл. 9.1 указаны положения контактов КК при работе на различных скоростях многоскоростного ЭП.

Положения контактов КК многоскоростного ЭП

Примечание: в табл. 9.1 «+» – контакт замкнут; «–» – контакт разомкнут.

Схема многоскоростного ЭП (рис. 9.8 и 9.9) работает следующим образом.

0 (нулевое) положение КК. Замкнуты контакты К3, К7, К8 и К14 КК.

При включении автомата АВ и выключателя управления ВУ КК получает напряжение питания однофазная мостовая схема выпрямления В через замкнутый контакт К3 КК и контакты на размыкание 3-5 и 7-11 реле напряжения РН.

От схемы выпрямления получают питание: реверсивное реле РУВ – через блок-контакт на размыкание 33-59 реверсивного контактора КВ; реверсивное реле РУН – через блок-контакт на размыкание 33-61 реверсивного контактора КН; реле ускорения РУ – через контакты на размыкание 33-35 теплового реле РТ1, 35-37 теплового реле РТ2, 37-39 теплового реле РТ3, 39-41 теплового реле РТ4, 41-43 теплового реле РТ5, блок-контакт на размыкание 43-45 контактора тормоза КТ.

Реле РУВ и РУН включаются и без выдержки времени замыкают свои контакты 17-19 и 17-21 в цепи контактора первой скорости К1С, размыкают свои контакты 17-23 и 17-25 в цепи контактора второй скорости К2С, подготавливая ЭП к работе на первой скорости. Одновременно включается реле РУ и без выдержки времени размыкает контакт 28-30 в цепи контактора третьей скорости К3С, замыкает контакты 22-28 и 45-47 в разветвленной цепи.

После включения реле РУ получает питание реле напряжения РН через контакты на размыкание 33-43 тепловых реле РТ1...РТ5, блок-контакт на размыкание 43-45 контактора тормоза КТ, замкнутый контакт 45-47 включившегося реле РУ, контакт на размыкание 47-49 промежуточного реле 1РП, контакт на размыкание 49-53 промежуточного реле 2РП, замкнутый контакт К14 КК.

Реле РН включается и без выдержки времени размыкает свои контакты 3-5, 7-11 и замыкает контакты 3-9 и 9-11 в цепи управления ЭП, шунтируя контакт К3 КК. ЭП готов к работе.

Работа ЭП возможна при «медленном» или «быстром» переводе рукоятки КК. При «медленном» переводе рукоятки КК ЭД успевает достигать всех установившихся скоростей (статических режимов), а при «быстром» – только тех установившихся скоростей, которые соответствуют фиксированным положениям рукоятки КК.

Работа ЭП при «медленном» переводе рукоятки КК.

Подъем груза. Работа ЭП на подъем возможна только при замкнутом контакте 53-57 ограничителя нагрузки КОГ, включенном параллельно контакту К14 КК – рис. 9.9.

0→1 положение КК. Размыкаются контакты К3 и К14, замыкается контакт К5 КК.

Получает питание реверсивный контактор КВ через контакт на размыкание 11-13 конечного выключателя ВК, замкнутый контакт К5 КК, блок- контакт на размыкание 12-14 реверсивного контактора КН. Контактор КВ включается и замыкает свои главные контакты в силовой цепи, блок-контакты 12-15 в цепи контактора тормоза КТ и 23-27 в разветвленной цепи, размыкает блок-контакты 8-10 в цепи реверсивного контактора КН и 33-59 в цепи реверсивного реле РУВ.

После включения контактора КВ получает питание контактор тормоза КТ через замкнутый блок-контакт 12-15 контактора КВ и обесточивается реле РУВ из-за размыкания блок-контакта 33-59 контактора КВ. Контактор КТ включается и замыкает свои главные контакты в цепи электромагнитного тормоза Т, блок-контакт 15-17 в цепи контакторов скоростей и размыкает блок- контакт 43-45 в разветвленной цепи.

После включения контактора КТ получает питание контактор первой скорости К1С через блок-контакт 15-17 контактора КТ, контакт 17-21 реле РУН, контакт К8 КК, контакт 16-18 реле 2РП, блок-контакт 18-20 контактора второй скорости К2С, блок-контакт 26-2 контактора третьей скорости К3С. Контактор К1С включается и замыкает свои главные контакты в силовой цепи, блок-контакт 43-45 в разветвленной цепи, размыкает блок-контакты 22-24 в цепи контактора второй скорости К2С и 32-34 в цепи контактора третьей скорости К3С.

ЭП включается и работает на первой скорости. Реле РУВ отключается и с выдержкой времени размыкает свой контакт 17-19 в цепи контактора первой скорости К1С и замыкает контакт 17-23 в цепи контакторов К2С и К3С.

1→2 положение КК. Размыкается контакт К8 и замыкается контакт К9 КК.

Обесточивается контактор первой скорости К1С и размыкает свои главные контакты в силовой цепи, блок-контакт 43-45 в разветвленной цепи, замыкает блок-контакты 22-24 в цепи контактора второй скорости К2С и 32-34 в цепи контактора третьей скорости К3С. Включается контактор второй скорости К2С и замыкает свои главные контакты в силовой цепи, блок-контакт 43-51 в разветвленной цепи и размыкает свои блок-контакты 18-20 в цепи контактора первой скорости К1С и 30-32 в цепи катушки контактора третьей скорости К3С.

ЭП переключается и работает на второй скорости. После включения контактора К2С получает питание промежуточное реле 1РП через замкнутый блок-контакт 43-51 контактора К2С. Реле 1РП включается и без выдержки времени замыкает контакты 13-15 и 49-51 в разветвленных цепях и размыкает контакт 47-49 в цепи реле РУ. Реле РУ отключается и с выдержкой времени размыкает контакты 22-28 и 45-47 в разветвленных цепях и замыкает контакт 28-30 в цепи контактора третьей скорости К3С.

2→3 положение КК. Размыкается контакт К9 и замыкается контакт К11 КК.

Обесточивается контактор второй скорости К2С и размыкает свои главные контакты в силовой цепи, блок-контакт 43-51 в разветвленной цепи, замыкает блок-контакты 18-20 в цепи контактора первой скорости К1С и 30-32 в цепи контактора третьей скорости К3С.

Включается контактор третьей скорости К3С и замыкает свои главные контакты в силовой цепи, блок-контакты 43-49 и 51-55 в разветвленных цепях и размыкает свой блок-контакт 26-2 в цепи контакторов первой и второй скоростей К1С и К2С.

ЭП переключается и работает на третьей скорости. После включения контактора К3С получает питание промежуточное реле 2РП через замкнутый блок-контакт 51-55 контактора К3С. Реле 2РП включается и без выдержки времени замыкает контакты 16-22 и 53-55 в разветвленных цепях и размыкает контакты 16-18 в цепи контактора первой скорости К1С и 49-53 в разветвленной цепи.

3→2 положение КК. Размыкается контакт К11 и замыкается контакт К9 КК.

Обесточивается контактор третьей скорости К3С и размыкает свои главные контакты в силовой цепи, блок-контакты 43-49 и 51-55 в разветвленных цепях, замыкает блок-контакт 26-2 в цепи контакторов первой и второй скоростей К1С и К2С.

Включается контактор второй скорости К2С и замыкает свои главные контакты в силовой цепи, блок-контакт 43-51 в разветвленной цепи и размыкает свои блок-контакты 18-20 в цепи контактора первой скорости К1С и 30-32 в цепи контактора третьей скорости К3С.

ЭП переключается и работает на второй скорости. После отключения контактора К3С обесточивается промежуточное реле 2РП. Реле 2РП отключается и с выдержкой времени размыкает контакты 16-22 и 53-55 в разветвленных цепях и замыкает контакты 16-18 в цепи контактора первой скорости К1С и 49-53 в разветвленной цепи.

2→1 положение КК. Размыкается контакт К9 и замыкается контакт К8 КК.

Обесточивается контактор второй скорости К2С и размыкает свои главные контакты в силовой цепи, блок-контакт 43-51 в разветвленной цепи, замыкает блок-контакты 18-20 в цепи контактора первой скорости К1С и 30-32 в цепи контактора третьей скорости К3С.

Включается контактор первой скорости К1С и замыкает свои главные контакты в силовой цепи, блок-контакты 43-45 в разветвленной цепи и размыкает блок-контакты 22-24 в цепи контактора второй скорости К2С и 32-34 в цепи контактора третьей скорости К3С.

ЭП переключается и работает на первой скорости. После отключения контактора К2С обесточивается промежуточное реле 1РП и с выдержкой времени размыкает контакты 13-15 и 49-51 в разветвленных цепях и замыкает контакт 47-49 в разветвленной цепи. После включения контактора К1С получает питание реле РУ. Реле РУ включается и без выдержки времени размыкает контакт 28-30 в цепи контактора третьей скорости К3С, замыкает контакты 22-28 и 45-47 в разветвленной цепи.

1→0 положение КК. Размыкается контакт К5 и замыкаются контакты К3 и К14 КК.

Обесточивается реверсивный контактор КВ и размыкает свои главные контакты в силовой цепи, блок-контакты 12-15 в цепи контакторов первой скорости К1С и электромагнитного тормоза КТ, блок-контакты 23-27 в разветвленной цепи и замыкает блок-контакты 8-10 в цепи реверсивного контактора КН, 33-59 в цепи реверсивного реле РУВ. Одновременно обесточиваются контакторы первой скорости К1С и тормоза КТ.

Контактор К1С отключается и размыкает свои главные контакты в силовой цепи, блок-контакт 43-45 в разветвленной цепи и замыкает блок- контакты 22-24 в цепи контактора второй скорости К2С и 32-34 в цепи контактора третьей скорости К3С.

Контактор КТ отключается и размыкает свои главные контакты в силовой цепи, блок-контакт 15-17 в разветвленной цепи и замыкает блок-контакт 43-45 в разветвленной цепи.

ЭП отключается и механически затормаживается. После отключения реверсивного контактора КВ получает питание реле РУВ и без выдержки времени замыкает свой контакт 17-19 в цепи контактора первой скорости К1С и размыкает свой контакт 17-23 в цепи катушек контакторов скоростей К2С и К3С.

Спуск груза – рис. 9.8, 9.9.

0→1 положение КК. Размыкается контакт К3, замыкается контакт К6 КК.

Получает питание реверсивный контактор КН через замкнутый контакт К6 КК, контакт на размыкание 6-8 конечного выключателя НК, блок-контакт на размыкание 8-10 реверсивного контактора КВ. Контактор КН включается и замыкает свои главные контакты в силовой цепи, блок-контакты 6-15 в цепи контактора тормоза КТ, блок-контакты 25-29 в разветвленной цепи и размыкает блок-контакты 12-14 в цепи реверсивного контактора КВ, 33-61 в цепи реверсивного реле РУН. После включения контактора КН получает питание контактор тормоза КТ через замкнутый блок-контакт 6-15 контактора КН и обесточивается реле РУН из-за размыкания блок-контакта 33-61 контактора КН.

Контактор КТ включается и замыкает свои главные контакты в цепи электромагнитного тормоза Т, блок-контакт 15-17 в цепи контакторов скоростей и размыкает блок-контакт 43-45 в разветвленной цепи. После включения контактора КТ получает питание контактор первой скорости К1С через блок-контакт 15-17 контактора КТ, контакт 17-19 реле РУВ, контакт К7 КК, контакт 16-18 реле 2РП, блок-контакт 18-20 контактора второй скорости К2С, блок-контакт 26-2 контактора третьей скорости К3С.

Контактор К1С включается и замыкает свои главные контакты в силовой цепи, блок-контакт 43-45 в разветвленной цепи, размыкает блок-контакты 22-24 в цепи контактора второй скорости К2С и 32-34 в цепи контактора третьей скорости К3С.

ЭП включается и работает на первой скорости. Реле РУН отключается и с выдержкой времени размыкает свой контакт 17-21 в цепи контактора первой скорости К1С и замыкает контакт 17-25 в цепи катушек контакторов скоростей К2С и К3С.

1→2 положение КК. Размыкается контакт К7 и замыкается контакт К10 КК.

Обесточивается контактор первой скорости К1С и размыкает свои главные контакты в силовой цепи, блок-контакт 43-45 в разветвленной цепи, замыкает блок-контакты 22-24 в цепи контактора второй скорости К2С и 32-34 в цепи контактора третьей скорости К3С.

Включается контактор второй скорости К2С и замыкает свои главные контакты в силовой цепи, блок-контакт 43-51 в разветвленной цепи и размыкает свои блок-контакты 18-20 в цепи контактора первой скорости К1С и 30-32 в цепи контактора третьей скорости К3С.

ЭП переключается и работает на второй скорости. После включения контактора К2С получает питание промежуточное реле 1РП через замкнутый блок-контакт 43-51 контактора К2С. Реле 1РП включается и без выдержки времени замыкает контакты 13-15 и 49-51 в разветвленных цепях и размыкает контакт 47-49 в цепи реле РУ. Реле РУ отключается и с выдержкой времени размыкает контакты 22-28 и 45-47 в разветвленных цепях и замыкает контакт 28-30 в цепи контактора третьей скорости К3С.

2→3 положение КК. Размыкается контакт К10 и замыкается контакт К12 КК.

Обесточивается контактор второй скорости К2С и размыкает свои главные контакты в силовой цепи, блок-контакт 43-51 в разветвленной цепи, замыкает блок-контакты 18-20 в цепи контактора первой скорости К1С и 30-32 в цепи контактора третьей скорости К3С.

Включается контактор третьей скорости К3С и замыкает свои главные контакты в силовой цепи, блок-контакты 43-49 и 51-55 в разветвленных цепях и размыкает свой блок-контакт 26-2 в цепи контакторов первой и второй скоростей К1С и К2С.

ЭП переключается и работает на третьей скорости. После включения контактора К3С получает питание промежуточное реле 2РП через замкнутый блок-контакт 51-55 контактора К3С. Реле 2РП включается и без выдержки времени замыкает контакты 16-22 и 53-55 в разветвленных цепях и размыкает контакты 16-18 в цепи катушки контактора первой скорости К1С и 49-53 в разветвленной цепи.

3→2 положение КК. Размыкается контакт К12 и замыкается контакт К10 КК.

Обесточивается контактор третьей скорости К3С и размыкает свои главные контакты в силовой цепи, блок-контакты 43-49 и 51-55 в разветвленных цепях, замыкает блок-контакт 26-2 в цепи контакторов первой и второй скоростей К1С и К2С.

Включается контактор второй скорости К2С и замыкает свои главные контакты в силовой цепи, блок-контакт 43-51 в разветвленной цепи и размыкает свои блок-контакты 18-20 в цепи контактора первой скорости К1С и 30-32 в цепи контактора третьей скорости К3С.

ЭП переключается и работает на второй скорости. После отключения контактора К3С обесточивается промежуточное реле 2РП. Реле 2РП отключается и с выдержкой времени размыкает контакты 16-22 и 53-55 в разветвленных цепях и замыкает контакты 16-18 в цепи контактора первой скорости К1С и 49-53 в разветвленной цепи.

2→1 положение КК. Размыкается контакт К10 и замыкается контакт К7 КК.

Обесточивается контактор второй скорости К2С и размыкает свои главные контакты в силовой цепи, блок-контакт 43-51 в разветвленной цепи, замыкает блок-контакты 18-20 в цепи контактора первой скорости К1С и 30-32 в цепи контактора третьей скорости К3С.

Включается контактор первой скорости К1С и замыкает свои главные контакты в силовой цепи, блок-контакты 43-45 в разветвленной цепи и размыкает блок-контакты 22-24 в цепи контактора второй скорости К2С и 32-34 в цепи контактора третьей скорости К3С.

ЭП переключается и работает на первой скорости. После отключения контактора К2С обесточивается промежуточное реле 1РП и с выдержкой времени размыкает контакты 13-15 и 49-51 в разветвленных цепях и замыкает контакт 47-49 в разветвленной цепи. После включения контактора К1С получает питание реле РУ. Реле РУ включается и без выдержки времени размыкает контакт 28-30 в цепи контактора третьей скорости К3С, замыкает контакты 22-28 и 45-47 в разветвленной цепи.

1→0 положение КК. Размыкается контакт К6 и замыкается контакт К3 КК.

Обесточивается реверсивный контактор КН и размыкает свои главные контакты в силовой цепи, блок-контакты 6-15 в цепи контакторов первой скорости К1С и электромагнитного тормоза КТ, блок-контакты 25-29 в разветвленной цепи и замыкает блок-контакты 12-14 в цепи реверсивного контактора КВ, 33-61 в цепи реверсивного реле РУН. Одновременно обесточиваются контакторы первой скорости К1С и тормоза КТ.

Контактор К1С отключается и размыкает свои главные контакты в силовой цепи, блок-контакт 43-45 в разветвленной цепи и замыкает блок-контакты 22-24 в цепи контактора второй скорости К2С и 32-34 в цепи контактора третьей скорости К3С.

Контактор КТ отключается и размыкает свои главные контакты в силовой цепи, блок-контакт 15-17 в разветвленной цепи и замыкает блок-контакт 43-45 в разветвленной цепи.

ЭП отключается и механически затормаживается. После отключения реверсивного контактора КВ получает питание реле РУВ и без выдержки времени замыкает свой контакт 17-19 в цепи контактора первой скорости К1С и размыкает свой контакт 17-23 в цепи катушек контакторов К2С и К3С.

Работа ЭП при «быстром» переводе рукоятки КК.

Подъем груза. Работа ЭП на подъем возможна только при замкнутом контакте 53-57 КОГ ограничителя нагрузки, включенном параллельно контакту К14 КК – рис. 9.9.

0→3 положение КК. Размыкаются контакты К3, К8 и К14, замыкаются контакты К5 и К11 КК.

Получает питание реверсивный контактор КВ через контакт на размыкание 11-13 конечного выключателя ВК, замкнутый контакт К5 КК, блок- контакт на размыкание 12-14 реверсивного контактора КН.

Контактор КВ включается и замыкает свои главные контакты в силовой цепи, блок-контакты 12-15 в цепи контактора тормоза КТ и 23-27 в разветвленной цепи, размыкает блок-контакты 8-10 в цепи реверсивного контактора КН и 33-59 в цепи реверсивного реле РУВ. После включения контактора КВ получает питание контактор тормоза КТ через замкнутый блок- контакт 12-15 контактора КВ и обесточивается реле РУВ из-за размыкания блок-контакта 33-59 контактора КВ.

Контактор КТ включается и замыкает свои главные контакты в цепи электромагнитного тормоза Т, блок-контакт 15-17 в цепи контакторов скоростей и размыкает блок-контакт 43-45 в разветвленной цепи. После включения контактора КТ получает питание контактор первой скорости К1С через замкнутый блок-контакт 15-17 контактора КТ, контакт 17-19 реле РУВ, контакт К7 КК, контакт 16-18 реле 2РП, блок-контакт 18-20 контактора второй скорости К2С, блок-контакт 26-2 контактора третьей скорости К3С.

Контактор К1С включается и замыкает свои главные контакты в силовой цепи, блок контакт 43-45 в разветвленной цепи, размыкает блок-контакты 22-24 в цепи контактора второй скорости К2С и 32-34 в цепи контактора третьей скорости К3С.

ЭП включается и начинает работать на первой скорости. Реле РУВ отключается и с выдержкой времени размыкает свой контакт 17-19 в цепи контактора первой скорости К1С и замыкает контакт 17-23 в цепи контакторов К2С и К3С.

Контактор первой скорости К1С обесточивается и размыкает свои главные контакты в силовой цепи, блок-контакт 43-45 в разветвленной цепи, замыкает блок-контакты 22-24 в цепи контактора второй скорости К2С и 32-34 в цепи контактора третьей скорости К3С. Получает питание контактор второй скорости К2С через замкнутый контакт 17-23 реле РУВ, замкнутый блок- контакт 23-27 реверсивного контактора КВ, контакт К11 КК, замкнутый контакт 22-28 реле РУ и замыкает свои главные контакты в силовой цепи, блок- контакт 43-51 в разветвленной цепи и размыкает свои блок-контакты 18-20 в цепи контактора первой скорости К1С и 30-32 в цепи контактора третьей скорости К3С.

ЭП переключается и работает на второй скорости. После включения контактора К2С получает питание промежуточное реле 1РП через замкнутый блок-контакт 43-51 контактора К2С. Реле 1РП включается и без выдержки времени замыкает контакты 13-15 и 49-51 в разветвленных цепях и размыкает контакт 47-49 в цепи реле РУ. Реле РУ отключается и с выдержкой времени размыкает контакты 22-28 в цепи контактора К2С и 45-47 в разветвленной цепи и замыкает контакт 28-30 в цепи контактора третьей скорости К3С.

Контактор второй скорости К2С обесточивается и размыкает свои главные контакты в силовой цепи, блок-контакт 43-51 в разветвленной цепи, замыкает блок-контакты 18-20 в цепи контактора первой скорости К1С и 30-32 в цепи контактора третьей скорости К3С.

Включается контактор третьей скорости К3С через замкнутый блок- контакт 30-32 контактора К2С и замыкает свои главные контакты в силовой цепи, блок-контакты 43-49 и 51-55 в разветвленных цепях и размыкает свой блок-контакт 26-2 в цепи контакторов первой и второй скоростей К1С и К2С.

ЭП переключается и работает на третьей скорости. После включения контактора К3С получает питание промежуточное реле 2РП через замкнутый блок-контакт 51-55 контактора К3С. Реле 2РП включается и без выдержки времени замыкает контакты 16-22 и 53-55 в разветвленных цепях и размыкает контакты 16-18 в цепи контактора первой скорости К1С и 49-53 в разветвленной цепи.

3→0 положение КК. Размыкаются контакты К5 и К11, замыкаются контакты К3, К8 и К14 КК.

Обесточивается контактор третьей скорости К3С и размыкает свои главные контакты в силовой цепи, блок-контакты 43-49 и 51-55 в разветвленных цепях, замыкает блок-контакт 26-2 в цепи катушек контакторов первой и второй скоростей К1С и К2С.

Включается контактор второй скорости К2С и замыкает свои главные контакты в силовой цепи, блок-контакт 43-51 в разветвленной цепи и размыкает свои блок-контакты 18-20 в цепи контактора первой скорости К1С и 30-32 в цепи контактора третьей скорости К3С.

ЭП переключается и работает на второй скорости. После отключения контактора третьей скорости К3С обесточивается промежуточное реле 2РП. Реле 2РП отключается и с выдержкой времени размыкает контакты 16-22 и 53- 55 в разветвленных цепях и замыкает контакты 16-18 в цепи контактора первой скорости К1С и 49-53 в разветвленной цепи.

Контактор второй скорости К2С обесточивается и размыкает свои главные контакты в силовой цепи, блок-контакт 43-51 в разветвленной цепи, замыкает блок-контакты 18-20 в цепи контактора первой скорости К1С и 30-32 в цепи контактора третьей скорости К3С.

Включается контактор первой скорости К1С и замыкает свои главные контакты в силовой цепи, блок-контакты 43-45 в разветвленной цепи и размыкает блок-контакты 22-24 в цепи контактора второй скорости К2С и 32-34 в цепи контактора третьей скорости К3С.

ЭП переключается и работает на первой скорости. После отключения контактора второй скорости К2С обесточивается промежуточное реле 1РП. Реле 1РП отключается и с выдержкой времени размыкает контакты 13-15 и 49- 51 в разветвленных цепях и замыкает контакты 47-49 в разветвленной цепи.

После включения контактора К1С получает питание реле РУ. Реле РУ включается и без выдержки времени замыкает контакты 22-28 и 45-47 в разветвленных цепях и размыкает контакт 28-30 в цепи контактора третьей скорости К3С. После отключения реле 1РП обесточиваются реверсивный контактор КВ, контактор первой скорости К1С и контактор электромагнитного тормоза КТ.

Реверсивный контактор КВ отключается и размыкает свои главные контакты в силовой цепи, блок-контакты 12-15 в цепи контакторов первой скорости К1С и электромагнитного тормоза КТ, блок-контакты 23-27 в разветвленной цепи и замыкает блок-контакты 8-10 в цепи реверсивного контактора КН, 33-59 в цепи реверсивного реле РУВ.

Контактор первой скорости К1С отключается и размыкает свои главные контакты в силовой цепи, блок-контакт 43-45 в разветвленной цепи и замыкает блок-контакты 22-24 в цепи контактора второй скорости К2С и 32-34 в цепи контактора третьей скорости К3С.

Контактор КТ отключается и размыкает свои главные контакты в силовой цепи, блок-контакт 15-17 в разветвленной цепи и замыкает блок-контакт 43-45 в разветвленной цепи.

ЭП отключается и механически затормаживается. После отключения реверсивного контактора КВ получает питание реле РУВ и без выдержки времени замыкает свой контакт 17-19 в цепи контактора первой скорости К1С и размыкает свой контакт 17-23 в цепи контакторов К2С и К3С.

Спуск груза – рис. 9.8 и 9.9.

0→3 положение КК. Размыкаются контакты К3 и К7, замыкаются контакты К6 и К12 КК.

Получает питание реверсивный контактор КН через замкнутый контакт К6 КК, контакт на размыкание 6-8 конечного выключателя НК, блок-контакт на размыкание 8-10 реверсивного контактора КВ.

Контактор КН включается и замыкает свои главные контакты в силовой цепи, блок-контакты 6-15 в цепи контактора тормоза КТ и 25-29 в разветвленной цепи, размыкает блок-контакты 12-14 в цепи реверсивного контактора КВ и 33-61 в цепи реверсивного реле РУН. После включения контактора КН получает питание контактор тормоза КТ через замкнутый блок- контакт 6-15 контактора КН и обесточивается реле РУН из-за размыкания блок- контакта 33-61 контактора КН.

Контактор КТ включается и замыкает свои главные контакты в цепи электромагнитного тормоза Т, блок-контакт 15-17 в цепи контакторов скоростей и размыкает блок-контакт 43-45 в разветвленной цепи. После включения контактора КТ получает питание контактор первой скорости К1С через замкнутый блок-контакт 15-17 контактора КТ, контакт 17-21 реле РУН, контакт К8 КК, контакт 16-18 реле 2РП, блок-контакт на размыкание 18-20 контактора второй скорости К2С, блок-контакт на размыкание 26-2 контактора третьей скорости К3С.

Контактор К1С включается и замыкает свои главные контакты в силовой цепи, блок-контакт 43-45 в разветвленной цепи, размыкает блок-контакты 22-24 в цепи контактора второй скорости К2С и 32-34 в цепи контактора третьей скорости К3С.

ЭП включается и начинает работать на первой скорости. Реле РУН отключается и с выдержкой времени размыкает свой контакт 17-21 в цепи контактора первой скорости К1С и замыкает контакт 17-25 в цепи контакторов К2С и К3С.

Контактор первой скорости К1С обесточивается и размыкает свои главные контакты в силовой цепи, блок-контакт 43-45 в разветвленной цепи, замыкает блок-контакты 22-24 в цепи контактора второй скорости К2С и 32-34 в цепи контактора третьей скорости К3С. Получает питание контактор второй скорости К2С через замкнутый контакт 17-25 реле РУН, замкнутый блок- контакт 25-29 реверсивного контактора КН, контакт К12 КК, замкнутый контакт 22-28 реле РУ, замкнутый блок-контакт 22-24 контактора первой скорости К1С, замкнутый блок-контакт 26-2 контактора третьей скорости К3С, и замыкает свои главные контакты в силовой цепи, блок-контакт 43-51 в разветвленной цепи и размыкает свои блок-контакты 18-20 в цепи контактора первой скорости К1С и 30-32 в цепи контактора третьей скорости К3С.

ЭП переключается и работает на второй скорости. После включения контактора К2С получает питание промежуточное реле 1РП через замкнутый блок-контакт 43-51 контактора К2С. Реле 1РП включается и без выдержки времени замыкает контакты 13-15 и 49-51 в разветвленных цепях и размыкает контакт 47-49 в цепи реле РУ. Реле РУ отключается и с выдержкой времени размыкает контакты 22-28 в цепи контактора К2С и 45-47 в разветвленной цепи и замыкает контакт 28-30 в цепи контактора третьей скорости К3С.

Контактор второй скорости К2С обесточивается и размыкает свои главные контакты в силовой цепи, блок-контакт 43-51 в разветвленной цепи, замыкает блок-контакты 18-20 в цепи контактора первой скорости К1С и 30-32 в цепи контактора третьей скорости К3С.

Включается контактор третьей скорости К3С через замкнутый блок- контакт 30-32 контактора К2С и замыкает свои главные контакты в силовой цепи, блок-контакты 43-49 и 51-55 в разветвленных цепях и размыкает свой блок-контакт 26-2 в цепи катушек контакторов первой и второй скоростей К1С и К2С.

ЭП переключается и работает на третьей скорости. После включения контактора К3С получает питание промежуточное реле 2РП через замкнутый блок-контакт 51-55 контактора К3С. Реле 2РП включается и без выдержки времени замыкает контакты 16-22 и 53-55 в разветвленных цепях и размыкает контакты 16-18 в цепи контактора первой скорости К1С и 49-53 в разветвленной цепи.

3→0 положение КК. Размыкаются контакты К6 и К12, замыкаются контакты К3 и К7 КК.

Обесточивается контактор третьей скорости К3С и размыкает свои главные контакты в силовой цепи, блок-контакты 43-49 и 51-55 в разветвленных цепях, замыкает блок-контакт 26-2 в цепи контакторов первой и второй скоростей К1С и К2С.

Включается контактор второй скорости К2С и замыкает свои главные контакты в силовой цепи, блок-контакт 43-51 в разветвленной цепи и размыкает свои блок-контакты 18-20 в цепи контактора первой скорости К1С и 30-32 в цепи контактора третьей скорости К3С.

ЭП переключается и работает на второй скорости. После отключения контактора третьей скорости К3С обесточивается промежуточное реле 2РП. Реле 2РП отключается и с выдержкой времени размыкает контакты 16-22 и 53- 55 в разветвленных цепях и замыкает контакты 16-18 в цепи контактора первой скорости К1С и 49-53 в разветвленной цепи.

Контактор второй скорости К2С обесточивается и размыкает свои главные контакты в силовой цепи, блок-контакт 43-51 в разветвленной цепи, замыкает блок-контакты 18-20 в цепи контактора первой скорости К1С и 30-32 в цепи контактора третьей скорости К3С.

Включается контактор первой скорости К1С и замыкает свои главные контакты в силовой цепи, блок-контакты 43-45 в разветвленной цепи и размыкает блок-контакты 22-24 в цепи контактора второй скорости К2С и 32-34 в цепи контактора третьей скорости К3С.

ЭП переключается и двигатель М работает на первой скорости. После отключения контактора второй скорости К2С обесточивается промежуточное реле 1РП. Реле 1РП отключается и с выдержкой времени размыкает контакты 13-15 и 49-51 в разветвленных цепях и замыкает контакты 47-49 в разветвленной цепи.

После включения контактора К1С получает питание реле РУ. Реле РУ включается и без выдержки времени замыкает контакты 22-28 и 45-47 в разветвленных цепях и размыкает контакт 28-30 в цепи контактора третьей скорости К3С. После отключения реле 1РП обесточиваются реверсивный контактор КН, контактор первой скорости К1С и контактор электромагнитного тормоза КТ.

Реверсивный контактор КН отключается и размыкает свои главные контакты в силовой цепи, блок-контакты 6-15 в цепи контакторов первой скорости К1С и электромагнитного тормоза КТ, блок-контакты 25-29 в разветвленной цепи и замыкает блок-контакты 12-14 в цепи реверсивного контактора КВ, 33-61 в цепи реверсивного реле РУН.

Контактор первой скорости К1С отключается и размыкает свои главные контакты в силовой цепи, блок-контакт 43-45 в разветвленной цепи и замыкает блок-контакты 22-24 в цепи контактора второй скорости К2С и 32-34 в цепи контактора третьей скорости К3С.

Контактор КТ отключается и размыкает свои главные контакты в силовой цепи, блок-контакт 15-17 в разветвленной цепи и замыкает блок-контакт 43-45 в разветвленной цепи.

ЭП отключается от напряжения сети и двигатель М затормаживается механически. После отключения реверсивного контактора КН получает питание реле РУН и без выдержки времени замыкает свой контакт 17-21 в цепи контактора первой скорости К1С и размыкает свой контакт 17-25 в цепи контакторов К2С и К3С.

Пример технической реализации комбинированных систем управления судовых многоскоростных электроприводов

Стремление объединить основные достоинства контактных и бесконтактных коммутационных аппаратов привело к созданию гибридных устройств, основанных на принципе комбинированной коммутации, в которых контактные коммутационные аппараты работают в специальных режимах. При совместном использовании контактных и бесконтактных коммутационных аппаратов возможны два основных варианта взаимного включения главных контактов силовых ККА (контакторов) и СПП – параллельное и последовательное.

В случае комбинированного параллельного соединения ток во включенном состоянии устройства протекает через главные контакты электромагнитных аппаратов, а в переходных режимах функционируют бесконтактные аппараты.

К основным достоинствам применения комбинированной параллельной коммутации для схем управления судовых многоскоростных ЭП относится высокая электрическая износостойкость, которая превышает 5·106 циклов «включение – отключение». Кроме того, в отличие от бесконтактного способа, при комбинированной параллельной коммутации практически исключена опасность возникновения несимметричных режимов работы АД.

Очевиден ряд недостатков при использовании комбинированной параллельной коммутации в СУ судовых многоскоростных ЭП, основными из которых являются: наличие большого количества СПП (такое же их число, что и при бесконтактном способе коммутации); повышенные массоразмерные и стоимостные показатели. Несмотря на относительную сложность и громоздкость, в большинстве технических решений при комбинированной параллельной коммутации практически не удается достичь полностью бестокового расхождения главных контактов силовых ККА, а также гальванической развязки между отключенной частью схемы и источником питания.

Принцип комбинированной параллельной коммутации для схем управления судовых многоскоростных ЭП был реализован, например, в отечественных контакторах КТ-64 с блоками бестоковой коммутации серии «БП». Низкая надежность, обусловленная в первую очередь преждевременным выходом из строя СПП (тиристоров) из-за отсутствия необходимого отвода тепла, явилась основной причиной снятия с серийного производства таких изделий.

За рубежом вопросами комбинированной параллельной коммутации занимаются фирмы «PHOENIX CONTACT» (Германия), производящая, в частности, электронные пускатели «CONTACTRON», «СЕМ» (Франция) и др.

При комбинированном последовательном соединении главные контакты силовых ККА и силовые модули бесконтактных коммутационных аппаратов (БКА) включаются последовательно, и во включенном состоянии аппаратов (при замкнутых коммутируемых электрических цепях) ток нагрузки протекает как через главные контакты электромагнитных аппаратов, так и через силовые модули бесконтактных аппаратов.

Имеющиеся технические решения включают в себя специально сконструированные, индивидуальные для каждой конкретной схемы, командоаппараты.

В случае комбинированной последовательной коммутации удается практически полностью обеспечить бездуговую коммутацию, приблизив электрическую износостойкость силовых ККА к механической. Кроме того, к преимуществам последовательной коммутации следует отнести наличие гальванической развязки между отключенной частью схемы и источником (напряжением) питания.

Наряду с общими недостатками, присущими силовым ККА и БКА при комбинированной последовательной коммутации, следует отнести особенности специальных командоаппаратов, связанные с наличием промежуточных положений. В случаях задержки в этих положениях состояние ЭП, как правило, не определенно (АД может быть обесточен и расторможен).

К основным задачам при разработке и создании комбинированных СУ ЭП относится повышение ресурса ККА за счет ликвидации или уменьшения процесса дугообразования между их главными контактами в переходных (динамических ) режимах при отключениях или включениях силовых цепей.

Комбинированная коммутация будет технико-экономически оправдана в том случае, когда минимальным числом СПП можно обеспечить практически бездуговую коммутацию группы главных контактов силовых ККА. Это условие может быть выполнено при включении силового модуля, состоящего из СПП, последовательно группам главных контактов силовых ККА.

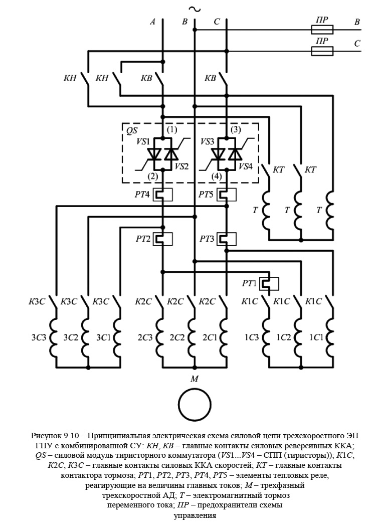
На рис. 9.10 и 9.11 представлен пример схемного решения комбинированного способа управления, разработанного под руководством Б. В. Осокина и при непосредственном участии автора. СУ привода основана на принципе комбинированной последовательной коммутации и предназначена для изготавливаемых или находящихся в эксплуатации судовых многоскоростных ЭП переменного тока – рис. 9.8, 9.9.

В принципиальной электрической схеме (рис. 9.8, 9.9) путем несложных схемных переключений, не нарушающих алгоритмы работы ЭП, можно получить общие точки электрических соединений обмоток управления силовых ККА.

Принципиальная электрическая схема силовой цепи трехскоростного ЭП
ГПУ с комбинированной СУ

Принципиальная электрическая схема управления трехскоростного ЭП ГПУ
с комбинированной СУ

Примечание: буквенно-цифровые обозначения на схеме ЭП ГПУ (рис. 9.10 и 9.11) соответствуют обозначениям, представленным в технической литературе.

В табл. 9.2, где 0 – нулевое положение КК, П1…П3 – положения КК в режимах «подъем», С1…С3 – положения КК в режимах «спуск», «+» – включение, а «–» – отключение силовых ККА, указана последовательность срабатываний контакторов схемы, представленной на рис. 9.10 и 9.11. В скобках табл. 9.2 приведены аппараты, находящиеся в статическом включенном положении.

Алгоритм срабатываний контакторов Р-К схемы трехскоростного ЭП ГПУ

Согласно табл. 9.2 реверсивные контакторы (КВ, КН) и контактор тормоза КТ срабатывают реже скоростных и лишь после переключения трехскоростного АД в режим рекуперативного торможения на первой скорости. Соответственно электрический износ главных контактов реверсивных контакторов и контактора тормоза незначителен.

Литература

Основы теории и эксплуатации судовых электроприводов. А. Ф. Бурков (2021)

MirMarine
MirMarine – образовательный морской сайт для моряков.
На нашем сайте вы найдете статьи по судостроению, судоремонту и истории мирового морского флота. Характеристики судовых двигателей, особенности устройства вспомогательных механизмов и систем.