Ревизия и ремонт гидропривода выпускного клапана
Масляная система гидропривода оборудована А-невозвратным клапаном и В-проходным невозвратным клапаном, которые установлены на подводящей трубе (см. рис. 1.55).
В процессе переключения на ход «НАЗАД» выпускной клапан начинает открываться, в то время как пусковой воздух еще поступает в цилиндр. Проходной невозвратный клапан обеспечивает задержку открытия выпускного клапана, пока не закончится подготовка двигателя к реверсу.
ПРИМЕЧАНИЕ: При сборке и установке на клапан резинового уплотнительного кольца — нагреть его в масле до 90°С.
Протечки выпускного клапана удаляются через трубку С, которые можно собрать и замерить их количество (см. рис. 1.56).
Причина появления избыточных протечек масла — это поломка колец поршня, пропуска невозвратного клапана или протечки соединений трубопроводов.
При отсутствии протечек в соединениях труб, повышенный расход масла может быть из-за протечек гидропривода, которые нельзя сразу определить. В этом случае требуется ревизия гидропривода и его гидроусилителя — нахождения дефекта и устранения его.
Технологическая последовательность разборки гидропривода
1-я операция (см. рис. 1.57) Разборка гидроусилителя
- Двигатель остановлен, подача масла прекращена, воздушные и топливные клапана закрыты.
- Валоповоротное устройство введено. Двигатель провернуть валоповоротным устройством так, чтобы нужный ролик находился на цилиндрической части кулака.
- Разобрать и снять подводящую масляную, дренажную и воздушные трубы.
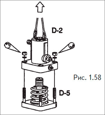
2-я операция (см. рис. 1.58)
- Установить рымы в отверстия для подъема корпуса гидропривода и застопорить на талях.
- Отдать гайки и ослабить направляющую пружину.
- Полностью отдать гайки и поднять корпус гидропривода, оставив поршень на ролике.
3-я операция (см. рис. 1.59)
- Освободить штыковое соединение поршня и снять его.
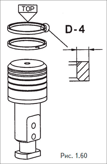
4-я операция (см. рис. 1.60)
- Снять кольца с масляного поршня гидроусилителя, замерять их на предмет износа, и если износ выше допустимых значений — кольца заменить.
- При установке колец на поршень гидроусилителя кольца устанавливают плоскостью с отметкой «верх» в верхнем положении поршня.
5-я операция (см. рис. 1.61)
- Обследовать цилиндр гидроусилителя на предмет задиров и износов, произвести его обмеры.
- При наличиие износов выше допустимых значений — цилиндр заменить.
6-я операция
- После ревизии деталей гидроусилителя и замены их - гидропривод собрать в обратном порядке.