Разборка и ревизия роликовой направляющей привода выпускного клапана

Разборка и ревизия роликовой направляющей привода выпускного клапана

Последовательность операций при разборке роликовой направляющей

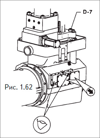
1-я операция (см. рис. 1.62)

  • Снять крышку смотрового лючка корпуса для определения положения кулака выпускного клапана и произвести частичный осмотр роликовой направляющей прямо на корпусе.
  • Установить роликовую направляющую в ВМТ так, чтобы обеспечить наиболее удобное пространство между кулаком и роликом.
  • Проверить вручную свободное вращение ролика без заедания.
  • Осмотреть рабочую поверхность ролика на предмет повреждений, износа металла подшипника.
  • Поднимая и опуская ролик, замерять зазор между роликом и кулачной шайбой.
  • Для более детального осмотра и замеров необходимо произвести разборку узла.

Снять крышку смотрового лючка корпуса для определения положения кулака выпускного клапана и произвести частичный осмотр роликовой направляющей прямо на корпусе.

2-я операция (см. рис. 1.63)

  • Снять гидравлический привод и пружину (см. рис. 1.63) с направляющей.

Подъемное устройство устанавливается следующим образом:

  • поднять стопорное кольцо вверх по валу приспособления;
  • установить приспособление в штыковое соединение;
  • повернуть приспособление на 90° в штыковом соединении;
  • опустить стопорное кольцо, т.о. фиксируя приспособление в положении сцепления;
  • вынуть направляющую из корпуса с помощью крана или талей.

Подъемное устройство устанавливается следующим образом

3-я операция (см. рис. 1.64)

  • После выемки направляющей тщательно осмотреть все детали на предмет повреждений, износа и удобно произвести замеры ролика.
  • Установить индикатор и, поднимая и опуская ролик, снять показания индикатора. При наличии дефектов — повышенный зазор ролика, трудное проворачивание, наличие задиров — требует разборки и замены дефектных деталей.
  • Перед разборкой замерить овальность направляющей.

После выемки направляющей тщательно осмотреть все детали на предмет повреждений, износа и удобно произвести замеры ролика.

4-я операция (см. рис. 1.65)

  • Отдать стопорные болты. Установить выколотку и выбить ось ролика из корпуса.

Отдать стопорные болты. Установить выколотку и выбить ось ролика из корпуса.

5-я операция (см. рис. 1.66)

  • Снять ролик с подшипниковой втулкой и дистанционные кольца.
  • Тщательно осмотреть все детали на предмет повреждений и износа, задиров.
  • Если на дистанционных кольцах сработались смазочные канавки — заменить их, а также все дефектные детали.

Снять ролик с подшипниковой втулкой и дистанционные кольца.

6-я операция (см. рис. 1.67)

  • Продуть все каналы смазки, устранить все дефекты, осмотреть упорную деталь.
  • Устанавливая упорную деталь, убедитесь, что поверхность с меткой «ВЕРХ» смотрит вверх.

Продуть все каналы смазки, устранить все дефекты, осмотреть упорную деталь.

7-я операция (см. рис. 1.68)

  • Уложить направляющую на деревянные планки так, чтобы отверстие было вертикальное.
  • Вставить ролик с втулкой, дистанционные кольца.
  • Ось вставляется с помощью выколотки, т.е. впрессовы-вается так, чтобы отверстия под стопорные штифты совпадали.

Уложить направляющую на деревянные планки так, чтобы отверстие было вертикальное.

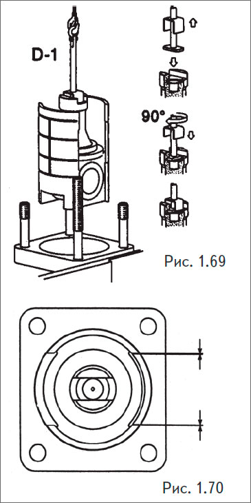
8-я операция (см. рис. 1.69)

  • Установить подъемное приспособление на направляющую ролика, смазать маслом и установить ее на место в корпус.
  • При монтаже направляющей проверить зазоры между направляющей и направляющей доской.
  • Повернуть распределительный вал так, чтобы направляющая с роликом поднялась на 20 мм и замерить зазоры между направляющей и её направляющей доской.
  • Смонтировать поршень насоса, пружину, корпус привода, затянуть крепежные болты.

Установить подъемное приспособление на направляющую ролика, смазать маслом и установить ее на место в корпус.

Разборка роликовой направляющей выпускного клапана

Разборка осуществляется на остановленном дизеле и сведением валопоротного устройства.

1-я операция (см. рис. 1.71)

  • Поднять роликовую направляющую топливного насоса.
  • Остановить масляный насос распределительного вала.
  • Слить масло из трубы высокого давления, поднимая ее, чтобы обеспечить более полный дренаж масла через дренажные отверстия привода.

Поднять роликовую направляющую топливного насоса.

2-я операция (см. рис. 1.71, 1.72)

  • Разобрать трубу подвода масла, а отверстие на главном трубопроводе заглушить.
  • Снять трубопровод высокого давления.

Разобрать трубу подвода масла, а отверстие на главном трубопроводе заглушить.

3-я операция (см. рис. 1.73)

  • Снять крышку смотрового лючка корпуса для определения положения кулака привода выпускного клапана.

Снять крышку смотрового лючка корпуса для определения положения кулака привода выпускного клапана.

4-я операция (см. рис. 1.74)

  • Установить роликовую направляющую выпускного клапана в ВМТ.
  • Установить подъемное устройство на привод и ввернуть шпиндель в гидравлический поршень.
  • Вворачивая верхнюю гайку, поднимите роликовую направляющую пока гидравлический поршень не упрется в верхнюю часть цилиндра.
  • Закрепите положение роликовую направляющую контргайкой.

Установить роликовую направляющую выпускного клапана в ВМТ.

5-я операция (см. рис. 1.75)

После ревизии и устранения появившегося дефекта произвести сборку роликовой направляющей в обратной последовательности и ввести в работу привод выпускного клапана в следующем порядке:

  • Отворачивая гайки подъемного устройства опустите роликовую направляющую на кулак выпускного клапана, после чего снять подъемное устройство с гидравлического цилиндра. После чего собрать трубу высокого давлении и подводную трубу масла, соединить трубопроводы.

Отворачивая гайки подъемного устройства опустите роликовую направляющую на кулак выпускного клапана

MirMarine
MirMarine – образовательный морской сайт для моряков.
На нашем сайте вы найдете статьи по судостроению, судоремонту и истории мирового морского флота. Характеристики судовых двигателей, особенности устройства вспомогательных механизмов и систем.