Одной из проблем, имеющих место в настоящее время и относящихся к надлежащей работе ГМССБ, обеспечению эффективной работы служб поиска и спасания (SAR - Search and Rescue), является подача ложных (непреднамеренных) сигналов бедствия. После того, как должность радиоофицера на судне стала необязательной, процент непреднамеренных вызовов с приоритетом бедствия резко возрос. По некоторым данным такие вызовы составляют около 90 % от всех вызовов бедствия.
Чрезмерный объем ложных сигналов бедствия создает серьезные и ненужные затруднения для спасательно-координационных центров (СКЦ - RCC - Rescue Co-ordinating Centre), приводит к обратному воздействию на моряков в отношении их доверия к ГМССБ.
В связи с этим Ассамблея ИМО на 19-й сессии в ноябре 1995г. приняла специальную резолюцию: "Руководство по предотвращению подачи ложных сигналов бедствия" (Резолюция ИМО А.814(19) от 23.01.1995 г.).
В соответствии с указанной Резолюцией национальные Администрации должны.
1. Информировать судовладельцев и моряков о растущем количестве ложных сигналов бедствия;
2. Указать судам на важность надлежащей регистрации всего оборудования ГМССБ и обеспечить, чтобы все зарегистрированные данные были в постоянной готовности для передачи на СКЦ;
3. Создать и задействовать национальную систему мероприятий для привлечения к ответственности тех, кто:
- неумышленно подал сигнал бедствия без последующего его аннулирования или тех, кто не ответил на сигнал бедствия в результате неправильных действий или небрежности;
- неоднократно замечен в подаче ложных сигналов бедствия;
- намеренно подает ложные сигналы бедствия.
4. Применять санкции, предусмотренные правилами Международного союза электросвязи (МСЭ -ITU - International Telecommunication Union), при нарушениях процедуры связи, в случае подачи ложных сигналов бедствия или в случаях оставления без ответа сигналов бедствия, передаваемых с берега на судно;
5. Обеспечить, чтобы все члены судовых экипажей знали, как работает аппаратура ГМССБ, понимали важность предотвращения подачи ложных сигналов бедствия и предпринимали для этого необходимые действия, а также знали, какие меры следует принять, если ложный сигнал бедствия подан;
6. Обязать фирмы, осуществляющие поставку радиооборудования, обучать соответствующих, лиц судового экипажа работе с ним;
7. Расследовать случаи, когда отдельные модели оборудования ГМССБ были замечены в неоднократной подаче случайных сигналов бедствия и информировать об этом соответствующие организации;
8. Обеспечить, чтобы инспектирующие лица знал и оборудование ГМССБ и, в частности, как его проверять и работать с ним без передачи ложных сигналов бедствия.
Судовладельцы, капитаны и моряки должны соответственно:
1. Обеспечивать, чтобы дипломированный персонал, работающий с аппаратурой ГМССБ, обладал компетенцией для работы с конкретным оборудованием на судне;
2. Обеспечивать, чтобы лицо или лица, ответственные за связь во время бедствия, выдавали необходимые инструкции всем членам экипажа по использованию аппаратуры ГМССБ для подачи сигналов бедствия;
3. В течение каждого учения по оставлению судна выдавать инструкции по использованию аварийного оборудования для обеспечения функций ГМССБ;
4. Обеспечивать, чтобы проверки аппаратуры ГМССБ проводились только под надзором лица, ответственного за связь в аварийных ситуациях;
5. Принимать меры, чтобы при учениях или при проверке работоспособности аппаратуры ГМССБ никогда не допускались случаи подачи ложных сигналов бедствия;
6. Обеспечивать, чтобы идентификаторы спутниковых АРБ были зарегистрированы в банке данных и были круглосуточно доступны или автоматически выдаваться властям;
7. Обеспечивать, чтобы данные по АРБ, ИНМАРСАТ и ЦИВ немедленно корректировались в случаях изменения судовладельца, названия судна, его флага и других данных. Предпринимать меры для ввода новых данных в оборудование ГМССБ;
8. Обеспечивать, чтобы установка спутниковых АРБ проводилась в полном соответствии с инструкциями квалифицированным персоналом. Они должны устанавливаться так, чтобы свободно всплывать при погружении судна (на глубину 4 м) и автоматически включаться;
9. Действовать так, чтобы АРБ не включался, если помощь уже оказывается (буи предназначены для подачи сигналов о помощи, если судно не может запросить помощь другими средствами и передавать информацию о местоположении аварийного судна, а также излучать сигналы наведения для судов и воздушных судов, участвующих в поиске и спасании);
10. Делать так, что если сигнал бедствия случайно подан, судно должно предпринять все возможные попытки, чтобы связаться с СКЦ и аннулировать ложный сигнал бедствия;
11. Обеспечить, по возможности, чтобы АРБ после использования в аварийной ситуации был извлечен из воды и выключен;
12. Обеспечивать то, что если АРБ не может быть больше использован, он должен быть переведен в нерабочее состояние путем извлечения батарей питания и, если возможно, возвращен изготовителю или уничтожен.
Процедуры для отмены ложных сигналов бедствия
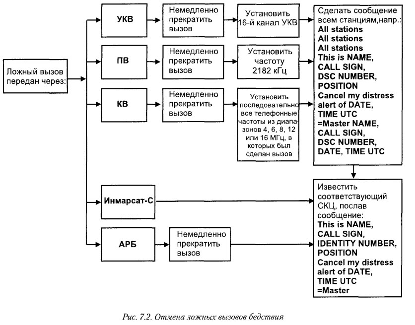
Ниже описаны действия персонала судовых станций ГМССБ в случае непреднамеренной подачи вызова бедствия различными средствами. Схема последовательности действий в этих случаях представлена на рис. 7.2.
Отмена непреднамеренного ЦИВ бедствия
1. Диапазон УКВ (70 канал - 156,525 МГц)
- немедленно выключить передатчик (если ложный сигнал обнаруживается во время передачи);
- включить радиотелефонное оборудование и настроить его на 16 канал (156,8 МГц);
- передать "всем станциям" отмену ложного сигнала бедствия.
Пример:
ALL STATIONS ALL STATIONS ALL STATIONS
THIS IS M/V ARCONA URUA MMSI 272100010
MY POSITION IS 0630 NORTH 01500 EAST
CANCEL MY FALSE DSC DISTRESS ALERT SENT ON CH70
AT 11.20 UTC 17 OF JANUARY
MASTER M/V ARCONA URUA MMSI 272100010
JANUARY 17, 11.25 UTC
2. Диапазон ПВ (2187,5 кГц)
- немедленно выключить передатчик;
- включить оборудование и настроить на частоту 2182 кГц для передачи по радиотелефону;
- передать "всем станциям" отмену ложного сигнала бедствия.
Пример:
ALL STATIONS ALL STATIONS ALL STATIONS
THIS IS M/V ARCONA URUA MMSI 272100010
MY POSITION IS 0630 NORTH 01500 EAST
CANCEL MY FALSE DSC DISTRESS ALERT SENT ON 2187.5 KHZ
AT 11.20 UTC 17 OF JANUARY
MASTER M/V ARCONA URUA MMSI 272100010
JANUARY 17, 11.25 UTC
3. Диапазон KB (частоты 4207,5; 6312; 8414,5; 12577; 16804,5 кГц)
Действовать также, как в случае подачи ложного вызова бедствия в ПВ диапазоне, но сигнал бедствия должен быть аннулирован на всех частотных диапазонах, на которых он был передан. Для этого передатчик должен последовательно настраиваться на телефонные (телексные) частоты в соответствующих диапазонах с учетом вида связи, указанного в формате вызова бедствия.
Во всех случаях после радиотелефонной отмены на соответствующей частоте рекомендуется связаться с ближайшим СКЦ (например, через ИНМАРСАТ) и продублировать отмену ложного вызова бедствия предпочтительно в телексном режиме. Это обосновывается тем, что радиоотелефонное сообщение может быть неправильно понято или вообще не будет передано в эфир по каким-либо причинам.
При дублировании же отмены в телексном режиме останется документ, подтверждающий отмену, а также подтверждение о его получении СКЦ.
После радиотелефонной отмены следует некоторое время контролировать соответствующую частоту.
Сам непреднамеренный вызов ЦИВ, а также последующие радиопередачи для его аннулирования должны фиксироваться в радиожурнале, например, как показано ниже:
В соответствии с Рекомендацией ITU-R 493, касающейся ЦИВ, новое оборудование ЦИВ может иметь возможность собственного подтверждения ложных вызовов бедствия. При наличии такого оборудования ложный вызов бедствия будет принят также собственным вахтенным приемником ЦИВ и может быть с его помощью подтвержден (self-acknowledgement). Преимуществом такого метода является то, что сигнал ЦИВ самоподтверждения обеспечивает ту же дальность, что и предшествующий вызов бедствия, в то время как дальность связи по радиотелефону может быть меньше.
Данная процедура, однако, не заменяет общего правила отмены ложных вызовов бедствия, сделанных с помощью ЦИВ. В любом случае должно быть сделано сообщение по радиотелефону на соответствующей частоте об отмене ложного вызова бедствия.
Отмена непреднамеренного вызова бедствия ИНМАРСАТ-С
Немедленно известить соответствующий СКЦ об аннулировании сигнала бедствия, передав сообщение об отмене с приоритетом бедствия, через ту же самую береговую земную станцию, через которую ранее был передан ложный сигнал бедствия.
Пример:
THIS IS 427200010 M/V ARCONA URUA MMSI 272100010
POSITION 0630 N 01500 E
CANCEL MY FALSE INMARSAT-C DISTRESS ALERT
AT 11.20 UTC 17 OF JANUARY
MASTER
NNNN
Отмена непреднамеренного включения АРБ
Если по какой-либо причине АРБ непреднамеренно был включен, следует связаться с ближайшей береговой станцией или СКЦ.
Например, текстовое сообщение через ИНМАРСАТ-С будет выглядеть так:
THIS IS 427200010 M/V ARCONA URUA MMSI 272100010
POSITION 0630 N 01500 E
CANCEL MY FALSE COSPAS-SARSAT EPIRB DISTRESS ALERT
AT 11.20 UTC 17 OF JANUARY
MASTER
NNNN
Ничто из сказанного выше, как сказано в Резолюции ИМО А.814(19), не препятствует судну использовать любые другие методы для оповещения властей о том, что имела место передача ложного сигнала бедствия и что этот сигнал аннулируется.
Как правило, в отношении судов и моряков, подавших ложный сигнал бедствия и сообщивших затем о его аннулировании, какие-либо санкции не применяются. Однако, учитывая серьезность последствий от ложных сигналов и строжайший запрет на их передачу, в случаях неоднократного нарушения этого требования правительства могут привлечь нарушителей к ответственности.
Замечание. В руководстве по Международному авиационному и морскому поиску и спасанию (МАМПС) 1998 года, раздел 4. Чрезвычайные ситуации на борту отмечено:
"Рекомендуется, чтобы приведенный в действие EPIRB, даже если он был включен по неосторожности (ложная тревога), продолжал работать до тех пор, пока не будет информирован центр RCC.
- Это позволяет центру RCC работать с более точными данными о местоположении и опознавательными данными, а также разрешать проблему ложного аварийного оповещения, не направляя без необходимости средства SAR.
- Необходимо незамедлительно попытаться уведомить центр RCC другими средствами о том, что аварийное оповещение является ложным."
Литература
Глобальная морская система связи для безопасности мореплавания ГМССБ (GMDSS) - А.В. Шишкин, В.И. Купровский, В.М. Кошевой [2007]