Виды арматуры

Основным элементом судовой арматуры являются клапаны. В судовых системах применяются клапаны диаметром от 10 до 200 мм, управляемые вручную, с помощью маховика, либо автоматически.

Запорные клапаны предназначены для разобщения и герметизации отдельных участков трубопроводов. Изготавливаются из стали, бронзы, латуни или из легких сплавов.

Предохранительные клапаны предназначены для снижения и автоматического поддержания требуемого давления среды независимо от изменения расхода ее в трубопроводах. Подразделяются по конструкции на три типа: диафрагменные, мембранные и поршневые. Предохраняют трубопроводы и механизмы от разрушения при случайных повышениях давления в них сверх допустимого рабочего значения.

Предохранительный клапан (рис. 2.1) состоит из корпуса 1, тарелки 7, прижимаемой к седлу 8 через шток 6 цилиндрической пружиной 4, и нажимной втулки 3 для поджатия пружины. Клапан работает автоматически. Как только по какой-либо причине давление в трубопроводе превысит установленное значение давления затягом пружины в клапане, он откроется и пропустит некоторое количество рабочей среды из области повышенного давления в область меньшего давления (например, в атмосферу). После выхода части жидкости из трубопровода и понижения давления в нем до нормального клапан закроется.

Предохранительный клапан

Отрегулированный на определенное давление предохранительный клапан фиксируется постановкой пломб на скобу 2 с ушком 5. В целях уменьшения утечки жидкости шток в месте прохода через крышку имеет выточки, чередующиеся с выступами, которые в совокупности образуют лабиринтовое уплотнение.

Пропускная способность предохранительного клапана должна быть такой, чтобы давление в трубопроводе не могло превысить 1,1 рабочего. В качестве примера на рис. 2.2 показан предохранительный клапан, устанавливаемый на грузовых танках танкера.

Предохранительный клапан на грузовом танке танкера

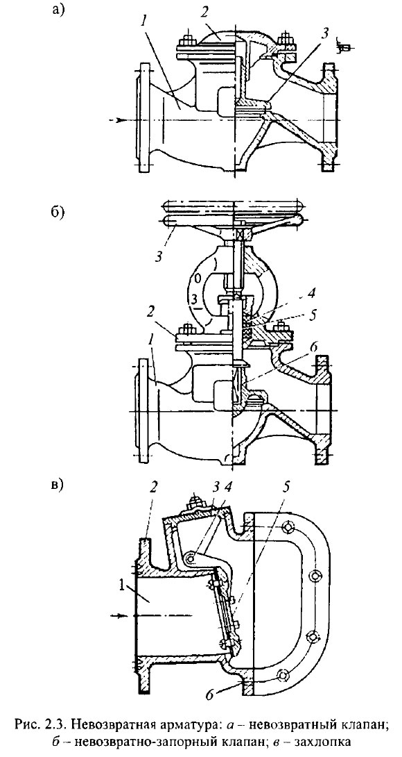
Невозвратная (защитная) арматура (рис. 2.3) предназначена для пропуска рабочей среды только в одном направлении в трубопроводах различных систем, где требуется обеспечить движение жидкости только в одном заданном направлении и одновременно предотвратить ее движение в обратном направлении.

Невозвратные клапаны (рис. 2.3 а) открываются потоком среды, не имеют шпинделя и работают автоматически, пропуская среду в одном направлении, указанном стрелкой, из-под тарелки клапана. Их основными деталями являются корпус 1, крышка 2 и тарелка 3 с направляющим стаканом. Поступающая под тарелку жидкость своим давлением поднимает тарелку и проходит в трубопровод над клапаном. При движении жидкости в обратном направлении клапан закрывается под действием давления жидкости на тарелку сверху и собственной массы тарелки.

Невозвратно-запорный клапан (рис. 2.3. б) обеспечивает движение жидкости в одном направлении, в случае необходимости с помощью ручного привода (вращением маховика) 3 полностью перекрывая трубопровод. Невозвратно-запорные клапаны, в закрытом состоянии препятствующие движению среды в любом направлении, работают как стопорные, а в открытом состоянии (при поднятом штоке) - как невозвратные. В корпусе 1 расположены тарелка 6 и шпиндель 5, которые не соединены между собой. Шпиндель хвостовиком свободно входит в вертикальное отверстие тарелки. Таким образом, если вращением маховика 3 поднять шпиндель, то тарелка будет работать автоматически в пределах своего свободного хода, как у невозвратною клапана, обеспечивая одностороннее движение жидкости. Для перекрывания трубопровода вращением маховика опускают шпиндель и прижимают им тарелку к седлу клапана. Герметичность места прохода шпинделя через крышку 2 корпуса клапана обеспечивает сальник 4.

Невозвратная арматура: а - невозвратный клапан; 6 - невозвратно-запорный клапан; в - захлопка

Захлопка (рис. 2.3 в) используется в качестве невозвратно-запорного устройства, рабочим органом которого является захлопка 5, шарнирно закрепленная на валике 4. Корпус 1 захлопки имеет обычный круглый 2 и фасонный бортовой 6 фланцы. В верхней части корпуса находится крышка 3. Захлопка открывается под действием давления протекающей среды либо с помощью ручного или автоматического привода.

Регулирующая арматура (редукционные и дроссельные клапаны, манипуляторы) предназначена для регулирования давления или направления течения рабочей среды.

Редукционный клапан

Редукционный клапан (рис. 2.4) предназначен для снижения (редуцирования) давления жидкости и автоматического поддержания его на заданном постоянном уровне. Он состоит из корпуса 1, тарелки 2, связанной штоком с поршнем 3, который соединен с диафрагмой 4. Сверху над диафрагмой находится цилиндрическая пружина 5, сила натяжения которой регулируется винтом 6. Конструкция клапана позволяет автоматически уменьшать давление жидкости до требуемого установленного значения независимо от изменения его перед клапаном.

Допустим, что при рабочем давлении р1 перед клапаном размер щели между тарелкой и седлом обеспечивает понижение давления до требуемого р2. Если давление р1 перед клапаном увеличится, то, следовательно, повысится и давление р2 за ним, которое по косому каналу а передастся на диафрагму 4, сожмет пружину и поднимет тарелку. В результате этого давление р2 за клапаном уменьшится до своего первоначального значения. Если давление р1 до клапана уменьшится, то понизится и давление р2 за клапаном, вследствие чего уменьшится давление на мембрану, и под действием пружины клапан опустится, увеличивая проточную часть.

Дроссельный клапан

Дроссельный клапан (рис. 2.5) служит для снижения давления протекающей через него среды. В корпусе 2 клапана размещается тарелка 1, закрепленная на шпинделе 3, имеющем в верхней части нарезку. Шпиндель проходит через крышку 4 и фиксируется в требуемом положении стопорной гайкой 6. На выступающий конец шпинделя навинчивается колпачок 5. При подъеме тарелки между ней и внутренней поверхностью корпуса клапана образуется щель. Давление за клапаном понижается вследствие увеличения скорости движения жидкости при проходе через щель. Высоту подъема тарелки регулируют вручную. После установки ее в необходимое положение шпиндель фиксируют стопорной гайкой. Дроссельным клапаном можно плавно регулировать давление рабочей среды в широком диапазоне. Однако в отличие от редукционного дроссельный клапан при изменении режима работы системы автоматически не поддерживает в системе постоянное давление.

Запорная арматура. К арматуре подобного рода, в корпусе которой есть пробка с одной или несколькими прорезями различной формы, относятся краны. В целях обеспечения герметичности пробка плотно притирается к корпусу крана и имеет сальник с набивкой. По конструкции краны делятся на проходные, трёхходовые и манипуляторы, принципиально отличаясь числом и формой прорезей в пробке. У проходного крана в пробке одна прорезь, кран только перекрывает трубопровод. Трёхходовые краны с L- или Т-образной прорезью в пробке при нескольких её рабочих положениях обеспечивают различные переключения движения жидкости по трём трубам, подключённым к корпусу крана.

На рис. 2.6 показан шаровой кран «Naval» запорного типа, используемый в системах гидравлики и теплоснабжения. Тарельчатые пружины прижимают уплотнения к плавающему шару, поэтому он имеет высокую плотность при низких и высоких перепадах давления. Корпус и штуцеры сварены в единое целое.

Шаровой кран «Naval»

Углеродно-тефлоновые уплотнительные прокладки, усиленные L-образными кольцами, являются стойкими к износу, воздействию химикалий и загрязнений. Благодаря отшлифованному и отполированному шару, изготовленному из высококачественной стали, кран лёгок в работе. Он не требует ухода, подтягивания или смазки, отличается быстрым монтажом и малыми эксплуатационными расходами для давлений до 4 МПа и температур до 100 ... 200 °С.

Клапанные коробки - это устройства, в которых в едином корпусе устанавливаются два, три или более клапанов (рис. 2.7). Предназначены для централизации управления судовыми системами. Бывают запорного и невозвратно-запорного типа. Клапанные коробки с общим подводом жидкости и индивидуальным отводом жидкости от каждого клапана ставят обычно на нагнетательном трубопроводе насоса, обслуживающего несколько объектов.

Продольный и поперечный разрез клапанной коробки

В табл. 2.1 показан принцип действия кранового манипулятора, который отличается от крана тем, что обеспечивает только переключение трубопроводов. Клапанные коробки с индивидуальным подводом жидкости и общим отводом от них обычно ставят на всасывающей магистрали насоса. обслуживающего несколько объектов.

Принцип действия кранового манипулятора

Схема действия клапана газоотвода на грузовых танках

На рис. 2.8 показан клапан газоотвода на грузовом танке танкера, а на рис. 2.9 - поперечный разрез автоматического прессвакуумного клапана. Особенностью его является автоматический пропуск газов из танка в окружающую атмосферу, и, наоборот, в грузовой танк из атмосферы при изменении давления в нем (при условии, что давление в танке, соответственно, выше или ниже атмосферного).

В системе инертных газов (СИГ) применяются специальные запорные устройства водяного затвора, а также дыхательные клапаны газоотвода. При превышении давления в танке эти клапаны выпускают пары и газы в атмосферу, а в случае образования вакуума внутри танка, наоборот, впускают воздух из атмосферы в грузовой танк.

Поперечный разрез автоматического прессвакуумного клапана

Прессвакуумный клапан с электроприводом предназначен для автоматического перекрытия подачи неагрессивных углеводородных газов в системах автоматического управления газоиспользующими устройствами. Под напряжением клапан открыт. При исчезновении напряжения он закрывается. После подачи напряжения клапан открывается вручную только после нажатия на взводной шток. Корпус - алюминий, электрическое питание - 12 В, 24 В, 230 В, максимальное давление на входе - 0,5 ... 6 бар.

Клапан термозапорный (КТЗ) предназначен для автоматического перекрытия трубопровода, подводящего газ к бытовым и промышленным приборам в случае пожара. КТЗ находится в корпусе, в полости которого установлен подпружиненный затвор, удерживаемый в открытом положении термочувствительным элементом. При достижении температуры окружающей среды 100 °С термочувствительный элемент освобождает затвор, который перекрывает поток газа.

Клапан быстрозапорный имеет дистанционный привод для немедленного перекрытия трубопровода в случае аварийной ситуации из смежного помещения. Такие клапаны обычно устанавливаются на топливных магистралях, перекрывая подачу топлива к ГД, ВД и ВК. Он имеет «собачку», которая при необходимости дистанционным приводом мгновенно освобождает предварительно сжатую пружину, действующую на тарелку клапана и перекрывающую топливную магистраль в аварийной ситуации.

Проходной невозвратно-запорный клапан осушительной системы (рис. 2.10) имеет пневматический и ручной аварийные приводы. Поршень пневмопривода снизу соединен со штоком разгрузочного клапана, сверху - со штоком ручного привода.

Любая запорная арматура имеет гидравлическое сопротивление, которое оценивается соответствующим коэффициентом. Для некоторых типов (видов) запорной арматуры он составляет:

  • клапаны сальниковые проходные 4,5 ... 11,0;
  • клапаны сальниковые прямоточные 0,3 ... 2,5;
  • клапаны мембранные 1,5 ... 7,0;
  • задвижки полнопроходные 0,1 ... 1,2;
  • краны шаровые полнопроходные 0,1 ... 0,4.

Контроль арматуры выполняется поджатием сальников или добавлением набивки не реже одного раза в месяц. Проверка действия средств автоматики и автоматической арматуры, а также предохранительных средств и редукционных клапанов проводится не реже одного раза в месяц. Проверка показаний всех манометров и термометров должна проводиться не реже одного раза в год.

Запрещается вскрывать путевую арматуру на трубопроводах, связанных с забортными отверстиями, не убедившись в исправном действии и плотном закрытии бортовой арматуры на них.

Невозвратно-запорный клапан осушительной системы с пневматическим и ручным (аварийным) приводами

Переборочные сальники и палубные втулки служат для обеспечения водонепроницаемости переборок и палуб при проходе сквозь них валов. В качестве переборочных сальников применяют круглые или прямоугольные задвижки с одним фланцем. Первые отличаются высокой надежностью, но имеют высокий порог, что затрудняет перетекание груза, вторые имеют низкий порог, но при этом наблюдается снижение надежности.

Дополнительно сильфоны часто применяются в уплотнителях центральных запорных клапанов (рис. 2.11).

Сильфонный клапан

Литература

Судовые системы - Костылев, И.И., Петухов, В.А. [2010]

MirMarine
MirMarine – образовательный морской сайт для моряков.
На нашем сайте вы найдете статьи по судостроению, судоремонту и истории мирового морского флота. Характеристики судовых двигателей, особенности устройства вспомогательных механизмов и систем.