При сгорании топлива в цилиндрах двигателя внутреннего сгорания лишь 38—42 % получаемой при этом теплоты превращается в полезную работу. Остальная теплота — это неизбежные тепловые потери. Примерно половина потерянного тепла уходит в атмосферу с продуктами сгорания топлива, остальная часть передается деталям, соприкасающимся с горячими газами. Если эти детали не охлаждать, то работа двигателя станет невозможной и он выйдет из строя. Невозможной станет и смазка двигателя, так как смазочное масло будет сгорать. Во избежание этого все детали и узлы двигателя, соприкасающиеся с горячими газами, необходимо охлаждать. Обязательному охлаждению подлежат цилиндры, крышки цилиндров и выпускной коллектор.
Для обеспечения непрерывной подачи воды (пресной или забортной) для охлаждения двигателей, механизмов или аппаратов и предназначена система охлаждения судовой энергетической установки. На судне эта система обеспечивает подачу охлаждающей жидкости не только к главным двигателям, но и к таким механизмам, аппаратам и устройствам, как подшипники валопроводов, холодильники масла, паро- и электрокомпрессоры, конденсатные насосы и др.
Для перемещения охлаждающей воды по трубопроводам к местам охлаждения необходимы насосы. Их включают в общую магистраль, от которой идут отростки, подводящие воду ко всем потребителям.
Системы охлаждения двигателей внутреннего сгорания являются автономными, т. е. предусматривают наличие насосов пресной или забортной воды, которые обслуживают только данный двигатель.
Системы охлаждения двигателей делятся на открытые (одноконтурные) и закрытые (двухконтурные). Открытая система на морских судах почти не применяется. В этой системе охлаждение двигателя производится забортной водой, которая насосом прокачивается по всей системе охлаждения и отводится за борт. Систему открытого типа допустимо применять там, где температура нагрева выходящей из двигателя воды не превышает 55 °С. При большей температуре растворенные в воде соли становятся нерастворимыми и оседают на омываемых водой поверхностях в виде накипи, ухудшая условия теплоотдачи, а также засоряя проточные каналы и полости охлаждения, особенно в литых конструкциях головок и блоков цилиндров двигателей. Это нарушает нормальное протекание рабочего процесса в двигателе и может служить причиной аварии.
На рис. 3.58 изображена схема открытой системы охлаждения двигателя. Забортная вода при открытом кингстоне 10 поступает в теплый ящик забортной воды 9, снабженный фильтром. Кингстон открывается и закрывается рукояткой 5, выведенной на крышку ящика. При открытом приемном клапане 11 вода для охлаждения забирается насосом 12 и по трубе 13 подается к двигателю. Поступившая в полость охлаждения блока цилиндров 1 вода поднимается вверх и перетекает в крышки 2 цилиндров, откуда через патрубок 3 направляется в полость охлаждения выпускного коллектора 6. Из последнего она отводится за борт по трубе 7. Температура охлаждающей воды, прошедшей через каждый цилиндр, контролируется термометром 4 и регулируется клапаном 5 путем пропуска большего или меньшего количества воды, проходящей через него. Давление воды во время работы системы контролируется манометром 14.
В большинстве современных судовых дизелей применяется закрытая система охлаждения. В этой системе для охлаждения работающего двигателя используется пресная вода, непрерывно циркулирующая в замкнутой системе охлаждения, которая состоит из двух контуров: внутреннего и внешнего. Первый служит для охлаждения двигателя, второй — для охлаждения воды, циркулирующей во внутреннем контуре. Для охлаждения пресной воды устанавливают водо-водяной холодильник, через который прокачивается забортная вода.
На рис. 3.59 приведена схема закрытой системы охлаждения двигателя. Циркуляционным насосом 15 пресная вода по внутреннему контуру подается в блок цилиндров 1. Охладив крышку 2 цилиндра двигателя, вода по патрубку 3 поступает в полость охлаждения выпускного коллектора 5, а оттуда в термостат или в терморегулятор 7, который служит для автоматического регулирования температуры воды, прошедшей через двигатель. Если температура этой воды окажется выше требуемого значения, то термостат большую часть воды пропустит в холодильник 11, а меньшую — в трубу 16, Таким образом, в термостате постоянно происходит перераспределение двух потоков воды: подводимой к насосу 15 и вновь направляемой на охлаждение двигателя.
Температура воды контролируется термометром 6. В связи с высокой температурой воды, выходящей из двигателя, в отдельных точках внутренних полостей, заполненных водой, образуется некоторое количество пара. Пар отводится по трубе 4 в расширительный бак 5, являющийся компенсатором объема, в который по трубе 9 вытесняется избыточное количество расширившейся при нагревании воды. Благодаря этому предотвращается нарушение плотности соединений элементов системы.
Забортная вода через кингстон 13 и приемный клапан 14 забирается насосом 12 и прогоняется через холодильник, где охлаждает пресную воду внутреннего контура, после чего отводится за борт по трубе 10. Такая система охлаждения двигателей предохраняет полости охлаждения двигателя от отложения солей и уменьшает вероятность образования коррозии и электрохимической эрозии. Установленный на приемной ветви фильтр забортной воды предохраняет систему от попадания ила и песка.
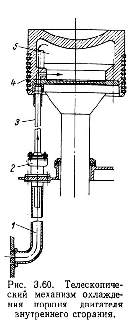
В двигателях с высокой средней температурой цикла приходится применять охлаждение поршней путем подвода охлаждающей жидкости в их головки. В частности, это можно осуществить с помощью специального телескопического механизма. Как видно на рис. 3.60, охлаждающая жидкость подается в трубу 1 телескопического механизма поршня, далее переходит в подвижную трубу 5, укрепленную в поршне 4, а затем в полость 5 поршня и охлаждает его головку. Отвод жидкости можно произвести с помощью такого же телескопического механизма, расположенного с другой стороны поршня. Имеющийся на телескопической трубе сальник 2 не допускает пропуска охлаждающей жидкости в картер двигателя.
Литература
Судовые системы и трубопроводы - Овчинников И.Н., Овчинников Е.И. [1988]