Клапаны и клапанные коробки

Клапаны

В судовых трубопроводах применяют клапаны разнообразных конструкций. Одними из них управляют вручную с помощью маховика, другие действуют автоматически. По назначению клапаны подразделяются на запорные, невозвратные, невозвратно-запорные, предохранительные и редукционные.

Запорные клапаны. Запорные клапаны предназначены для разобщения и герметизации отдельных участков трубопроводов.

Для них характерно то, что тарелка, закрывающая проход, перемещается с помощью штока, соединенного с ней, и в то же время может поворачиваться вокруг оси штока. Это дает возможность при посадке тарелки на седло клапана предотвратить истирание и порчу уплотнительных поверхностей седла корпуса и тарелки. Трапецеидальная резьба штока входит в резьбовую втулку, нарезанную часть корпуса или в крышку клапана.

При вращении штока с помощью маховика по часовой стрелке клапан открывается, а при вращении против часовой стрелки — закрывается.

Клапаны изготовляют из стали, бронзы, латуни, а также из легких сплавов. В судовых трубопроводах применяют клапаны с dy = 10 ÷200 мм. С увеличением прохода резко возрастают габариты и масса клапанов, а также затрудняется осуществление их запирающей способности.

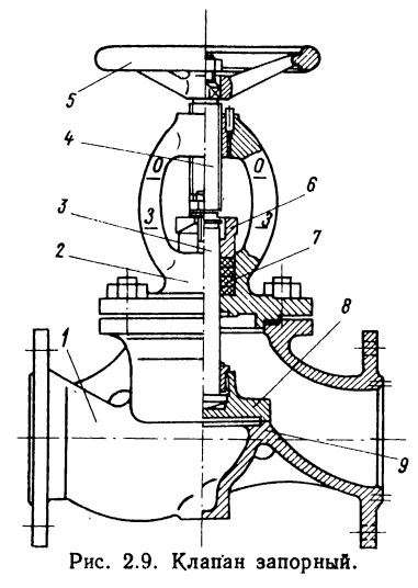
На рис. 2.9 показано устройство запорного клапана. В клапане тарелка 8 соединена со штоком 3 так, что может поворачиваться вокруг оси. Кольцевой выступ внутри корпуса 7, с которым соприкасается тарелка, называется седлом 9. Уплотнение достигается притиркой тарелки к седлу. Шпиндель 4 удерживается в крышке 2 резьбой. Для предотвращения протечки жидкости из клапана наружу шток 3 уплотняют сальниковой набивкой 7, удерживаемой втулкой 6. Вращение шпинделя осуществляется с помощью маховика 5.

Клапан запорный

Степень открытия или закрытия клапана определяется по указателю на штоке и рискам на крышке клапана с буквами 3 и О, что означает «Закрыто» и «Открыто». Через запорный клапан жидкость может протекать в обоих направлениях. В процессе эксплуатации сальниковое уплотнение ослабляется и через него может происходить протечка жидкости, поэтому втулку 6 следует периодически подтягивать.

Невозвратно-запорные и невозвратные клапаны. Невозвратные клапаны открываются потоком среды и пропускают ее только в одном направлении, т. е. из области большего давления в область меньшего давления. В судовых трубопроводах такие клапаны устанавливают в питательных трубопроводах котлов, во всасывающих и нагнетательных трубопроводах насосов, за конденсато-отводчиками и в других трубопроводах, где не допускается движение среды в обратном направлении.

Клапан невозвратный и клапан невозвратно-запорный

По конструктивному исполнению невозвратные клапаны подразделяют на подъемные, в которых тарелка свободно перемещается по оси седла клапана, и поворотные (захлопки), в которых тарелка (диск) свободно поворачивается вокруг оси, перпендикулярной к оси проходного сечения клапана. К невозвратным относятся и приемные клапаны, устанавливаемые на всасывающих трубопроводах насосов во избежание слива среды в момент их остановки.

Невозвратно-запорные клапаны в закрытом состоянии препятствуют движению среды в любом направлении, а в открытом (при поднятом штоке) работают как невозвратные. В них в отличие от запорных тарелка на штоке не закреплена.

Невозвратные и невозвратно-запорные клапаны следует устанавливать при вертикальном положении штока; отклонение оси штока от вертикали допускается не более 15°.

В невозвратном клапане (рис. 2.10) нет, как в запорном, штока и маховика. Открывается он автоматически потоком жидкости, при этом тарелка поднимается вверх. По прекращении движения жидкости тарелка под действием собственной массы опускается на седло. В некоторых клапанах тарелка может прижиматься к седлу специально установленной пружиной.

Невозвратно-запорный клапан (рис. 2.11) по конструкции подобен запорному с той лишь разницей, что шток не соединен с тарелкой, и своим нижним концом входит в гнездо тарелки. Поэтому, когда шток перемещается вверх, тарелка остается на месте. Поднимается она вверх, как и в невозвратном клапане, только под давлением потока жидкости. В конструкции этого клапана сочетаются особенности запорного и невозвратного клапанов. Так, во время перекачивания жидкости по трубопроводу тарелку можно посредством маховика и штока принудительно опустить на седло, т. е. закрыть клапан.

Предохранительные клапаны. Предохранительные клапаны предназначены для предотвращения повышения давления в трубопроводах сверх установленных норм, что может привести к потере герметичности или разрыву трубопровода. При повышении давления клапаны открываются автоматически и сбрасывают лишнее количество рабочей среды в специальную емкость, приемную часть насоса, конденсатор или атмосферу, снижая тем самым давление. При восстановлении необходимого рабочего давления выпуск рабочей среды прекращается и тарелка садится на седло под действием пружины, установленной в корпусе клапана.

На рис. 2.12 показан предохранительный клапан, применяемый в системе сжатого воздуха. При нормальном давлении воздуха силой натяжения пружины 4, регулируемой болтом 1, тарелка 5 в корпусе 7 клапана прижата к седлу, и клапан закрыт. В случае превышения этого давления более чем на 10 % тарелка отожмется вверх и воздух начнет выходить через окно 6 колпака 2 наружу.

Клапан предохранительный

Вследствие этого давление в трубопроводе будет понижаться; по достижении допустимой величины пружина 4, упираясь в верхнюю тарелку 3, возвратит тарелку 5 в исходное положение. Клапан при этом закроется.

Подобно запорным клапанам предохранительные клапаны по конструкции бывают штуцерными, фланцевыми, угловыми и проходными. Клапаны выполняются одно- или двухседельными. Применение двухседельных клапанов позволяет увеличить их пропускную способность. Уплотнительные поверхности предохранительных клапанов для уменьшения разности площадей тарелки в открытом и закрытом положениях клапана должны быть по возможности узкими. Уплотнительные поверхности тарелок клапанов подвержены повышенному износу под воздействием высоких скоростей среды. Для упрочнения этих поверхностей применяют материалы, обладающие высокой стойкостью к эрозии, а также производят притирку тарелок клапанов к седлам.

Редукционные клапаны. Редукционные клапаны предназначены для снижения и автоматического поддержания требуемого давления среды независимо от изменения расхода ее в трубопроводе. Будучи отрегулированы для снижения редуцируемого давления до требуемого, более низкого, клапаны поддерживают это давление независимо от колебаний первоначального давления. По конструкции они подразделяются на поршневые и мембранные (диафрагменные). После прекращения движения среды редукционный клапан должен автоматически закрываться, но так как его регулирующий орган не является запорным, то за регулятором во избежание выравнивания давления среды при длительйом отсутствии расхода устанавливают предохранительные клапаны.

Редукционные клапаны, как правило, изготовляют односедельными. Двухседельные клапаны, которые требуют меньших усилий для перестановки регулирующего органа и обеспечивают более высокую точность регулирования, применяют в трубопроводах пара высоких параметров. Редукционные клапаны устанавливают при вертикальном положении регулирующего винта.

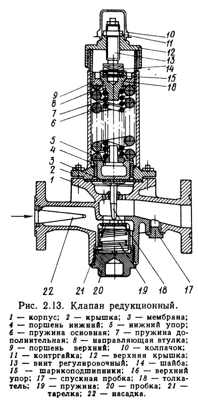
На рис. 2.13 показано устройство редукционного клапана для понижения давления сжатого воздуха. Понижение давления воздуха в клапане происходит в процессе протекания его через насадку и затем кольцевую щель, образуемую тарелкой и седлом корпуса. Когда воздух к клапану не поступает, силой натяжения основной пружины мембрана клапана прогибается вниз, перемещая при этом посредством толкателя тарелку в крайнее положение. При этом клапан открывается полностью. Когда через клапан начнет проходить сжатый воздух, то под его давлением тарелка переместится несколько вверх. Но натяжение основной пружины будет препятствовать закрытию клапана, и между тарелкой и седлом корпуса клапана образуется щель, через которую будет проходить воздух.

Клапан редукционный

Если давление за клапаном по каким-либо причинам повысится (например, в результате уменьшения расхода), то в первый момент нарушится установившееся равновесие между давлением воздуха на тарелку и натяжением основной пружины, и тарелка несколько переместится вверх, сузив щель. Тогда скорость воздуха в щели возрастает, что вызовет понижение давления до начальной величины. Аналогично этому автоматически выравнивается давление за клапаном и при увеличении расхода воздуха в трубопроводе. Регулирование натяжения основной пружины с целью поддержания редуцированного давления до заданной величины осуществляется регулировочным винтом.

Клапанные коробки. Для централизации управления судовыми системами применяют клапанные коробки, в корпусе которых установлено два, три или более клапанов. Клапанные коробки бывают запорного и невозвратно-запорного типов. При установке клапанной коробки требуется меньше места, чем при установке нескольких отдельных клапанов.

Трехклапанная коробка с невозвратно-запорными клапанами

На рис. 2.14 изображено устройство трехклапанной коробки с невозвратно-запорными клапанами. Корпус коробки имеет пять патрубков, три из которых крепятся к трубам, идущим к потребителям среды, а два — к магистральному трубопроводу. Такая коробка позволяет поступать жидкости или пару в магистраль одновременно из всех приемников сразу или отдельно из каждого, а также протекать по магистрали при закрытых клапанах.

Литература

Судовые системы и трубопроводы - Овчинников И.Н., Овчинников Е.И. [1988]

MirMarine
MirMarine – образовательный морской сайт для моряков.
На нашем сайте вы найдете статьи по судостроению, судоремонту и истории мирового морского флота. Характеристики судовых двигателей, особенности устройства вспомогательных механизмов и систем.