Приемные сетки и фильтры

Приемные сетки служат для защиты труб, арматуры и механизмов от попадания в них посторонних предметов, которые могут нарушить нормальную работу трубопровода. Сетки устанавливают в цистернах или отсеках на концах всасывающих труб. Конструкции сеток разнообразны.

В настоящее время в судовых системах широко применяют сетки с боковыми отверстиями, показанные на рис. 2.19. Они легко разбираются и очищаются. Диаметр отверстий сеток равен 8—10 мм, а общая их площадь составляет две-три площади прохода всасывающих труб. Если насос, принимающий жидкость из цистерны, работает непродолжительно, то часто у приемной сетки ставят невозвратный клапан (рис. 2.20).

Приемная сетка с боковыми отверстиями и приемная сетка с невозвратным клапаном

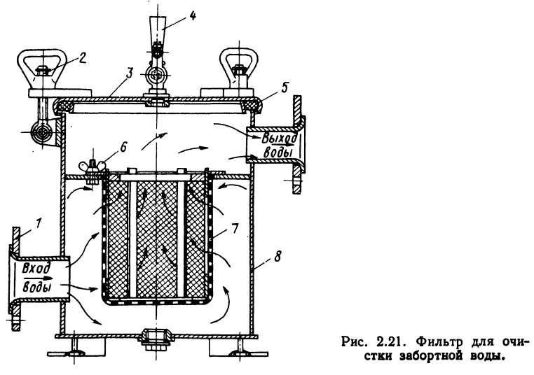
Для очистки забортной воды от ила и песка на всасывающих трубопроводах пожарных и балластных насосов кроме сеток устанавливают грязевые коробки или фильтры. Показанный на рис. 2.21 фильтр состоит из сварного корпуса 5, фланца 1, крышки 3, уплотняемой резиновой прокладкой 5, и фильтрующего стакана 7, обтянутого мелкой металлической сеткой. На верхней части крышки фильтра для отвода воздуха имеется кран 4 с трубой, выведенной выше ватерлинии судна. Быстрота разборки и сборки фильтра обеспечивается наличием откидных болтов 2 и барашка 6.

Кроме фильтров для очистки воды существуют фильтры для очистки нефтепродуктов.

Литература

Судовые системы и трубопроводы - Овчинников И.Н., Овчинников Е.И. [1988]

MirMarine
MirMarine – образовательный морской сайт для моряков.
На нашем сайте вы найдете статьи по судостроению, судоремонту и истории мирового морского флота. Характеристики судовых двигателей, особенности устройства вспомогательных механизмов и систем.