На судах принято иметь не зависящие одна от другой системы мытьевой, пресной и забортной воды. Мытьевая вода хранится на судне в запасных цистернах, затем подается в расходные цистерны, а из них подводится к местам потребления. Вместимость расходных цистерн колеблется от 2 до 3 м3. Во избежание замерзания расходные цистерны оборудуются подогревателями, защищенными тепловой изоляцией. Системы мытьевой воды обеспечиваются пневмоцистернами, позволяющими производить автоматически пуск и остановку насосов, подающих воду потребителям.
Схема установки с пневмоцистерной приведена на рис. 3.33. Из запасной цистерны 5 насос 4 подает воду в герметически закрытую пневмоцистерну 2 со спускным клапаном 1. По мере поступления в нее воды воздух в цистерне сжимается и, когда давление достигнет 0,3—0,45 МПа, насос под действием реле 3 остановится, а пневмоцистерна заполнится водой до определенного уровня. По мере расхода воды потребителями давление воздуха в цистерне будет падать и, когда оно понизится до 0,3—0,25 МПа, произойдет включение насоса с помощью того же реле 3. Наличие пневмоцистерны и реле позволяет системе работать в автоматическом режиме.
Система забортной воды
Основное назначение системы забортной воды — подача воды к санитарному оборудованию судна, в санитарно-бытовые помещения и помещения пищеблока. Система забортной воды отличается от системы мытьевой воды отсутствием запасных цистерн и характеризуется подводом к насосу воды непосредственно из-за борта. Забортная вода принимается, как правило, кингстоном через приемную трубу и перекачивается электронасосом в пневмоцистерну (рис. 3.34), откуда подается к местам потребления. В пневмоцистерне системы забортной воды, а также в напорной магистрали поддерживается давление, позволяющее обеспечить подачу воды по всей магистрали. Система забортной воды обычно является автономной.
В качестве резервного средства питания потребителей системы забортной воды помимо пневмоцистерны иногда предусматривается подача воды от напорной трубы пожарного насоса через редукционный клапан, понижающий давление до 0,35 МПа.
Система пресной (питьевой) воды
Система пресной воды существует независимо от систем мытьевой и забортной воды. Питьевая вода хранится в особых цистернах, покрытых изнутри раствором цемента, полиэтиленовой пленкой или специальной краской. На судне должно быть не менее двух цистерн (ввиду их поочередной периодической чистки). Для пополнения запасов питьевой воды на судне имеются опреснительные установки. Пресная вода с помощью насосов подается из запасных цистерн в расходные, откуда по магистралям подводится к местам потребления. Чтобы вода не замерзла при понижении температуры наружного воздуха, расходные цистерны снабжают подогревателями и покрывают снаружи тепловой изоляцией. Питьевую воду хранят в специальных запасных цистернах, которые с целью предохранения воды от нагревания и порчи располагают в местах, удаленных от источников тепла. Трубопровод питьевой воды изготовляют из стальных оцинкованных труб.
Система питьевой воды должна быть абсолютно автономной и использование ее трубопроводов, насосов и цистерн для других целей, а также размещение цистерн питьевой воды в междудонных пространствах категорически запрещается.
Одним из наиболее распространенных способов приготовления пресной воды из забортной морской является дистилляция, которая заключается в выпаривании морской воды в специальном аппарате, называемом испарителем, и последующей конденсации пара в конденсаторе. С целью повышения КПД установки между испарителем и конденсатором часто устанавливают подогреватели забортной воды.
Схема опреснительной установки показана на рис. 3.35. Установка состоит из испарителя 3, подогревателя 7, конденсатора 13, пробного бака 16 и аэратора 18. Она получает питание от магистрали забортной воды. По трубе 10 забортная вода поступает в подогреватель и оттуда по трубе 6 в испаритель, где паром, идущим по змеевикам, нагревается до температуры кипения. Образовавшийся при кипении воды вторичный пар под давлением проходит через сепаратор 2, где сепарируется от влаги, и уходит по трубе 5 в подогреватель. Отделяемая от пара влага удаляется из сепаратора по трубе 4 под зеркало испарения.
В подогревателе вторичный пар отдает часть своей теплоты на подогрев забортной воды и далее по трубе 12 направляется в конденсатор, где движется в направлении, противоположном потоку воды, поступающей в конденсатор по трубопроводу 15 и уходящей из него по трубопроводу 14. В конденсаторе пар конденсируется в дистиллят, который стекает в пробный бак 16, а оттуда после взятия пробы на соленость поступает в аэратор 18, где насыщается кислородом воздуха, поступающим по трубопроводу 17.
После аэрации дистиллят по трубе 19 направляется в цистерну пресной воды. Установка работает на насыщенном паре от вспомогательного трубопровода пара. Свежий пар поступает в испаритель по трубопроводу 1, проходит по змеевикам нагревательной батареи, конденсируясь, нагревает забортную воду и по трубопроводам 9 и 11 выходит к вспомогательному холодильнику или в трюм. Удаление остатков забортной воды и солей происходит через кран продувания 8.
Фановая и сточная системы
Фановая система предназначена для удаления непосредственно за борт через бортовые захлопки или береговые емкости и в специальные судовые грязевые цистерны фекальных вод из гальюнов. Размеры труб фановой системы и ее устройство должны быть такими, чтобы обеспечивался свободный выход нечистот. Для этого диаметр труб принимают не менее 100 мм. Трубы прокладывают кратчайшим путем с уклоном 0,05%, избегая при монтаже изгибов и закруглений.
По Правилам Регистра на пассажирских судах число гальюнов определяется для экипажа из расчета одно место на 10—15 человек, для пассажиров — одно место на каждые 50 человек. Кроме того, если помещения экипажа находятся в разных районах судна, то в каждом из них должно быть предусмотрено по одному месту.
Согласно существующим нормам, фановый трубопровод выводится примерно на 300 мм выше грузовой ватерлинии перпендикулярно к обшивке и, как правило, по левому борту. Выходное отверстие фанового трубопровода имеет захлопку, предохраняющую трубопровод от попадания воды внутрь судна при качке. На современных судах фановые системы снабжают фекальными цистернами, из которых фекалии с помощью эжекторов или насосов отводят за борт.
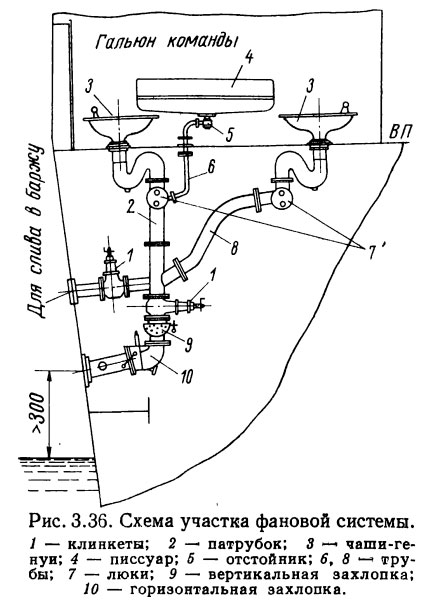
Один из участков фановой системы на судне показан на рис. 3.36. В данной схеме отсутствуют фекальные цистерны — грязные воды и фекалии через патрубок сливаются в специальную баржу во время нахождения судна в районе со строгим санитарным режимом. На сливной магистрали фанового трубопровода установлены вертикальная и горизонтальная захлопки. Тарелки захлопок, расположенные в поперечной и продольной плоскостях судна, при килевой и бортовой качке запирают спускной трубопровод и защищают его от проникновения забортной воды. Кроме захлопок на трубопроводе устанавливают клинкеты, управляемые с палубы.
Сточная система служит для удаления воды с закрытых палуб, а также отвода грязевых вод из бань, прачечных и камбузов. Шпигатная система предназначена для удаления воды с открытых палуб. На рис. 3.37 приведена схема удаления воды с палуб и из помещений при помощи шпигатных труб 2. С палуб 4 вода отводится по шпигатным трубам на открытую палубу над грузовой ватерлинией, откуда через козырьки 3 спускается за борт.
С палуб, расположенных ниже грузовой ватерлинии, сточные воды удаляются по шпигатным трубам 2 в льяла 1 или в цистерны грязевой воды, размещенные в междудонных или бортовых отсеках, и затем насосами за борт.
Во избежание засорения шпигатные трубы оборудуют специальными шпигатами (рис. 3.38), которые снабжены решетками 1, козырьками 2 и застойными полостями 3. Сточные трубы, отводящие воду из помещений, снабжены сифонами, являющимися гидравлическими затворами для газов, образующихся при разложении органических веществ.
Сточный трубопровод выполняют из стальных оцинкованных труб и монтируют для обеспечения хорошего спуска воды с уклоном; в местах, где есть основание ожидать застоя воды, предусматривают возможность очистки и продувания трубопровода.
Литература
Судовые системы и трубопроводы - Овчинников И.Н., Овчинников Е.И. [1988]