Газоотводная система на нефтеналивных судах предназначена для отвода из отсеков (танков) в атмосферу излишних паров нефтепродуктов, образующихся при повышении давления, или ввода в отсеки (танки) воздуха при понижении в них давления ниже атмосферного.
С атмосферой отсеки сообщаются во время приема и выкачивания нефтепродуктов, а также при резких изменениях температуры, когда происходит так называемое «дыхание» отсеков, заключающееся в периодическом изменении направления движения паров в газоотводных трубах. Например, при ночном похолодании часть паров в отсеках конденсируется, вследствие чего давление в отсеках падает, в них через газоотводные трубы входит атмосферный воздух, и давление внутри и снаружи отсека выравнивается; при повышении температуры окружающей среды в дневное время происходит испарение нефтепродуктов, в результате чего давление в отсеках возрастает и некоторая часть паров вместе с воздухом уходит в атмосферу.
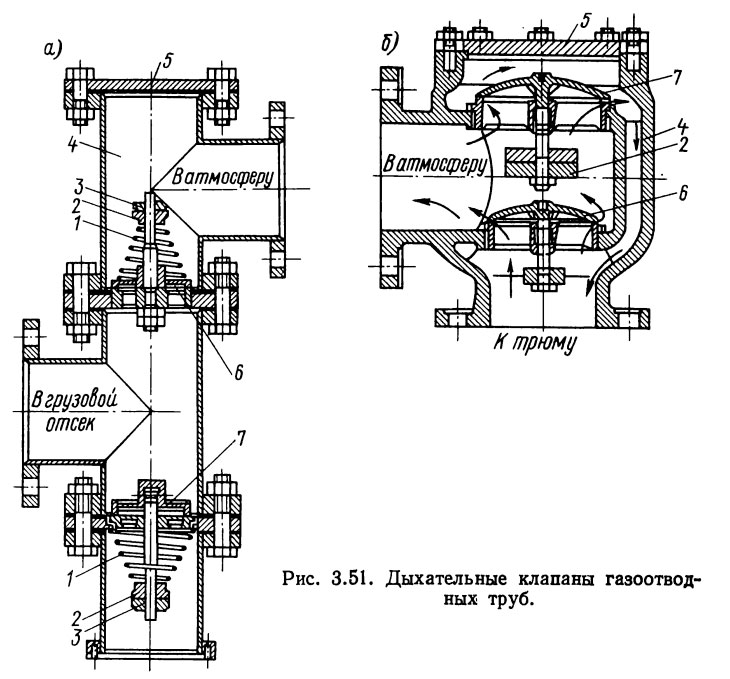
Чтобы обеспечить нормальную работу системы, газоотводные трубы оборудуют дыхательными клапанами. Эти клапаны препятствуют свободному выходу паров нефтепродуктов и уменьшают потери перевозимого груза от испарения.
По конструкции дыхательные клапаны в основном делятся на пружинные (рис. 3.51, а), механического действия (рис. 3.51, б) и гидравлические. Устройство клапанов первых двух типов следующее. В корпусе 4 дыхательного клапана, закрытого крышкой 5, имеются клапаны давления 6 и вакуума 7, которые под действием силы сжатия пружины 1 или массы груза 2 и собственной массы прижимаются к седлам и перекрывают выход паров нефтепродуктов из отсеков в атмосферу.
Если давление паров в отсеках (танках) превысит значение, на которое рассчитан клапан 6 (это может произойти при приеме груза или вследствие значительного повышения температуры), то он под действием давления паров поднимется и даст им возможность выйти в атмосферу. Если же образуется избыточный вакуум, что может произойти при выкачиваний груза и значительном снижении температуры, то клапан-вакуума 7 под действием атмосферного давления поднимется и пропустит в отсеки воздух. Этим достигается выравнивание давлений внутри и снаружи цистерны (танка). У пружинных клапанов давление открытия клапанов 6 и 7 регулируется гайками 3.
Литература
Судовые системы и трубопроводы - Овчинников И.Н., Овчинников Е.И. [1988]