Регуляторы уровня воды в вспомогательном котле

В целях автоматического поддержания постоянного уровня воды в котле вспомогательные паровые котлы оборудуются регуляторами уровня воды. Исправное действие их предотвращает упуск воды из котла и выход последнего из строя.

Датчики уровня воды имеют обычно пневматический или электрический выход. В них используют измерительные устройства поплавкового или гидростатического типа, а также устройства, измеряющие перепад давлений.

Ниже приводятся некоторые конструкции регуляторов уровня воды в котле.

Реле уровня «Мобрей»

Рис 1. Для формирования сигнала о положении уровня воды заданного значения обычно используют реле уровня «Мобрей» с поплавковым измерительным устройством и магнитоуправляемыми контактами - герконами. Поплавок соединен с постоянным магнитом, который расположен напротив такого же магнита в корпусе реле. Одноименные полюса этих магнитов отталкиваются один от другого через стенку корпуса реле, благодаря чему происходит переключение контактов в процессе отслеживания поплавком уровня воды.
Позиции на рисунке: 1 - контакты; 2 - корпус поплавка; 3 - магниты.

Поплавковый регулятор

Рис 2. Другая разновидность конструкции поплавкового регулятора. Изменение уровня воды в котле влияет на положение поплавка и связанного с ним клапана, регулирующего поступление воды в котел. Данный тип регулятора уровня имеет малую чувствительность, присущую всем регуляторам прямого действия.
Позиции на рисунке: 1 - противовес; 2 - поплавок; 3 - питательный клапан.

Буйковый регулятор

Рис 3. Одной из разновидностей поплавкового регулятора является буйковый регулятор. Небольшие перемещения буйка при изменении уровня воды в котле вызывает действие питательного клапана на увеличение подачи воды в котел или уменьшение.
Позиции на рисунке: 1 - талреп; 2 - питательный клапан; 3 - пружина; 4 - рычаг; 5 - шток буйка; 6 - буек.

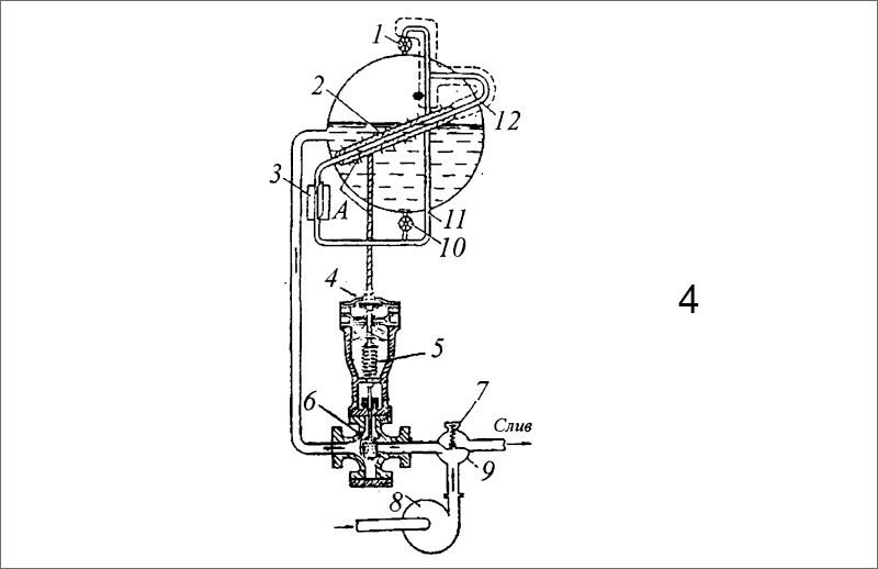
Схема конструкции одноимпульсного термогидравлического регулятора уровня воды в котле

Рис 4. Схема конструкции одноимпульсного термогидравлического регулятора уровня воды в котле. Термогидравлический регулятор применяют в сочетания с регулирующим клапаном, перемещаемым однополостным сервомотором. Этот тип регулятора основан на измерении только отклонения уровня воды в котле.

Измеритель (датчик) уровня воды в барабане котла представляет собой трубку 12, сообщенную клапанами 1 и 10 с паровым и водяным пространствами барабана. Трубка 12 в своей нижней части снабжена ребрами 3 для более интенсивного охлаждения, верхняя часть трубки покрыта изоляцией (показана пунктиром).

В трубке 12 и в соединительной трубке 11 устанавливается уровень соответствующий уровню воды в барабане котла. Трубка 12 окружена кожухом 2. Полость -А- внутри барабана рубашки соединена с герметичной полостью сильфона 4, регулирующего питательного клапана 6.

В положении полного закрытия клапана 6 полость -А- и соединительная трубка к сильфону 4 заполнена конденсатом. Чем выше будет давление в замкнутой полости -А-, тем больше будет усилие, действующее на диск сильфона 4 и тем больше откроется клапан 6, регулирующий подачу воды в котел.

От уровня воды в барабане зависит заполнение трубки 12 паром, от чего зависит, в свою очередь, количество тепла, подводимого паром к конденсату в полости -А- кожуха 2. При этом давление в полости и создаваемое им на сильфоне усилие изменяется в зависимости от уровня воды в барабане.

При снижении уровня воды в котле уровень воды в трубке 12 снижается и трубка больше омывается паром, давление в полости -А- повышается, и следовательно, повышается усилие на сильфон регулирующего, питательного клапана, степень открытия клапана увеличивается.

При повышение уровня воды в барабане, уровень воды в трубке 12 повышается, паровое пространства уменьшается, уменьшается подвод теплоты пара, что в свою очередь вызывает уменьшения давления в пространстве -А- и над диафрагмой регулирующего клапана и под действием пружины 5 степень открытия регулирующего клапана уменьшается.
Позиции на рисунке: 1 - клапан парового пространства; 2 - кожух трубки; 3 - ребра для охлаждения; 4 - сильфон регулирующего клапана; 5 - пружина; 6 - регулирующий питательный клапан; 7 - пружина регулятора слива; 8 - питательный насос; 9 - сбрасывающий клапан слива; 10 - клапан водяного пространства; 11 - соединительная трубка; 12 - измерительная трубка уровня.

Устройство регулятора питания котла «Коуп»

Рис 5. Устройство регулятора питания котла «Коуп». Он состоит из двух расширительных труб, расположенных под углом 45° и закрепленных на жесткой стальной раме. Верхние концы труб соединены между собой с помощью штуцера, к которому через трубу подводится пар из парового пространства котла. Корпус штуцера жестко закреплен на раме. Вода из нижних частей труб, имеющих шарнирное соединение с рычагами, отводится к водяному пространству котла. Регулятор устанавливают так, чтобы при нормальном уровне воды верхняя половина расширительных труб заполнялась паром, а нижняя - водой. Трубопровод подвода пара тщательно изолирован, в процессе работы котла пар в трубках имеет ту температуру, что и в котле, в то время как температура воды в неизолированных трубах ниже. Перемещения нижних частей расширительных труб увеличиваются с помощью рычагов 1 и 4. Перемещение этих рычагов суммируются, затем увеличиваются с помощью соединенного с ними рычага 2. Этот рычаг непосредственно воздействует на регулирующий питательный клапан, который работает с очень малым трением, так как его шпиндель совершает только вращательное движение.

Понижение уровня воды в котле приводит к увеличению длины труб, заполненных паром, что заставляет трубы расширяться. Это вызывает поворот рычага 4 против часовой стрелки и рычага 1 - по часовой стрелке. В результате этого рычаг 2 поворачивается против часовой стрелки, что приводит к открыванию клапана подвода питательной воды. В случае повышения уровня воды сокращение расширительных трубок приводит к уменьшению подачи питательной воды.
При качке судна уровень воды в одной расширительной трубе падает, а в другой - повышается. Это вызывает поворот рычагов 1 и 4 в одном и том же направлении, что не приводит к дополнительному перемещению рычага 2 и перемещению регулирующего органа.

MirMarine
MirMarine – образовательный морской сайт для моряков.
На нашем сайте вы найдете статьи по судостроению, судоремонту и истории мирового морского флота. Характеристики судовых двигателей, особенности устройства вспомогательных механизмов и систем.