Водотрубные двухконтурные котлы

Общие сведения

Основная проблема для котлоагрегатов дизельных судов - низкое качество питательной воды, так как открытые системы питания создают опасность попадания масла в конденсат в связи с использованием паровых механизмов.

Надежная работа любого котла невозможна без тщательной очистки питательной воды от примесей и солей. Отложение накипи на поверхности нагрева и особенно масла не только ухудшают теплопередачу, но и могут привести к аварии котла. Чтобы избежать кислородной коррозии, загрязнения маслом и накипью поверхностей нагрева, на дизельных танкерах применяют двухконтурные водотрубные котлы.

В обычных водотрубных котлах может произойти перегрев труб при загрязнении их внутренних поверхностей нефтепродуктами или накипью. Кроме того, не менее опасным для обычных котлов является упуск воды, возможность которого не исключена в эксплуатационных условиях при нарушении нормальной работы системы питания.

В этом отношении двухконтурный котел надежнее обычных водотрубных котлов. Первый контур работает на постоянном количестве дистиллята высокого качества, и практика эксплуатации показывает, что его утечки ничтожны. Таким образом, перегрев металла стенок труб первого контура по причине загрязнения исключаются.

Схема циркуляции воды первого контура та же, что и у обычного водотрубного котла, поэтому процесс естественной циркуляции в его трубах происходит достаточно надежно. Возможность упуска воды в первом контуре практически исключается, так как во время работы питать и продувать его не требуется.

Вынесение испарительных элементов котла из зоны высоких температур позволяет достигнуть требуемой надежности работы котла и избежать сложной системы водообработки питательной воды.

Двухконтурные котлы выпускаются фирмами: «Бурмейстер и Вайн», «Олъборг», «Фостер Уилер», «Дж. Томсон», «Шликер», «Свенска Маскиверкен», «Мицубиси Дзосэн».

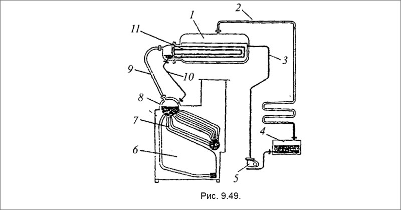
Принципиальная схема двухконтурного котла дана на рис. 9.49.

Принципиальная схема двухконтурного котла

Рис. 9.49. Принципиальная схема двухконтурного котла: 1 - пароводяной барабан второго контура; 2 - магистраль потребителя пара; 3 - трубопровод питательной воды второго контура; 4 - конденсатный танк (теплый ящик); 5 - питательный насос; 6 - топка котла; 7 - пучок водогрейных труб; 8 - пароводяной барабан первого контура; 9 - труба подачи насыщенного пара от барабана первого контура; 10 - труба отвода конденсата греющего пара; 11 - змеевик парообразующей поверхности второго контура.

В пароводяном барабане 1 второго контура размещена трубчатая парообразующая поверхность 11, обогреваемая насыщенным паром, поступающим по трубе 9 из пароводяного барабана 8 первого контура. Теплопередача через испарительную поверхность происходит за счет разности температур кипения воды в первом и во втором контурах, которая составляет около 50°С при нормальной нагрузке. В связи с этим давление в первом контуре должно быть выше, чем во втором, примерно в 2-3,5 раза.

Для циркуляции воды в первом контуре конденсат греющего пара из пароводяного барабана 1 отводится по трубе 10 в пароводяной барабан 8 или в нижний водяной барабан. Образовавшийся в барабане 1 второго контура рабочий пар направляется к потребителям по трубе 2. Отработавший пар в виде конденсата собирается в теплом ящике 4 и оттуда питательный насос 5 по магистрали 3 направляет в пароводяной барабан второго контура 1.

Дымовые газы, образующиеся при сжигании топлива в топке 6, омывают поверхность нагрева пучка водогрейных труб 7 первого контура. Таким образом, полученный пар в барабане 8 первого контура направляется в пароводяной барабан 1 второго контура.

Двухконтурный паровой котел типа «Ольборг АТ4»

Фирма «Ольборг» выпускает двухконтурные котлы типа АТ4 паропроизводительностью 6-40 т/ч и типа АТ8 паропроизводительностью 30-80 т/ч с давлением пара в первом контуре 6,3 МПа, во втором - 2,35 МПа.

Приведенные краткие сведения о двухконтурных котлах свидетельствуют об их более высокой надежности по сравнению с водотрубными котлами в условиях работы вспомогательных установок на дизельных танкерах, где возможно загрязнение нефтепродуктами питательной воды.

Рассмотрим одну из конструкций двухконтурного котла фирмы «Ольборг» АТ4 (рис. 9.50).

Двухконтурный паровой котел типа «Ольборг АТ4»

Рис. 9.50. Двухконтурный паровой котел типа «Ольборг АТ4»: 1 - пароводяной барабан первого контура; 2 - водогрейные трубки; 3 - водяной барабан первого контура: 4 - трубы подвода насыщенного пара в пароводяной барабан второго контура; 5 - трубы пароперегревателя; 6 - водоуказательная колонка; 7 - трубы возврата конденсата от испарительной части второго контура; 8 - испарительные элементы в пароводяном барабане второго контура; 9 - водоуказательная колонка пароводяного барабана второго контура; 10- паровой стопорный клапан; 11 - воздушный краник; 12- предохранительный клапан; 13- пароводяной барабан второго контура; 14- воздухоподогреватель; 15 - вспомогательный газоход; 16 - расположение пароперегревателя; 17 - опускные трубы- 18 - труба подвода пара к пароперегревателю; 19 - труба перегретого пара к потребителям.

В первый контур включен обычный вертикальный водотрубный котел с пароводяным 1 и водяным барабанами, соединенными водогрейными трубками 2, образующими топочный экран и конвективный пучок водогрейных трубок на выходе газов из топки.

Насыщенный пар, полученный в первом контуре, поступает по трубам 4 в испарительный элемент 8, где отдавая тепло - конденсируется. Конденсат по трубам 7 стекает в пароводяной барабан 1. Таким образом, первый контур, состоящий из системы, включающей барабаны 1, 3, испаритель 8 и соединяющие их трубы 2,4, 7 являются полностью замкнутым и герметичным.

Второй, рабочий контур разомкнут и предназначен для получения пара низкого давления, направляемого к потребителям. Рабочий контур состоит из пароводяного барабана 13, в который поступает питательная вода, и пароперегревателя 15.

Пар, полученный в пароводяном барабане 13, поступает в пароперегреватель 16 по трубе 18, а затем направляется к потребителям по трубе 19. Для повышения к.п.д. котла предусмотрен воздухоподогреватель 14. Некоторые котлы имеют также водяной экономайзер, устанавливаемый за пароперегревателем и создающий повышенный к.п.д. котла. При растопке котла используют вспомогательный газоход 15, т.е. газы направляют мимо пароперегревателя, чтобы не допустить его пережога. Ввиду герметичности первого контура его заполняют дистиллятом, что обеспечивает безнакипный режим работы.

Трубы парообразующего испарителя второго контура скреплены между собой для предотвращения вибрации. Для уменьшения уноса воды вместе с паром в пароводяном барабане второго контура установлены циклонные сепараторы. В нижней части пароводяного барабана второго контура предусмотрен лаз для доступа к внутреннему пространству испарителя.

Кожух котла двойной с приваренными ребрами жесткости, которые одновременно служат опорой для крепления пароводяного барабана второго контура. Передний и задний фронтоны топки футерованы, пространство между внутренним и наружным кожухами используется для подвода воздуха к топочным устройствам. Ротационная форсунка оборудована системой автоматического управления, способной осуществлять регулирование в широких пределах. Арматура котла - обычного типа в соответствии требованиями классификационных обществ.

Принимая во внимание, что на дизельных танкерах двухконтурные котлы выводятся из эксплуатации на продолжительное время, есть необходимость обеспечить защиту наружных поверхностей испарителя второго контура от кислородной коррозии. С этой целью в водяном барабане первого контура устанавливают змеевик подогрева, к которому подается пар от утилизационного котла. Таким образом, поддерживается избыточное давление как в первом так и втором контурах котла.

MirMarine
MirMarine – образовательный морской сайт для моряков.
На нашем сайте вы найдете статьи по судостроению, судоремонту и истории мирового морского флота. Характеристики судовых двигателей, особенности устройства вспомогательных механизмов и систем.