Вспомогательные водотрубные однопроточные котлы

Общие сведения

На теплоходах с большой мощностью главных двигателей, танкерах и пассажирских судах, где потребности в паре велики, устанавливают вспомогательные котельные установки, включающие преимущественно водотрубные котлы с естественной и принудительной циркуляцией. При этом встречаются три основные схемы организации вспомогательной котельной установки теплоходов.

При первой схеме на судно устанавливается один вспомогательно-утилизационный котел, барабаны которого объединяют вспомогательную и утилизационную поверхности нагрева, т. е. котел выполнен как единое целое с раздельными газоходами.

При второй схеме вспомогательная котельная установка состоит из самостоятельных вспомогательных и утилизационных котлов, объединенных только паровыми магистралями.

Третья схема предусматривает установку утилизационных котлов с искусственной циркуляцией.

Вторая и третья схемы применяются для вспомогательных котельных установок с двигателями средней и большой мощности.

На судах отечественной постройки с различными типами энергетических установок широко применяются вспомогательные котельные установки с водотрубными котлами типа КВВА. Этот нормализованный ряд включает котлоагрегаты паропроизводительностью 1000-12000 кг/ч при рабочем давлении пара от 0,5 до 2,8 МПа.

Водотрубный однопроточный котел типа КВВА-1,5/5

Вспомогательный водотрубный котел типа КВВА-1,5/5

Рис. 9.32. Вспомогательный водотрубный котел типа КВВА-1,5/5:1 - паровое пространство пароводяного барабана; 2 - паросборная труба; 3 - питательная труба; 4 - необогреваемые опускные трубы; 5 - трубы экрана; 6 - водяной барабан; 7 - воздушное пространство кожуха котла; 8 - конвективный пучок труб.

На рис. 9.32 показан вспомогательный водотрубный однопроточный котел типа КВВА-1,5/5. Паропроизводительность котла составляет 1500 кг/ч при рабочем давлении пара 0,5 МПа. Он не имеет хвостовых поверхностей нагрева, что является причиной низкого к.п.д. (70-78 %).

Испарительная поверхность котла образована конвективным пучком и экраном, за которым расположены необогреваемые опускные трубы. Котел имеет один контур циркуляции. Отопление котла осуществляется одной паромеханической форсункой, производительность которой регулируется давлением топлива в зависимости от нагрузки котла по пару. Давление топлива перед форсункой меняется от 0,004 до 0,8 МПа. Для улучшения процесса распыла топлива топочное устройство оборудовано турбулизатором.

Подвод воздуха от вентилятора осуществляется непосредственно в кожух котла, который выполнен двухслойным. Расход воздуха регулируется шибером, установленным в приемном воздушном патрубке.

Котлы ряда КВВА имеют аналогичную компоновку и отличаются в основном габаритами и производительностью.

Водотрубный котел типа «Вагнер»

Вспомогательный водотрубный котел с водяным экономайзером и воздухо-подогревателем

Рис. 9.33. Вспомогательный водотрубный котел с водяным экономайзером и воздухоподогревателем: 1- паровой стопорный клапан; 2- пароводяной барабан; 3 - воздухоподогреватель; 4 - сажеобдувочное устройство; 5 - водяной экономайзер; 6 - коллекторы водяного экономайзера; 7 - конвективные водогрейные трубки; 8 - люк для осмотра; 9 - водяной барабан; 10 - фундамент котла; 11 - перегородка раздела потока воды; 12- топочное отверстие; 13 - трубка экрана; 14 - опускные трубы; 15 - клапан верхнего продувания; 16 - питательные клапаны; 17 - воздушный кран.

На рис. 9.33 представлена схема конструкции вспомогательного двухбарабанного водотрубного котла с пластинчатым воздухоподогревателем и змеевиковым экономайзером.

Котел снабжен ротационной форсункой, обеспечивающей относительно низкие величины коэффициента избытка воздуха.

Для поддержания поверхностей нагрева экономайзера и воздухоподогревателя в чистом состоянии котел снабжен сажеобдувочными устройствами.

По сравнению с выше рассмотренными схемами конструкций котлов, на рис. 9.34 представлен более мощный и экономичный водотрубный котел типа «Вагнер». Котел двухбарабанный, с естественной циркуляцией и однопроточным ходом газов паропроизводительностью 3500 кг/ч и рабочим давление пара в котле 0,6 МПа.

Вспомогательный водотрубный котел типа «Вагнер»

Рис. 9.34. Вспомогательный водотрубный котел типа «Вагнер»: 1 - водяной барабан; 2 - опускные трубы; 3 - задний экран; 4 - пароводяной барабан; 5 - воздушный кран; 6 - предохранительные клапаны; 7 - паровой стопорный клапан; 8 - магнитный датчик системы питания; 9 - паросборная труба; 10 - горловина пароводяного барабана; 11 - воронка верхнего продувания; 12 - растопочная форсунка; 13 - газонаправляющий щит; 14- форсунка; 15 - клапан и трубы продувания; 16 - трубы бокового экрана; 17 - конвективный пучок труб; 18 - щит опускных труб; 19 - трубы бокового экрана; 20 - опускные трубы.

Котел состоит из пароводяного барабана 4 и водяного барабана 1, соединенных трубами конвективного пучка 12 и экранов заднего 3 и боковых 13. Все обогреваемые трубы являются подъемными. Вода из пароводяного барабана в водяной подводится по опускным трубам 2 (размер труб 76x4 мм), расположенными со стороны бокового экрана за щитом 18 и по шести трубам 95x4 мм, установленным по три с каждой торцевой стороны. Конвективный пучок выполнен из труб 29x2,5 мм. Опускные трубы отделены от бокового экрана 13 щитом 2, что повышает надежность циркуляции. Котел в пароводяном барабане снабжен паросборной трубой 6 и арматурой верхнего и нижнего продувания 11.

Дымовые газы движутся к задней стенке топки, затем совершают поворот на 180° в горизонтальной плоскости, что обеспечивает поперечное смывание труб конвективного пучка газов, направленных в сторону фронта. Далее поток дымовых газов поворачивает на 90° вверх, в сторону пластинчатого воздухоподогревателя 5, который в связи с этим расположен на части длины котла. Воздухоподогреватель выполнен двухпроточным по ходу воздуха и скомпонован из стальных пластин толщиной 2 мм.

Котел отапливается двумя форсунками ротационного типа - основной 9 типа «Монарх» с диапазоном регулирования от 60 до 400 кг/ч топлива и предназначена для сжигания мазута, и растопочной 8, которая обеспечивает сжигание 2-10 кг/ч дизельного топлива.

Водотрубный котел марки КВКА 6/5

На рис. 9.35 показан поперечный разрез котла КВКА 6/5, предназначенный для газотурбинного судна. Индекс КВКА 6/5 означает, что агрегат водотрубный, автоматизированный с паропроизводительностью топливной части 6000 кг/ч и утилизационной - 5000 кг/ч с рабочим давлением пара 0,6 МПа.

Вспомогательный водотрубный котел марки КВКА 6/5 выпускаемый для газотурбинного сухогрузного судна

Рис. 9.35. Вспомогательный водотрубный котел марки КВКА 6/5 выпускаемый для газотурбинного сухогрузного судна: 1 - пароводяной барабан; 2 - парозаборный дырчатый лист; 3 - пароперегреватель топливной части; 4 - конвективнъй пучок водогрейных труб; 5 - опускные трубы; 6 - водяной барабан топливной части; 7 - пароперегреватель утилизационной части; 8 - патрубок утилизационной части; 9- сажеобдувочные устройства; 10 - водяной барабан утилизационной части; 11 - трубный пучок водогрейных труб утилизационной части; 12 - подъемные трубы экрана топливной части; 13 - металлическая перегородка раздела топливной и утилизационной части.

Основная особенность агрегата состоит в том, что для работы турбогенератора он вырабатывает пар с небольшой температурой перегрева. С этой целью как в топливной, так и в утилизационной частях установлены пароперегреватели соответственно 3 и 7.

Топливная часть котла состоит из подъемных труб экрана 12 и конвективного пучка 4, циркуляция воды осуществляется по опускным трубам 5. Утилизационная часть котла состоит из патрубка 8 подвода отработавших газов от ГТУ и омывают вначале пароперегреватель 7, затем водогрейные трубы пучка 11. Пароперегреватель 3 топливной части имеет змеевиковую конструкцию. Топочное устройство включает четыре горелки, расположенные по две на каждом фронте топливной части. Для всех элементов котла применены водогрейные трубы одинакового размера (29x2,5 мм), за исключением опускных труб размером 44x3 мм. В котле этого типа пароводяной барабан 1 общий для топливной и утилизационной части, водяные барабаны для каждой части отдельные - для топливной 6, для утилизационной 10. В пароводяном барабане 1 внутри размещен парозаборный щит 2 и необходимые устройства для нормальной эксплуатации котла.

Водотрубный котел «Вэпоракс» фирмы «Вэнсон»

Котел «Вэпоракс» фирмы «Вэнсон» - водотрубный, кипятильные трубки змеевикового типа (рис. 9.36).

Котел «Вэпоракс»

Рис. 9.36. Котел «Вэпоракс»: 1 - выход дымовых газов; 2 - стопорный клапан; 3 - форсунка; 4 - парообразующая поверхность нагрева; 5 - вентилятор; 6 - топливный насос; 7 - питательный насос; 8 - теплый ящик.

Питательный насос 7 центробежного типа берет воду из теплого ящика 8 и направляет в нижнюю часть парообразующего змеевика. В конструкции котла «Вэпоракс» предусмотрено верхнее расположение топочного устройства, в результате чего осуществляется возможность двухходового потока газов, т.е. топочные газы вначале идут вниз внутри топки, образованной змеевиком парообразующей поверхности нагрева, а затем поднимаются снаружи змеевика. Кожух котла двойной, причем межобшивочное пространство использовано для подвода воздуха к форсунке.

В конструкции котла не предусмотрены паровые или водяные коллекторы, хотя в отдельных случаях могут быть установлены сепараторы пара.

Считается, что полное давление рабочего пара при пуске котла из холодного состояния может быть достигнуто за 2 мин. Сухость пара при этом составляет 95-97 %. Котлы выпускаются паропроизводительностью 3500 кг/ч и давлением пара до 1,0 МПа.

Водотрубный котел «Стоун-Вэпор»

Котел «Стоун-Вэпор», конструкция которого подобна конструкции котла «Вэпоракс», но в его конструкции предусмотрен сепаратор (рис. 9.37).

Устройство водотрубного котла «Стоун-Вэпор»

Рис. 9.37. Устройство водотрубного котла «Стоун-Вэпор»: 1 - фиксатор змеевиков; 2- изоляция; 3,4, 5 - наружный, промежуточный и внутренний змеевики; 6 - обмуровка.

В котле «Стоун-Вэпор» 90 % воды проходящей через змеевики, превращается в пар. Пароводяная смесь, двигаясь с большой скоростью, уносит весь накипеобразующий шлам из змеевиков в сепаратор, где вода и шлам отделяются от пара. Предусматриваются периодические автоматические продувки сепаратора и возврат конденсата через конденсационный горшок в танк питательной воды. Тепло продуваемой воды утилизируется в специальном теплообменнике.

Как и в других котлах этого ряда, топка работает при избыточным давлении и имеет высокую тепловую напряженность топочного объема. Воздух, используемый для горения топлива, предварительно подогревается в пространстве, которое окружает верхнюю часть топки. Топочные газы опускаются вниз и в стороны, поперечно омывая трубы змеевиков. С целью лучшего смывания поверхности нагрева спирально навитые змеевики расположены по ходу газов в шахматном порядке. Питательный и топливный насосы, а также вентилятор форсунки имеют привод от одного электродвигателя. Полная паропроизводительность котла достигается через 3-4 мин. после начала работы.

Основным элементом котла «Стоун-Вэпор» является система змеевиков, она может включать до четырех спирально навитых змеевиков из труб, сваренных из секций длиной по 6100 мм. Змеевики подключаются к системе циркуляции с помощью штуцерных или фланцевых соединений. Эти соединения расположены снаружи кожуха установки с тем, чтобы ни одно из них не подвергалось воздействию греющих газов. Такая конструкция позволяет демонтировать и заменять секции змеевиков без замены всего комплекта.

Топливная система котла «Стоун-Вэпор», как и других котлов со спиральными змеевиками, спроектирована для работы на топливе, имеющем вязкость 6-12 сСт при температуре 20°С.

Котлоагрегаты «Стоун-Вэпор» изготавливают паропроизводительностью до 3000 кг.

Водотрубный котел «Клэйтон»

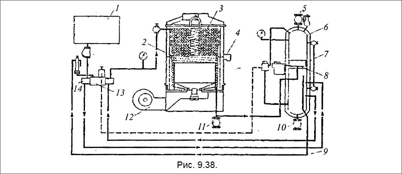
Котел «Клэйтон» показан на рис. 9.38.

Котел «Клэйтон»

Рис. 9.38. Котел «Клэйтон»: 1 - питательная емкость; 2 - термостатический виток; 3 - змеевики; 4 - выключатель подачи топлива; 5,10,11 - стопорный и дренажные клапаны; 6 - сепаратор пара; 7 - циклонный сепаратор; 8 - уровень воды; 9 - трубопровод автоматической продувки котла; 12 - вентилятор; 13,14 - циркуляционный и питательный насосы.

Котел однопроточный и его топочное устройство расположено внизу, а трубная система образована как геликоидальными, так и плоскими спиральными элементами. Экономайзерная секция состоит из пакета плоских спиральных змеевиков, расположенных над топкой. Сразу под экономайзерной секцией змеевиков последовательно с ней соединена секция парообразующих плоских змеевиков. Завершают парообразующую часть геликоидально навитые трубы, образующие водоохлаждаемые стенки топки.

Особенностью парообразующей секции поверхности нагрева является наличие так называемого термостатического витка, который находится в топке (рис. 9.39). Вследствие недостатка воды или другой причине тепловое расширение частично закрепленного витка змеевика приводит к срабатыванию быстрозапорного клапана топливной системы котла.

Топка котла «Клэйтон»

Рис. 9.39. Топка котла «Клэйтон»: 1 - наружное термостатическое кольцо; 2- экран из хромоникелевой стали; 3 - термостатический виток змеевика; 4 - трубопровод подвода воздуха; 5 - выход к сепаратору пара; 6 - конечный выключатель; 7 - упор; 8 - наружное кольцо.

В отличие от котла «Стоун-Вэпор», в котле «Клейтон» и его системе применяют два насоса. Питательным насосом воду подают в сепаратор пара, поддерживая в нем постоянный уровень, а циркуляционным насосом - из сепаратора пара воду прокачивают через змеевики.

Остальные технические характеристики котлов такие же, как у других котлов этого же класса. Котлы «Клейтон» выпускают паропроизводительностью 2600-4700 кг/ч при давлении рабочего пара соответственно 1,1 и 2,8 МПа.

Котлы «Миура» типа VWS и VW

На судах японской постройки используются котлы типа VWS и VW, выпускаемые фирмой «Миура» Япония, которые коренным образом отличаются от котлов, поверхность нагрева которых состоит из змеевиков.

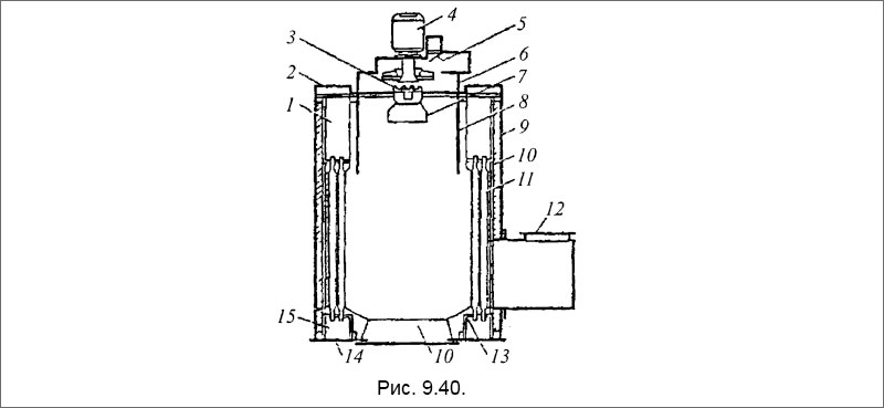
Котел типа VWS (рис. 9.40) состоит из двух кольцевых коллекторов прямоугольного сечения, которые соединены пакетом прямых труб, образующих стенки топки. Для удобного доступа к внутреннему пространству коллекторов их крышки крепят с помощью болтов.

Котел типа VWS

Рис. 9.40. Котел типа VWS: 1,15- верхний и нижний коллекторы; 2 - крышка верхнего коллектора; 3 - форсунка; 4 - электродвигатели вентилятора; 5 - заслонка; 6 - воздушный короб; 7 - воздухонаправляющее устройство; 8 - экран; 9 - кожух котла; 10- футеровка; 11 - кипятильные трубы; 12- выход дымовых газов; 13 - трубная доска; 14 - крышка нижнего коллектора.

В котельной установке с котлом типа «Миура» VWS (см. рис. 9.41) котел может быть использован в качестве сепаратора пара утилизационного котла. Рядом со штатными водоуказательными приборами расположены датчики уровня, включенные в электрическую цепь питательных насосов. Предусмотрена защита котла при снижении уровня воды до предельно допустимого.

Количество топлива, подводимого к форсунке, изменяют с помощью соленоидных клапанов, управляемых датчиками высокого и низкого давления пара. Температура топлива перед форсункой поддерживается постоянной с помощью регулятора, установленного на линии подвода пара к подогревателю. Давление топлива перед форсункой также регулируется автоматически. В системе автоматического управления котла предусмотрена вентиляция топки перед включением форсунки, а также защита котла в случае обрыва факела. Интересной особенностью является защита по высокой температуре газа за котлом, что служит дополнительной мерой предотвращения работы котла в случае упуска воды.

Котлы «Миура» могут работать на топливах многих видов, применяемых в судовых дизельных установках. Они отвечают требованиям большинства классификационных обществ.

Котлы типа VWS производят паропроизводительностью 400-1600 кг/ч с рабочим давлением 1,0 МПа, котлы типа VW до 2000-6700 кг/ч давление пара 1,0 МПа.

Котел типа VWS

Рис. 9.41. Котельная установка с котлом типа VWS: — питательная вода; -.-.-пар; - - - рециркуляция топлива; — топливный трубопровод: 1 -утилизационный котел; 2 - подогреватель топлива; 3 - топливный насос; 4 - топливные фильтры; 5 - отстойные танки; 6 - танк ввода присадок; 7 - установка для обработки питательной воды; 8- теплый ящик; 9- питательные насосы; 10- главный стопорный клапан; 11 - циркуляционный насос утилизационного котла.

Водотрубный котел марки КВВА 12/15, KBI-1, КВ2

Современные танкеры с мощными главными дизелями имеют большое пароэнергетическое оборудование, что вызывает большую потребность в паре. Производство пара осуществляется во вспомогательных котельных установках, преимущественно водотрубными котлами паропроизводительностью 30-50 т/ч и более при рабочем давление пара 1,5-3,5 МПа.

В практике эксплуатации танкеров наличие пара вырабатываемым вспомогательным котлом используется для работы турбин грузовых насосов, турбогенераторов, подогрева груза, мойки танков, хозяйственно-бытовых нужд и, кроме того, котельное оборудование должно выполнять и дополнительное назначение - решать проблему защиты окружающей среды, т. е. сжигать в топках отходы горюче-смазочных материалов, генерировать инертные газы.

На рис. 9.42 показан поперечный разрез котла КВВА 12/15 с естественной циркуляцией. Котел водотрубный вспомогательный, автоматизированный, имеет паропроизводительность 12000 кг/ч и рабочее давление пара 1,5 МПа. Компоновка котла двухбарабанная с близкой к цилиндрической форме топочной камерой. Трубы экрана 5 и конвективного пучка 11 являются подъемными, вода из пароводяного барабана 3 в водяной барабан 10 подводится по опускным трубам 6.

Вспомогательный водотрубный котел марки КВВА 12/15 танкера с дизельной установкой

Рис. 9.42. Вспомогательный водотрубный котел марки КВВА 12/15 танкера с дизельной установкой: 1 - сажеобдувочные устройства; 2 - успокоительный дырчатый лист; 3 - пароводяной барабан; 4 - питательная труба; 5 - трубы экрана; 6 - опускные трубы; 7 - смотровые лючки; 8 - дежурная (растопочная) форсунка; 9 - паромеханические форсунки; 10 - водяной барабан; 11 - конвективный пучок водогрейных труб.

Питательная вода поступает по трубе 4, над которой расположен успокоительный дырчатый щит 2. Топочное устройство состоит из двух паромеханических форсунок 9 и растопочной форсунки 8. Для наблюдения за процессом горения топлива имеются смотровые лючки 7. Для мытья и обдувки поверхности нагрева установлены сажеобдувочные устройства 1.

На рис. 9.43 представлен вспомогательный водотрубный котел KBI-1, его поперечный разрез. Отличием котла KBI-1 от котла КВВА 12/15 является наличие пароперегревателя, трубы 5 которого имеют размеры 29x3 мм, те же что и у основного конвективного пучка 4 и экрана 8. Два коллектора 6 и 11 пароперегревателя соединены вертикально расположенными трубами 5, изогнутыми таким образом, что конвективная поверхность нагрева котла образует два почти эквидистантных пучка 4 и 5. Для обеспечения скорости пара в трубах 5 около 15 м/с в коллекторах 6 и 11 предусмотрены по четыре поперечные перегородки.

Вспомогательный водотрубный котел марки KBI-1

Рис. 9.43. Вспомогательный водотрубный котел марки KBI-1: 1 - воздухоподогреватель; 2 - сажеобдувочные устройства; 3 - крепежные гребенки; 4 - пучок водогрейных труб; 5 - пароперегреватель; 6 и 11 - коллекторы пароперегревателя; 7 - водяной барабан; 8 - трубы топочного экрана; 9 - опускные трубы; 10 - пароводяной барабан; 12 - сообщающая труба пароводяного барабана 10 с верхним коллектором 11 пароперегревателя.

Вспомогательный водотрубный котел марки KBI-1

Рис. 9.44. Вспомогательный водотрубный котел марки КВ2: 1 - воздухоподогреватель; 2 - пароперегреватель; 3 - крепежная гребенка; 4 - пучок водогрейных труб; 5 - водяной барабан; 6 - водоподогреватель; 7 - топочное устройство; 8 - экранные трубки; 9 - опускные трубки; 10 - пароводяной барабан; 11 - сажеобдувочные устройства.

Насыщенный пар по трубе 12 из барабана 10 поступает в верхний коллектор 11 из которого также отводится и перегретый пар (после восьми ходов в пределах пучка труб 4). Боковой экран имеет обычную компоновку в виде сплошной стенки подъемных труб 8, закрывающих два необогреваемых ряда опускных труб 9, по которым вода подводится в барабан 7 из барабана 10. В котле установлена гребенка 3, исключающая вибрацию пучков 4 и 5.

Воздухоподогреватель 1 выполнен из вертикальных труб 38x1,6 мм в виде двухсекционной компоновки с тремя ходами по газовой стороне в каждой секции. Сажеобдувочные устройства 2 автоматизированы с дистанционным управлением. Отопление котла производится двумя паромеханическими форсунками.

Паропроизводительность котла составляет 30000 кг/ч, рабочее давление пара 2.65 МПа, температура перегретого пара 320°С.

На рис. 9.44 показана схема поперечного разреза котла КВ2, который является одной из модификаций водотрубных котлов КВ. Особенность котла КВ2 - в нем применен двухколлекторный пароперегреватель, поверхность нагрева которого выполнена из одного ряда петель 2, размещенных между основным конвективным пучком 4 и воздухоподогревателем 1. Остальные позиции на рис. 9.44 имеют то же значение, что и на рис. 9.43, а именно: гребенка 3 предотвращает вибрацию труб пучка 4, в водяном барабане размещен водоподогреватель 6. Топочное устройство 7 включает две паромеханические форсунки. Экранные трубы 8 полностью закрывают два ряда опускных труб 9. Насыщенный пар из пароводяного барабана 10 отводится в верхний коллектор пароперегревателя 2. Сажеобдувочные устройства 11 с дистанционным автоматическим управлением.

Котел КВ2 имеет паропроизводительность 25000 кг/ч, рабочее давление пара 1.75 МПа, температура перегретого пара 225°С.

Водотрубные котлы фирмы «Фостер Уилер» и «Бабкок и Вилькокс»

Вспомогательный водотрубный котел с низкими параметрами пара фирмы «Фостер Уилер» представлен на рис. 9.45.

Котел «Фостер Уилер» типа Д - типичный Д-образный котел. Двухслойный кожух упрощенной конструкции выполнен из плоских листов с приваренными к ним ребрами жесткости. Межобшивочное пространство 11 используется для подогрева и подачи воздуха к форсункам. Для доступа к топке, парообразующим трубам и пространству за ним предусмотрены лазы 6. Боковая стенка топки и потолок экранированы.

Два барабана котла, верхний пароводяной 1 и нижний водяной 7 соединены между собой трубным пучком, состоящим из труб экрана и множества кипятильных труб меньшего диаметра. В экранированные трубы топки вода поступает из нижнего коллектора 9, питаемого из нижнего водяного барабана 7 котла по специальным трубам 8 расположенным под подом топки.

Вспомогательный водотрубный котел типа «Фостер Уиллер»

Рис. 9.45. Вспомогательный водотрубный котел типа «Фостер Уиллер»: 1 - пароводяной барабан; 2 - конвективный пучок водогрейных труб; 3 - сажеобдувочные аппараты; 4 - изоляция каркаса огнеупорным материалом; 5 - место пароперегревателя; 6 - люк для осмотра; 7 - водяной барабан; 8 - труба питающая коллектор экрана; 9- коллектор экрана; 10- трубки экрана; 11 - воздушное межобшивочное пространство.

С целью обеспечения надежной циркуляции при всех нагрузках паровой и водяной барабаны соединены опускными трубами. При необходимости котел может иметь пароперегреватель.

Паропроизводительность данного котла от 4500 кг/ч до 32600 кг/ч с рабочим давлением пара 1,7 МПа.

Котел фирмы «Бабкок и Вилькокс», представленный в общем виде на рис. 9.46, прост и надежен в эксплуатации. Топка котла, за исключением пода и стенки переднего фронта образована трубами 8 и 9 экрана, являющимся составной частью основной циркуляционной системы. Задняя стенка топки - водоохлаждаемая, образована из прямых труб параллельных трубам основного пучка и развальцованных в верхнем и нижнем барабане. Передний фронт футерован слоем огнеупора и покрытого слоем изоляции.

Для надежной циркуляции воды предусмотрены опускные трубы большого диаметра 4 и вынесенные за корпус котла.

Кожух котла выполнен двухслойным сварным это позволяет уменьшить потери тепла с излучением.

Вспомогательный водотрубный котел типа «Бабкок и Вилькокс» М11М

Рис. 9.46. Вспомогательный водотрубный котел типа «Бабкок и Вилькокс» М11М: 1 - пароводяной барабан; 2 - экономайзер; 3 - конвективный пучок водогрейных труб; 4 - опускные трубы; 5 - водяной барабан; 6 - форсуночное устройство; 7 - межобшивочное воздушное пространство; 8 - трубки экрана; 9 - экранные водогрейные трубки.

Секционные и углотрубные котлы

Секционные паровые котлы принадлежат к горизонтальным водотрубным котлам и являются единственными представителями этого типа котлов на морских судах.

Конструкция водотрубного секционного котла фирмы «Бабкок и Вилькокс» представлена на рис. 9.47.

К нижней части пароводяного барабана 7 с помощью патрубков 8 присоединен ряд камер 1 и 9. Передние 9 и задние 1 камеры соединяются между собой испарительными трубами 6.

Передняя и задняя камеры вместе с соединяющими их испарительными трубами образуют секцию, откуда и произошло название котла - секционный.

Вода, поступающая из барабана 7 в камеры 9, поступает в испарительные трубы 6, где частично превращается в пар. Пароводяная смесь отводится по камерам и пароотводящим трубам 4 в барабан 7. Для облегчения выхода пароводяной смеси водогрейные трубы устанавливают под углом не менее 15° к горизонту.

Секционный котел «Бабкок и Вилькокс»

Рис. 9.47. Секционный котел «Бабкок и Вилькокс»: 1 -задняя секционная камера; 2 - пароперегреватель; 3 - сажеобдувочное устройство; 4 - пароотводящая труба; 5 - перегородка для направления движения газов; 6 - испарительные трубы; 7 - пароводяной барабан; 8 - патрубок, соединяющий пароводяной барабан с секционными камерами; 9 - передняя секционная камера; 10 - топка; 11 - форсуночное устройство с форсункой.

Продукты горения из топки 10 направляются в газоходы котла по пути, указанному стрелками, и дважды меняют свое направление из-за перегородок 5 поставленных внутри газоходов.

Рассматриваемый котел имеет пароперегреватель 2, установленный между первым и вторым газоходами.

Для обдувки труб от загрязнений установлены сажеобдувочные устройства 3.

Паропроизводительность котла составляет 8500 кг/ч при давлением рабочего пара в котле 1,6 МПа.

В последние годы XX столетия в немецком судостроении стали применяться так называемые углотрубные паровые котлы, которые показаны на рис. 9.48.

Этот тип паровых котлов подобен секционным котлам «Бабкок и Вилькокс».

Результаты эксплуатации на морских судах положительные. Параметры углотрубного котла подобны параметрам секционного котла.

Углотрубный паровой котел

Рис. 9.48. Углотрубный паровой котел: 1 - форсунка топки; 2 - фланец продувания коллектора; 3 - коллектор; 4 - подъемные водогрейные трубки; 5 - подъемные водогрейные трубки; 6- пароводяной барабан; 7 - пароотводящая труба; 8- крепление верхнего коллектора; 9 - верхний коллектор; 10 - изоляция корпусу котла; 11 - фланец клапана продувания коллектора; 12- нижний коллектор- 13 - опускная труба; 14 - подъемные экранные трубки; 15 - под топки из огнеупорных кирпичей; 16 - воздушное дутье; 17 - растопочная форсунка.

MirMarine
MirMarine – образовательный морской сайт для моряков.
На нашем сайте вы найдете статьи по судостроению, судоремонту и истории мирового морского флота. Характеристики судовых двигателей, особенности устройства вспомогательных механизмов и систем.